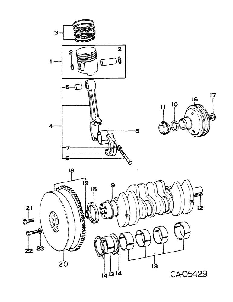
Запчасти Case IH 284 (12-08) - POWER, GASOLINE ENGINE, MAZDA, CRANKSHAFT, FLYWHEEL AND PISTONS Power

Схема запчастей Case IH 284 - (12-08) - POWER, GASOLINE ENGINE, MAZDA, CRANKSHAFT, FLYWHEEL AND PISTONS Power
7
6
13
5
14
20
16
23
17
15
18
9
2
14
8
1
3
22
4
2
13
21
11
10
12
19
FIT
1:1
100%

Артикул

Название

Примечание

Количество

1

1014203C1

PISTON

SET

4шт.

2

1014054C1

RETAINER

CLIP

8шт.

3

1014202C91

PISTON RING SET

RING SET, piston

1шт.

4

1014213C1

ROD

ASSY, connecting

4шт.

5

1014105C1

BUSHING

connecting rod

4шт.

6

1014055C1

BOLT (SPREADER)

BOLT, cap

8шт.

7

1014106C1

THRUST WASHER

lock

8шт.

8

1014156C11

BEARING SET

connecting rod (std)

1шт.

8

1014157C11

KIT

BEARING SET, connecting rod (0.25mm US)

1шт.

8

1014158C11

KIT

BEARING SET, connecting rod (0.50mm US)

1шт.

8

1014159C11

KIT

BEARING SET, connecting rod (0.75mm US)

1шт.

9

1014254C1

CRANKSHAFT

engine serial no. S-29396 and below

1шт.

When crankshaft, 1004590C1 is used for service replace ment of crankshaft, 1014254C1, also order 6 bolts, 1014056C1

1шт.

9

1004590C1

CRANKSHAFT

engine serial no. S-29397 and above

1шт.

When crankshaft, 1004590C1 is used for service replace ment of crankshaft, 1014254C1, also order 6 bolts, 1014056C1

1шт.

10

1014107C1

PLATE

baffle

1шт.

11

1014108C1

WHEEL (STEERING)

WHEEL, sprocket

1шт.

12

1014109C1

KEY

sprocket wheel

1шт.

13

1014198C91

BUSHING

BEARING SET, crankshaft, standard, consists of five bearing assy

1шт.

13

1014199C91

BEARING ASSY

BEARING SET, crankshaft, 0.25mm U/S, consists of five bearing assy

1шт.

13

1014200C91

KIT

BEARING SET, crankshaft, 0.50mm U/S, consists of five bearing assy

1шт.

13

1014201C91

KIT

BEARING SET, crankshaft, 0.75mm U/S, consists of five bearing assy

1шт.

14

1014160C1

SET OF WASHERS

SET, thrust (std)

1шт.

14

1014161C1

SET OF WASHERS

SET, thrust (0.25mm US)

1шт.

14

1014162C1

SET OF WASHERS

SET, thrust (0.50mm US)

1шт.

14

1014163C1

WASHER SET, thrust (0.75mm US)

1шт.

15

1014215C1

SEAL

OIL SEAL, camshaft

1шт.

16

1014298C1

PULLEY

crankshaft

1шт.

17

1438396R1

BOLT

lock, pulley

1шт.

18

1014272C91

FLYWHEEL

W/BRG & GEAR ASSY

1шт.

19

1014402C1

BEARING

ball

1шт.

20

1014110C1

GEAR

ring

1шт.

21

1014056C1

LOCK BOLT

BOLT, lock (5 used w/crankshaft, 1014254C1) (6 used w/crankshaft, 1004590C1)

1шт.

22

1014111C1

BOLT, lock (used only w/crankshaft, 1014254C1)

1шт.

23

1014204C1

WASHER

plain

6шт.

Выбрано товаров: 35