Запчасти Case IH 284 (12-24) - POWER, GASOLINE ENGINE, MAZDA, CARBURETOR Power

Схема запчастей Case IH 284 - (12-24) - POWER, GASOLINE ENGINE, MAZDA, CARBURETOR Power
25
23
1
5
28
17
22
9
22
27
14
28
25
6
13
30
18
26
21
21
7
24
25
3
15
22
20
25
30
25
11
10
16
2
25
12
19
25
25
25
4
8
29
29
FIT
1:1
100%

Артикул

Название

Примечание

Количество

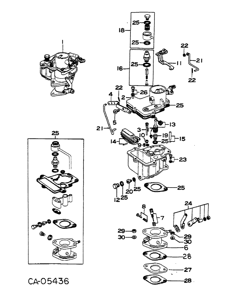
1

1014305C92

CARBURETOR

ASSY, composed of reference numbers 2 - 27

1шт.

2

HORN, air (NSS)

1шт.

3

1014236C1

JET

main air bleed

1шт.

4

1014231C1

ARM

pump

1шт.

5

1014233C1

SCREW

pump arm set

1шт.

6

1014323C1

ADAPTER

FLANGE

1шт.

7

1014237C1

SCREW

ADJUST SET, idle

1шт.

8

1014238C1

SCREW

ADJUST SET, throttle

1шт.

9

1014211C11

JET

slow

1шт.

10

1014212C1

VALVE

check

1шт.

11

1014324C1

HOLDER, choke wire

1шт.

12

1014224C1

PLUG

main passage

1шт.

13

1014325C1

VALVE

PLUNGER SET, pump

1шт.

14

1014239C1

FLOAT

SET

1шт.

15

1014326C1

WEIGHT

SET, accelerator

1шт.

16

1014327C1

SEAL ASSY.

SEAL, float valve CPT.

1шт.

17

1014232C1

JET

slow air bleed

1шт.

18

1014328C1

FILTER

STRAINER SET

1шт.

19

1014329C1

JET

POWER JET

1шт.

Refer #19 (P/N 1014329C1) is not 'power jet', it is a plug.

1шт.

20

1014250C1

JET

main

1шт.

21

1014330C1

ROD

SET

1шт.

22

CLIP SET, discontinued for service

1шт.

23

1014240C1

SCREW

2шт.

24

1014332C1

LEVER

SET

1шт.

25

1014333C1

GASKET

SET

1шт.

26

1014245C1

SCREW

1шт.

27

1014229C1

INSULATOR

carburetor

1шт.

28

1014230C1

GASKET

carburetor

2шт.

29

1014437C1

LOCK NUT

carburetor

2шт.

30

1014444C1

WASHER

toothed

2шт.

Выбрано товаров: 31