Запчасти Case IH 284 (12-55) - POWER, DIESEL ENGINE, NISSAN, OIL PUMP Power

Схема запчастей Case IH 284 - (12-55) - POWER, DIESEL ENGINE, NISSAN, OIL PUMP Power
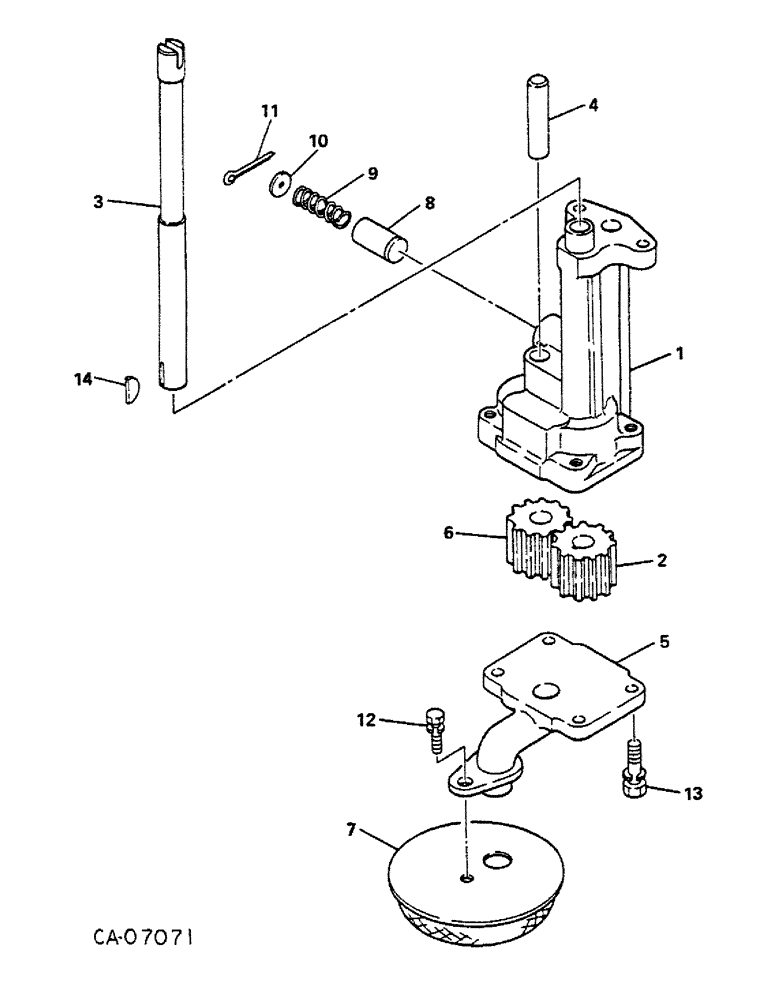
12
9
6
4
7
1
11
10
3
8
14
2
13
5
FIT
1:1
100%

Артикул

Название

Примечание

Количество

1058078C91

PUMP

ASSY, oil

1шт.

1

BODY, oil pump (NSS)

1шт.

2

478549C1

GEAR

drive

1шт.

3

SHAFT, drive (NSS)

1шт.

4

486819C1

SHAFT

driven

1шт.

5

COVER, oil pump (NSS)

1шт.

6

478551C1

GEAR

driven

1шт.

7

1058081C1

STRAINER ASSY.

STRAINER ASSY

1шт.

8

478553C1

VALVE

regulator

1шт.

9

478554C1

SPRING

regulator

1шт.

10

1058085C1

PLATE

regulator

1шт.

11

PIN, cotter, purchase locally

1шт.

12

1058374C1

BOLT

WITH WASHER, M6 x 16mm

1шт.

13

1058376C1

BOLT

WITH WASHER, M8 x 20mm

4шт.

14

1058344C1

KEY

woodruff

1шт.

Выбрано товаров: 15