Запчасти Case IH 284 (12-57) - POWER, DIESEL ENGINE, NISSAN, UNDERSLUNG EXHAUST Power

Схема запчастей Case IH 284 - (12-57) - POWER, DIESEL ENGINE, NISSAN, UNDERSLUNG EXHAUST Power
11
4
18
10
8
21
25
8
18
27
8
19
23
26
24
7
5
22
9
5
23
7
4
28
6
29
16
2
12
30
31
15
1
3
13
7
14
FIT
1:1
100%

Артикул

Название

Примечание

Количество

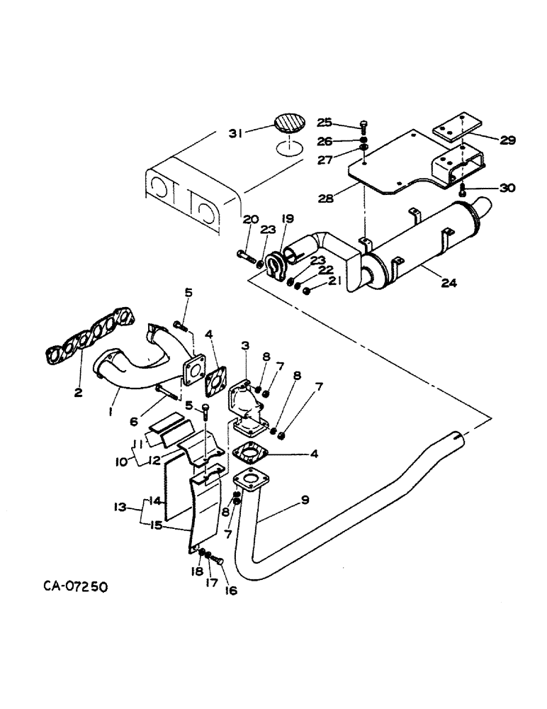
PARTS ACCESSORY, underslung exhaust, 1430438R91, order component parts

1шт.

1

1430428R1

TUBE ASSY.

MANIFOLD, exhaust

1шт.

2

1058073C1

GASKET

1шт.

3

1061445C1

ELBOW

1шт.

4

1061441C1

GASKET

1шт.

5

1060479C1

BOLT

M8 x 35

6шт.

6

1057859C1

BOLT

M8 x 85

2шт.

7

43362

NUT,M8 x 1.25, Cl 10

M8, Cl 10

8шт.

8

897948C1

WASHER

M8 lock

8шт.

9

1059042C1

PIPE

1шт.

10

1432047R91

SHIELD

ASSY, heat protector

1шт.

11

1430431R1

PLATE

2шт.

12

SHIELD, protector (NSS)

1шт.

13

1432048R91

SHIELD

ASSY, heat protector

1шт.

14

1430432R1

PLATE

1шт.

15

SHIELD, protector (NSS)

1шт.

16

978098C1

BOLT,Hex, M8 x 1.25 x 20mm

M8 x 20

1шт.

17

989463C1

WASHER

flat

1шт.

18

897948C1

WASHER

M8 lock

1шт.

19

1062665C1

CLAMP

muffler, replaces 1059033C1

1шт.

1432875R1

SLEEVE

on orders for 1059033C1 furnish new clamp & sleeve

1шт.

20

1064556C1

BOLT

M10 x 70

1шт.

21

1004154C1

NUT

M10

1шт.

22

980493C1

WASHER

M10 lock

1шт.

23

25544R1

WASHER,13/32" x 13/16" x .134", HDN

flat

2шт.

24

1059039C1

MUFFLER

exhaust

1шт.

25

980490C1

BOLT

M8 x 25

4шт.

26

897948C1

WASHER

M8 lock

4шт.

27

989463C1

WASHER

4шт.

28

1059040C1

BRACKET

1шт.

29

1059032C1

PLATE

1шт.

30

1014924C1

BOLT

M12 x 40

3шт.

31

1430170R1

COVER

hood

1шт.

Выбрано товаров: 33