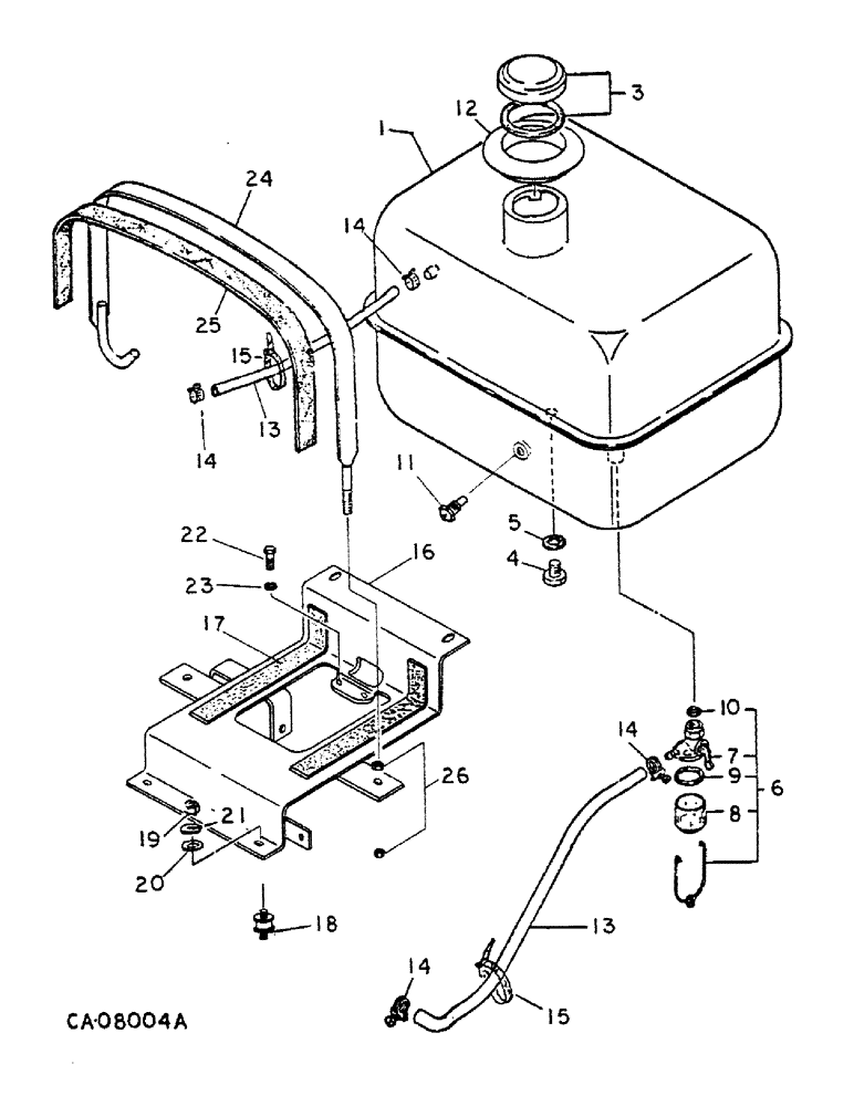
Запчасти Case IH 284 (12-72) - POWER, DIESEL ENGINE, NISSAN, FUEL TANK AND PIPING Power

Схема запчастей Case IH 284 - (12-72) - POWER, DIESEL ENGINE, NISSAN, FUEL TANK AND PIPING Power
6
17
7
23
14
24
4
8
10
16
9
22
14
11
12
14
19
15
20
3
14
13
5
25
21
15
18
1
26
13
FIT
1:1
100%

Артикул

Название

Примечание

Количество

1

1061759C3

FUEL TANK

TANK, fuel

1шт.

2

NOT USED

1шт.

3

1058546C92

CAP

fuel

1шт.

974041C3

GASKET

cap

1шт.

4

1059031C1

PLUG

fuel tank

1шт.

5

1061331C1

RING

O-RING, plug

1шт.

6

1014753C91

FILTER ASSY

COCK ASSY

1шт.

7

COCK, order 1014753C91 (NSS)

1шт.

8

1014757C1

BOWL

CAP

1шт.

9

1014756C1

GASKET

1шт.

10

1014755C1

GASKET

1шт.

11

974575C1

FUEL GAUGE

FUEL LEVEL UNIT

1шт.

12

106953C1

SEAL

SEAL, filler neck

1шт.

13

1062072C1

PIPE

fuel

1шт.

14

CLIP, purchase locally

4шт.

15

976196C1

STRIP

STRAP

1шт.

16

1061975C4

BRACKET

fuel tank

1шт.

16

1057953C3

BRACKET

fuel tank, tractors w/all wheel drive

1шт.

1006959C1

BOLT

M10

1шт.

989464C1

WASHER

M10 x M22 x M3.2

1шт.

1057975C1

SPACER

1шт.

980498C1

BOLT (SPREADER)

BOLT, M10 x 30

1шт.

989464C1

WASHER

M10 x M22 x M3.2

1шт.

17

1062039C2

CUSHION

2шт.

18

983858C1

INSULATOR

CUSHION

2шт.

19

43362

NUT,M8 x 1.25, Cl 10

M8, Cl 10

2шт.

20

897948C1

WASHER

M8 lock

2шт.

21

27326R1

WASHER,.344" x 11/16" x .089", HDN

.344 x .688 x .089 PHC hdn

2шт.

22

980496C1

BOLT,M8

BOLT, M8 x 16mm

2шт.

23

897948C1

WASHER

M8 lock

2шт.

24

1061898C2

FIXING STRIP

BAND

1шт.

25

1004926C1

FILLING STRIP

CUSHION

1шт.

26

43362

NUT,M8 x 1.25, Cl 10

M8, Cl 10

2шт.

Выбрано товаров: 33