Запчасти Case IH 284 (05-08) - STEERING, STEERING WHEEL AND GEAR BOX, DIESEL ENGINE TRACTORS WITH ALL WHEEL DRIVE (04) - STEERING

Схема запчастей Case IH 284 - (05-08) - STEERING, STEERING WHEEL AND GEAR BOX, DIESEL ENGINE TRACTORS WITH ALL WHEEL DRIVE (04) - STEERING
4
16
2
19
21
3
12
15
14
23
31
20
18
28
6
22
26
25
32
13
24
27
8
7
5
3
30
11
10
9
29
1
17
FIT
1:1
100%

Артикул

Название

Примечание

Количество

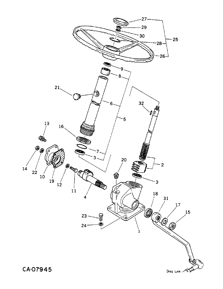
1057842C93

GEAR BOX ASSY, steering

1шт.

gear box assy listed at top of this figure 1057842C93--if dlr needs different bolt hole than shown in this picture, ref. figure 5-12; there is another part for the diesel engine tractors--1059532C93 (ref. 1). for power steering. this figure is for manual steering.

1шт.

1

1431711R1

GEARBOX ASSY

BOX, gear

1шт.

2

1431712R1

NUT

BALL NUT ASSY

1шт.

3

973546C1

THRUST BEARING,41 mm OD x 12 mm

ball

2шт.

4

1431714R1

SHAFT

sector

1шт.

5

COVER ASSY, rear column, order component parts

1шт.

6

1431716R1

POST

COLUMN ASSY

1шт.

7

1432166R1

O-RING,58.5mm ID x 2mm Width

O-RING, column

1шт.

8

973554C1

BUSHING

column

1шт.

9

1064663C1

SEAL

oil

1шт.

10

1431718R1

COVER

ASSY, side

1шт.

11

973548C1

ADJUSTMENT SCREW,M10 x 40mm

SCREW, adjusting

1шт.

12

973549C1

SHIM

adjusting screw

1шт.

13

1432169R91

BOLT

W/WASHER, cover

4шт.

14

1004154C1

NUT

M10 adjusting screw

1шт.

15

1014949C1

NUT

M12 sector shaft

1шт.

16

1432170R1

NUT

lock

1шт.

17

WASHER, M22 lock, purchase locally

1шт.

18

1431720R1

OIL SEAL

oil

1шт.

19

1431721R1

PACKING

side cover

1шт.

20

979826C1

PLUG

gear box

1шт.

21

1431722R1

PLUG

breather

1шт.

22

1431723R1

WASHER

seal

1шт.

23

1011531C1

BOLT

M12 x 35 class 8.8

2шт.

23

1012983C1

BOLT

M12 x 45 class 8.8

2шт.

24

1012729C1

WASHER

M12 x M26 x M3.2

4шт.

25

973537C1

WHEEL

ASSY, steering

1шт.

26

WHEEL, order 973537C1 (NSS)

1шт.

27

973140C1

CYLINDER END CAP

CAP, steering wheel

1шт.

28

973362C1

RING

cap

1шт.

29

1013757C1

NUT

M12 steering wheel

1шт.

30

988891C1

WASHER

M12 lock

1шт.

31

1057877C2

ARM

pitman

1шт.

32

1430745R1

KEY

shaft

1шт.

Выбрано товаров: 35