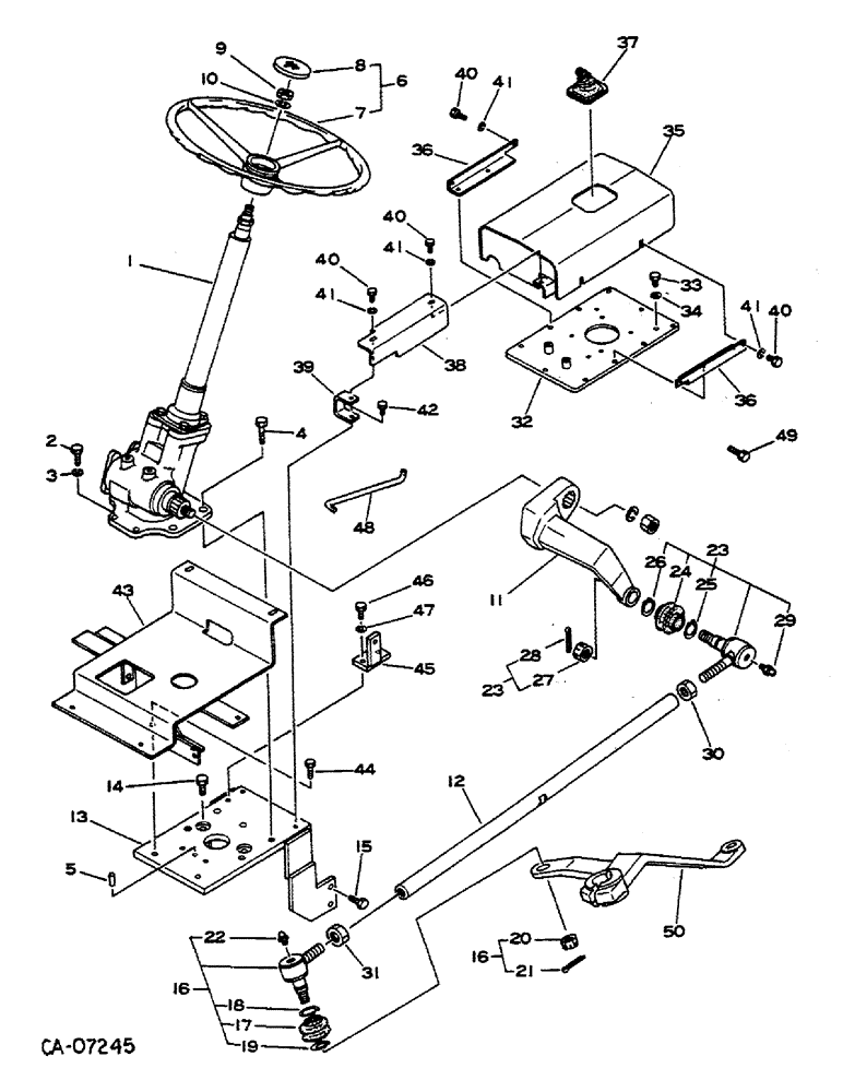
Запчасти Case IH 284 (05-10) - STEERING, POWER STEERING GEAR BOX, LINKAGE AND CONNECTIONS (04) - STEERING

Схема запчастей Case IH 284 - (05-10) - STEERING, POWER STEERING GEAR BOX, LINKAGE AND CONNECTIONS (04) - STEERING
23
23
50
47
8
48
27
30
5
40
40
18
45
1
11
20
32
3
10
9
12
38
37
29
43
16
2
19
36
49
17
46
40
36
41
44
21
41
33
31
40
7
39
16
28
14
35
34
25
6
41
41
4
22
15
26
13
42
FIT
1:1
100%

Артикул

Название

Примечание

Количество

1

1059532C93

BOX

GEAR BOX ASSY, steering see detail list

1шт.

2

1104956C1

BOLT

M10 x 25

2шт.

3

978080C1

WASHER

M10 x M18 x M1.6

2шт.

4

1012959C1

BOLT

M12 x 25

4шт.

5

1062773C1

PIN

dowel

2шт.

6

1059772C1

WHEEL

steering

1шт.

7

WHEEL (NSS)

1шт.

8

1430393R1

CAP

1шт.

9

1430370R1

NUT

M12

1шт.

10

988891C1

WASHER

M12 lock

1шт.

11

1430461R1

ARM

pitman

1шт.

12

1430654R1

TUBE,27.2 mm OD, 720 mm Length

drag link

1шт.

13

1430143R1

BRACKET

steering gear

1шт.

14

1104956C1

BOLT

M10 x 25

2шт.

15

30021R1

BOLT,Hex, M10 x 1.5 x 30mm, Cl 10.9, Full Thd

PHC Hex, M10 x 30, 10.9, Full Thd

4шт.

16

1063471C2

END

ASSY

1шт.

Ref. 16 - R. H. Thread

1шт.

17

SEAL, dust (NSS)

1шт.

18

RING, snap (NSS)

1шт.

19

RING, snap (NSS)

1шт.

20

NUT (NSS)

1шт.

21

PIN, cotter (NSS)

1шт.

22

FITTING, (NSS)

1шт.

23

1063472C2

END ASSY.

END ASSY

1шт.

Ref. 23 - L. H. Thread THREAD M20 x 1.5 L.H.THREAD.

1шт.

24

SEAL, dust (NSS)

1шт.

25

RING, snap (NSS)

1шт.

26

RING, snap (NSS)

1шт.

27

NUT (NSS)

1шт.

28

PIN, cotter (NSS)

1шт.

29

FITTING (NSS)

1шт.

30

1064016C1

NUT

1шт.

31

1062982C1

NUT

1шт.

32

1059918C2

COVER

transmission

1шт.

33

1430017R1

PLUG

1шт.

34

979819C1

WASHER

GASKET

1шт.

35

1430459R1

COVER

transmission

1шт.

36

1430392R1

BRACKET

2шт.

37

1003201C1

BOOT

1шт.

38

1430457R2

COVER

front

1шт.

39

1430456R1

BRACKET

1шт.

40

1014739C1

FLANGE BOLT,Hex, M6 x 12mm

FLANGE, bolt

6шт.

41

1004596C1

WASHER

nylon

6шт.

42

1012976C1

BOLT

M8 x 12

1шт.

43

1430156R2

BRACKET

fuel tank gasoline engine tractors

1шт.

43

1059934C2

BRACKET

fuel tank diesel engine tractors

1шт.

44

1006959C1

BOLT

M10 x 40

2шт.

45

1059952C2

BRACKET

hand throttle

1шт.

46

978098C1

BOLT,Hex, M8 x 1.25 x 20mm

M8 x 20

2шт.

47

989463C1

WASHER

lock

2шт.

48

1430800R1

ROD, gasoline engine tractors

1шт.

48

1059937C2

ROD

diesel engine tractors

1шт.

49

1438464R1

BOLT (SPREADER)

BOLT, M8 x 20

2шт.

50

1430011R2

ARM

knuckle (LH)

1шт.

Выбрано товаров: 54