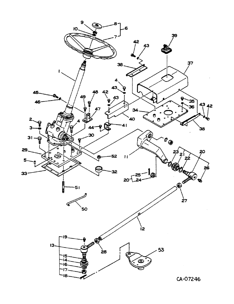
Запчасти Case IH 284 (05-12) - STEERING, POWER STEERING GEAR BOX, LINKAGE & CONNECTIONS, DIESEL ENGINE TRACTORS W/ ALL WHEEL DRIVE (04) - STEERING

Схема запчастей Case IH 284 - (05-12) - STEERING, POWER STEERING GEAR BOX, LINKAGE & CONNECTIONS, DIESEL ENGINE TRACTORS W/ ALL WHEEL DRIVE (04) - STEERING
52
15
6
19
20
34
25
7
45
31
44
51
42
18
43
46
49
42
47
3
10
32
33
53
16
21
27
8
2
43
24
13
22
9
30
17
14
39
43
26
23
43
12
42
38
1
36
38
11
37
48
29
4
4
28
20
40
5
41
50
35
FIT
1:1
100%

Артикул

Название

Примечание

Количество

1

1059532C93

BOX

GEAR BOX ASSY, steering see detail list

1шт.

Ref. 1 - 1059532C93. If dlr has a part with different base (bolt hole pattern) than shown in this picture, ref. figure 5-8 gear box assy listed at top of figure 1057842C93. for manual steering. this figure's part number is for power steering.

1шт.

2

1104956C1

BOLT

M10 x 25

2шт.

3

978080C1

WASHER

M10 x M18 x M1.6

2шт.

4

1012983C1

BOLT

M12 x 45

3шт.

5

1062773C1

PIN

dowel

1шт.

6

1059772C1

WHEEL

steering

1шт.

7

WHEEL, (NSS)

1шт.

8

1430393R1

CAP

1шт.

9

1430370R1

NUT

M12

1шт.

10

988891C1

WASHER

M12 lock

1шт.

11

1430461R1

ARM

pitman

1шт.

12

1063470C1

TUBE,860 mm Length

drag link

1шт.

13

1063471C2

END

ASSY

1шт.

Ref. 13 - R. H. Thread

1шт.

14

SEAL, dust (NSS)

1шт.

15

SNAP RING (NSS)

1шт.

16

SNAP RING (NSS)

1шт.

17

NUT (NSS)

1шт.

18

PIN, cotter (NSS)

1шт.

19

FITTING (NSS)

1шт.

20

1063472C2

END ASSY.

END ASSY

1шт.

Ref. 20 - L. H. Thread

1шт.

21

SEAL, dust (NSS)

1шт.

22

SNAP RING (NSS)

1шт.

23

SNAP RING (NSS)

1шт.

24

NUT (NSS)

1шт.

25

PIN, cotter (NSS)

1шт.

26

FITTING, (NSS)

1шт.

27

1064016C1

NUT

1шт.

28

1062982C1

NUT

1шт.

29

1430454R1

COVER

1шт.

30

980490C1

BOLT

M8 x 25

2шт.

31

1012981C1

BOLT

M12 x 30

2шт.

32

1062470C1

PLUG

1шт.

33

1430401R1

GASKET

1шт.

34

1059918C2

COVER

transmission

1шт.

35

1430017R1

PLUG

1шт.

36

979819C1

WASHER

GASKET

1шт.

37

1430459R1

COVER

transmission

1шт.

38

1430392R1

BRACKET

2шт.

39

1003201C1

BOOT

1шт.

40

1430457R2

COVER

front

1шт.

41

1430456R1

BRACKET

1шт.

42

1014739C1

FLANGE BOLT,Hex, M6 x 12mm

FLANGE, bolt

1шт.

43

1004596C1

WASHER

nylon

6шт.

44

1012976C1

BOLT

M8 x 12

1шт.

45

1014933C1

BOLT

M10 x 20

1шт.

46

980493C1

WASHER

M10

1шт.

47

1059952C2

BRACKET

hand throttle

1шт.

48

1060479C1

BOLT

M8 x 35

1шт.

49

978098C1

BOLT,Hex, M8 x 1.25 x 20mm

M8 x 20

1шт.

50

1059937C2

ROD

1шт.

51

1431981R1

STUD

1шт.

52

1013757C1

NUT

1шт.

53

1432157R2

ARM

knuckle

1шт.

Выбрано товаров: 56