Запчасти Case IH 2856 (F-05) - HYDRAULICS SYSTEM, POWER SUPPLY AND MULTIPLE CONTROL VALVE, ON CLUTCH HOUSING (07) - HYDRAULIC SYSTEM

Схема запчастей Case IH 2856 - (F-05) - HYDRAULICS SYSTEM, POWER SUPPLY AND MULTIPLE CONTROL VALVE, ON CLUTCH HOUSING (07) - HYDRAULIC SYSTEM
37
17
25
58
16
54
16
18
26
27
31
25
17
8
34
23
43
33
4
13
35
14
38
29
53
39
13
45
19
22
20
18
14
30
21
52
33
39
41
3
24
19
46
40
48
6
37
28
56
32
50
43
55
9
34
2
7
1
30
60
26
57
31
61
41
59
23
62
28
20
47
21
11
44
42
26
32
62
36
27
22
35
40
38
15
9
10
42
24
51
5
7
8
26
49
12
36
25
FIT
1:1
100%

Артикул

Название

Примечание

Количество

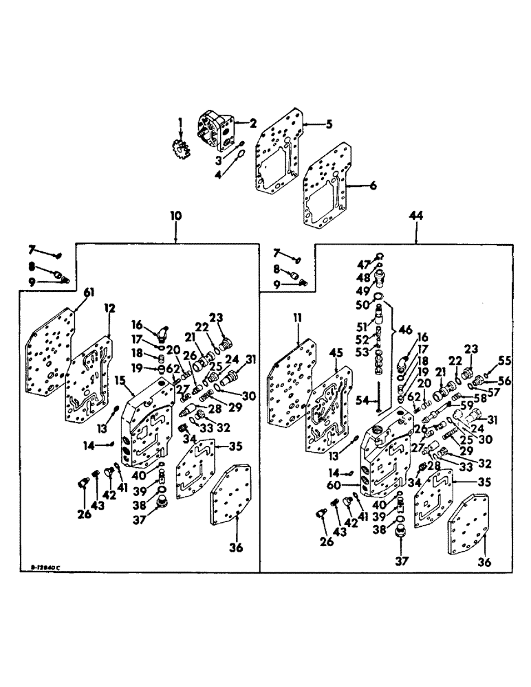
1

382332R1

GEAR WHEEL

GEAR, hydraulic pump drive, 19 teeth, Farmall tractors, Serial Range: -27286

1шт.

1

382332R1

GEAR WHEEL

GEAR, hydraulic pump drive, 19 teeth, International trators, Serial Range: -9492

1шт.

1

405181R1

GEAR

hydraulic pump drive, 19 teeth, Farmall tractors, Start Serial: 27287

1шт.

1

405181R1

GEAR

hydraulic pump drive, 19 teeth, International tractors, Start Serial: 9493

1шт.

19258R1

LOCK NUT,1/2"-20, GB

NUT, 1/2-20 znp nylon insert

1шт.

2

391353R92

PUMP

ASSY, hydraulic, 9 GMP, Thompson, for components see list of parts under details of hydraulic pump, optional with 527397R92

1шт.

2

1949304C1

REMAN-HYD PUMP

Reman for New PN 391353R92

1шт.

2

1949305C1

CORE-HYDRAULIC PUMP

Return Number

1шт.

2

527397R92

HYDRAULIC PUMP

PUMP ASSY, hydraulic, 9 GMP, cessna, for components see list of parts under details of hydraulic pump, optional with 391353R92

1шт.

1

1949304C1

REMAN-HYD PUMP

Reman for New PN 527397R92

1шт.

1

1949305C1

CORE-HYDRAULIC PUMP

Return Number

1шт.

23761R1

SCREW,Hex, 5/16"-18 x 2 5/8", G5

5/16-18 x 2-5/8 hex-hd cap

4шт.

382331R1

SEALING WASHER,8.33mm ID x 12.7mm OD x 0.79mm Thk

pump bolt sealing

4шт.

3

350667R1

O-RING,0.103" Thk x 0.674" ID, -115, Cl 5, 75 Duro

11/16 x 7/8 x 3/32, pump pressure port

1шт.

4

372821R1

O-RING,0.103" Thk x 1.049" ID, -121, Cl 5, 75 Duro

1-1/16 x 1/4 x 3/32, pump suction port

1шт.

5

382336R2

GASKET

multiple control valve plate, heavy

1шт.

6

382335R2

GASKET

multiple control valve plate, light

1шт.

7

350667R1

O-RING,0.103" Thk x 0.674" ID, -115, Cl 5, 75 Duro

11/16 x 7/8 x 3/32, power steering pressure port

1шт.

8

354057R2

VALVE

power steering return check

1шт.

9

382334R1

SPRING

power steering return check valve

1шт.

10

382292R94

VALVE ASSY, multiple control, std

1шт.

186623

BELT,Hex, 5/16" - 18 x 1 3/8", Gr 8

SCREW, 5/16-18 x 1-3/8 hex-hd cap

1шт.

445625

BOLT,Hex, 5/16" - 18 x 1 3/4", Gr 8

SCREW, 5/16-18 x 1-3/4 hex-hd cap

3шт.

454865

BOLT,Hex, 5/16" - 18 x 2 1/4", Gr 8

SCREW, 5/16-18 x 2-1/4 hex-hd cap

6шт.

454866

BOLT,Hex, 5/16" - 18 x 2 1/2", Gr 8

SCREW, 5/16-18 x 2-1/2 hex-hd cap

10шт.

103320

LOCK WASHER,5/16"

WASHER, LOCK, 5/16"

10шт.

11

382324R1

PLATE ASSY.

PLATE, multiple control valve, inner

1шт.

12

382322R2

GASKET

multiple control valve, inner

1шт.

13

369908R1

O-RING,0.103" Thk x 0.799" ID, -117, Cl 5, 75 Duro

13/16 x 1 x 3/32, pump pressure port

1шт.

14

252739R1

O-RING,0.103" Thk x 0.487" ID, -112, Cl 5, 75 Duro

1/2 x 11/16 x 3/32, power steering input port

1шт.

15

382294R21

BODY ASSY, multiple control valve

1шт.

16

9411104

ELBOW,45 Degree, 9/16"-18, 37 Degree x 9/16"-18, O-Ring

9/16-18 37 deg hyd flared tube 45 deg, brake pressure port

1шт.

17

364839R1

O-RING,0.078" Thk x 0.468" ID, -906, Cl 6, 90 Duro

6-1, 90 Duro, .468" ID x .078" Thk, brake pressure port elbow

1шт.

18

382305R1

SPRING

brake check valve

1шт.

19

382304R1

CHECK VALVE

VALVE, brake check

1шт.

20

382306R1

SPRING

pressure regulator valve outer

1шт.

21

382307R11

VALVE

ASSY, pressure regulator

1шт.

22

570828R1

O-RING,0.087" Thk x 0.644" ID, -908, Cl 6, 90 Duro

.644 x .818 x .087, pressure regulator valve plug

1шт.

23

536855R1

PLUG

3/4-16 C-Z str thd o-ring boss, pressure regulator valve

1шт.

24

384403R1

PLUG

lub regulator by-pass valve

1шт.

25

570828R1

O-RING,0.087" Thk x 0.644" ID, -908, Cl 6, 90 Duro

.644 x .818 x .087, lub regulator by-pass valve plug

1шт.

26

382301R1

LOCK VALVE

VALVE, by-pass

2шт.

103697

PIN,1/8" x 1 3/8"

1/8 x 1-3/8 chamfered str, by-pass valve retaining

2шт.

27

382312R1

SPRING

lubrication regulator

1шт.

28

VALVE, frow control, not serviced separately order body assy

1шт.

29

379211R1

SPRING

flow control valve

1шт.

30

364885R1

O-RING,0.097" Thk x 0.755" ID, -910, Cl 6, 90 Duro

3/4 x 15/16 x 3/32

1шт.

31

382297R1

PLUG

flow control valve

1шт.

32

9410357

PLUG

1/2-20 C-Z str thd o-ring boss, flow control orifice port

1шт.

34

382298R1

JET

ORIFICE, flow control

1шт.

35

382326R1

GASKET

multiple control valve, outer cover

1шт.

36

382325R1

COVER ASSY

COVER, multiple control, outer

1шт.

179814

SPACER

3шт.

37

536855R1

PLUG

3/4-16 C-Z str thd o-ring boss, safety valve

1шт.

38

570828R1

O-RING,0.087" Thk x 0.644" ID, -908, Cl 6, 90 Duro

.644 x .818 x .087, safety valve plug

1шт.

39

384444R92

VALVE

ASSY, safety, 1500 psi

1шт.

40

702788R1

O-RING,0.103" Thk x 0.362" ID, -110, Cl 6, 90 Duro

3/8 x 9/16 x 3/32, safety valve

1шт.

41

379366R1

O-RING,0.07" Thk x 0.301" ID, -11, Cl 6, 90 Duro

5/16 x 7/16 x 1/16, power steering in put port plug

1шт.

42

9410355

PLUG,Hex Hd, 3/8"-24 ORB

3/8-24 C-Z str thd o-ring boss, power steering input port

1шт.

43

382299R1

SPRING

cooler by-pass valve

1шт.

44

391945R93

VALVE

ASSY, mutiple control, tractors with torque amplifier

1шт.

413-524

BOLT,Hex, 5/16" - 18 x 1-1/2", Gr 5

SCREW, 5/16-18 x 1-3/8 hex-hd cap

1шт.

445625

BOLT,Hex, 5/16" - 18 x 1 3/4", Gr 8

SCREW, 5/16-18 x 1-3/4 hex-hd cap

3шт.

454865

BOLT,Hex, 5/16" - 18 x 2 1/4", Gr 8

SCREW, 5/16-18 x 2-1/4 hex-hd cap

4шт.

454866

BOLT,Hex, 5/16" - 18 x 2 1/2", Gr 8

SCREW, 5/16-18 x 2-1/2 hex-hd cap

10шт.

103320

LOCK WASHER,5/16"

WASHER, LOCK, 5/16"

8шт.

45

382323R1

GASKET

multiple control valve, inner

1шт.

46

382313R93

LOCK VALVE

VALVE ASSY, drive selector

1шт.

47

382627R1

SNAP RING,#59, Ext

Ring, Snap, , drive selector valve #59, Ext

1шт.

48

350429R1

O-RING,0.103" Thk x 0.612" ID, -114, Cl 5, 75 Duro

5/8 x 13/16 x 3/32 drive selector valve stem

1шт.

49

382321R2

SCREW,1 3/16" - 18 x 1.60"

drive selector valve retaining

1шт.

50

372821R1

O-RING,0.103" Thk x 1.049" ID, -121, Cl 5, 75 Duro

11/16 x 1-1/4 x 3/32, valve retaining screw

1шт.

51

382319R1

BODY

STEM, drive selector valve

1шт.

20347R1

PIN,5/64" x 3/4", Coiled

1шт.

52

390820R1

VALVE SPRING

SPRING, drive selector valve guide outer

1шт.

53

382317R1

SPRING

drive selector valve guide inner

1шт.

54

382315R2

GUIDE

drive selector valve

1шт.

55

529883R91

OIL SEAL

clutch dump valve plug oil

1шт.

56

387934R2

PLUG

clutch dump valve

1шт.

57

570828R1

O-RING,0.087" Thk x 0.644" ID, -908, Cl 6, 90 Duro

.644 x .087, clutch dump valve plug

1шт.

58

382310R1

SPRING

clutch dump valve

1шт.

59

391947R92

STRIPPER PACKAGE

PACKAGE, clutch dump valve service, consists of valve, 391942R2, bolt, 391946R1 & diagram

1шт.

59

391942R2

VALVE

clutch dump

1шт.

60

382295R11

BODY

ASSY, multiple control valve

1шт.

61

382324R1

PLATE ASSY.

PLATE, multiple control valve, inner

1шт.

62

390819R1

VALVE SPRING

SPRING, pressure regulator valve inner

1шт.

393877R91

SEAL KIT

PACKAGE, multiple control valve o-ring and gasket service, consists of ref nos. 3 thru 7, 12, 13, 14, 17, 22, 25, 30, 33, 35, 38, 40, 41, 45, 48, 50, 55 and 57

1шт.

33

369384R1

O-RING,0.072" Thk x 0.414" ID, -905, Cl 6, 90 Duro

5-1, 90 Duro, .414" ID x .072" Thk

1шт.

Выбрано товаров: 88