Запчасти Case IH 3220 (6-118) - POWER TAKE OFF SHIELD (06) - POWER TRAIN

Схема запчастей Case IH 3220 - (6-118) - POWER TAKE OFF SHIELD (06) - POWER TRAIN
8
5
8
4
6
5
8
3
1
9
2
7
FIT
1:1
100%

Артикул

Название

Примечание

Количество

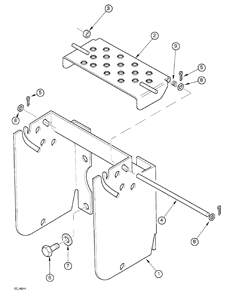
1

138141A2

GUARD

BRACKET ASSEMBLY power take off shield, Serial Range: -JJE0917097

1шт.

1

183275A2

GUARD

BRACKET ASSEMBLY power take off shield, Start Serial: JJE0917098

1шт.

2

138145A1

FOOT BOARD

COVER ASSEMBLY power take off, Serial Range: -JJE0917097

1шт.

2

183273A1

COVER

ASSEMBLY power take off, Start Serial: JJE0917098

1шт.

3

138458A1

SPACER

power take off shield

2шт.

4

138148A3

BAR

ROD cover pivot

1шт.

5

733-3220

COTTER PIN,M3.2 x 20

PIN, SPLIT (COTTER), M3.2 x 20

2шт.

6

413-1016

BOLT,Hex, 5/8" - 11 x 1", Gr 5

hex, 5/8 NC x 1 inch

4шт.

7

396-31066

WASHER,21/32" x 1 5/16" x .188", HDN

flat, 21/32 x 5/16 x 3/16

4шт.

8

895-11008

WASHER,9mm ID x 16mm OD x 1.6mm Thk

flat, 9 x 17 x 1.6 mm, Serial Range: -JJE0917097

2шт.

8

895-11008

WASHER,9mm ID x 16mm OD x 1.6mm Thk

flat, 9 x 17 x 1.6 mm, Start Serial: JJE0917098

3шт.

9

183751A1

SPRING

PTO shield detent, Start Serial: JJE0917098

1шт.

Выбрано товаров: 12