Запчасти Case IH 3230 (2-020) - COOLANT FILTER (02) - ENGINE

Схема запчастей Case IH 3230 - (2-020) - COOLANT FILTER (02) - ENGINE
8
4
20
13
3
24
16
5
11
15
7
6
18
2
22
23
19
9
10
5
17
10
21
1
14
12
11
FIT
1:1
100%

Артикул

Название

Примечание

Количество

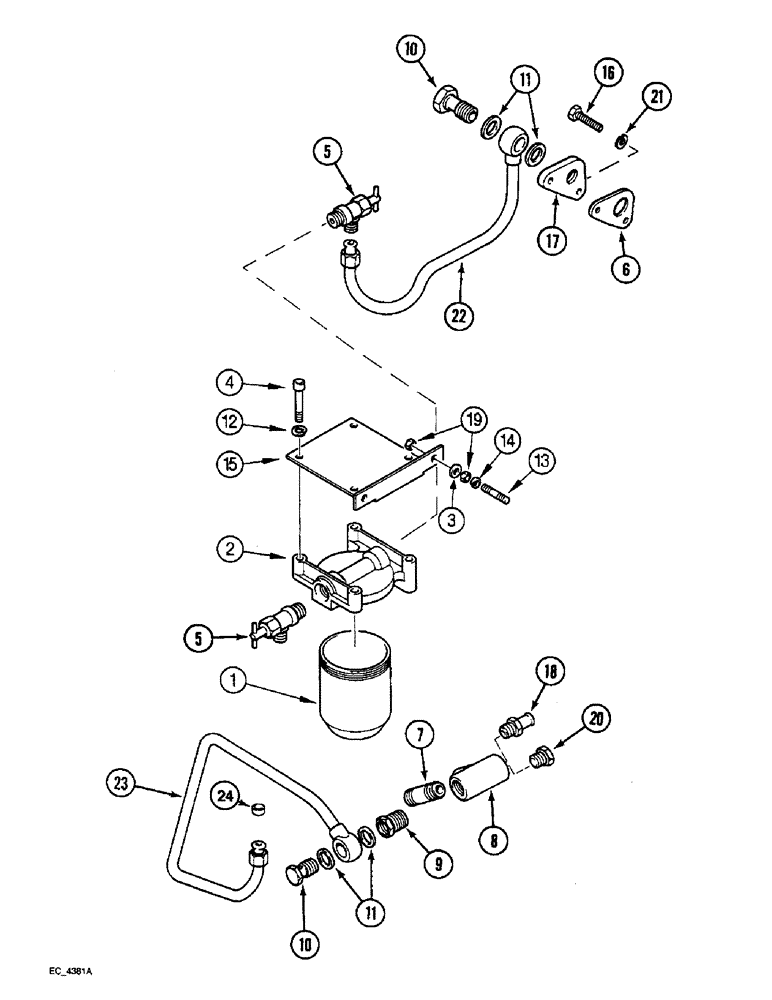
1

A77544

FILTER

water conditioning, precharge

1шт.

2

A152821

HEAD

water filter

1шт.

3

396-21041

WASHER,10.31mm ID x 20.63mm OD x 2.26mm Thk

flat, hardened, 13/32 x 13/16 x 3/32 inch

2шт.

4

413-620

BOLT,Hex, 3/8" - 16 x 1-1/4", Gr 5

hex, 3/8 NC x 1-1/4 inch

4шт.

5

121894C1

FAUCET,3/8" - 18 NPTF x 5/8" - 24

VALVE shut-off

2шт.

6

3055306R3

GASKET,1.5mm Thk

manifold, water collecting

1шт.

7

191032

PIPE,Nipple, 1/2" NPT x 1 1/2", Brass

ADAPTER pipe, 1/2 NPT x 1-1/2 inch

1шт.

8

144085

TEE,1/2" NPT, Fem

1/2 inch pipe

1шт.

9

217-44

REDUCER,1/2" - 14 NPT x 3/8" - 18 NPT

1шт.

10

930241R1

BANJO BOLT,M16 x 1.5 x 36mm

SCREW hollow, 16 mm

2шт.

11

933155R1

SEALING RING,M16 x 20 x 1.5

4шт.

12

492-11038

LOCK WASHER,3/8"

4шт.

13

3228188R1

STUD

exhaust manifold

2шт.

14

495-81129

WASHER,13/32" x 3/4" x .120"

flat, 13/32 x 3/4 x 7/64 inch

4шт.

15

3228211R1

SUPPORT

BRACKET coolant filter

1шт.

16

413-514

BOLT,Hex, 5/16" - 18 x 7/8", Gr 5

2шт.

17

3218396R2

FLANGE

COVER closing

1шт.

18

1502001C1

FITTING

heater hose, with cab

1шт.

19

425-116

NUT,3/8" - 24, Gr 5

hex, 3/8 inch NF

4шт.

20

217-411

PLUG,Hex Hd, 1/2" - 14 NPT

w/o Cab Hex Hd, 1/2"-14

1шт.

21

92-11031

LOCK WASHER,5/16"

WASHER, LOCK, 5/16"

2шт.

22

3228212R93

PIPE

coolant filter outlet

1шт.

23

1329009C91

PIPE

coolant filter inlet, Includes Ref. 24

1шт.

24

3228191R1

SEALING WASHER

SLEEVE coupling

1шт.

Выбрано товаров: 24