Запчасти Case IH 3230 (9-010) - HOOD (09) - CHASSIS/ATTACHMENTS

Схема запчастей Case IH 3230 - (9-010) - HOOD (09) - CHASSIS/ATTACHMENTS
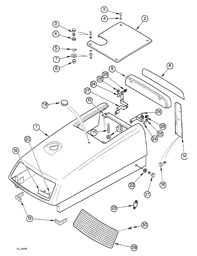
1
8
10
4
13
28
27
9
7
22
12
14
24
25
30
5
28
16
6
4
18
23
3
19
2
26
20
25
29
24
21
11
3
FIT
1:1
100%

Артикул

Название

Примечание

Количество

1

137457A1

HOOD ASSY.

HOOD, 3 cylinder, without cab

1шт.

1

137453A1

HOOD ASSY.

HOOD ASSEMBLY, 4 cylinder, without cab

1шт.

1

137461A1

HOOD ASSY.

HOOD ASSEMBLY, 4 cylinder, with cab

1шт.

2

138245A1

COVER

rear hood, 3 cylinder, without cab

1шт.

2

138244A1

COVER

rear hood, 4 cylinder, without cab

1шт.

2

138246A1

COVER

rear hood, 4 cylinder, with cab

1шт.

2

138243A1

COVER

rear hood, 3 cylinder, with underslung exhaust

1шт.

2

138242A1

COVER

rear hood, 4 cylinder, with underslung exhaust

1шт.

2

192041A1

COVER

rear hood, downswept exhaust, with cab

1шт.

3

139161A2

SCREW,Sl Knurled Hd, M8 x 1.25 x 35mm

BOLT special

4шт.

4

139657A1

WASHER

flat

4шт.

5

3221347R2

CIRCLIP

RING retaining

4шт.

6

140540A1

NUT

FASTENER rivet, M8, rivet nut 8 mm

2шт.

7

495-51047

WASHER,0.47" ID x 0.88" OD x 0.06" Thk

flat, 15/32 x 7/8 x 1/16 inch

2шт.

8

138006A2

DECAL

windshield

1шт.

9

143551A2

SEAL

hood rear, with cab

1шт.

10

140465A1

SUPPORT

access cover rear

1шт.

11

1537389C1

STUD

flange, 6 mm, class 8

1шт.

12

825-2406

FLANGE NUT,M6 x 1, Cl 8.8

1шт.

13

138208A1

ANGLE

BRACKET hood front support

2шт.

14

223215A1

SUPPORT

BRACKET hood side, right

1шт.

14

223214A1

SUPPORT

BRACKET hood side, left

1шт.

16

555-3

BOLT,Hvy Hex, M8 x 16mm, Cl 8.8

hex, 8 x 16 mm

4шт.

18

REF

INSTRUCTION

PLUG, not used, European application only

1шт.

19

220980A1

EMBLEM CASE/IH

MEDALLION case logo

1шт.

20

131-431

PUSH-ON NUT,Self, Threading, 1/4"

NUT push-on type, 1/4 inch

2шт.

21

139451A1

BOLT,Hex, 5/16" - 18 x 1 1/2", W/ Spcl Coating

BOLT hex, 5/16 x 1-1/2

2шт.

22

495-21038

WASHER,5/16"

(flat, 3/8 x 7/8 x 3/32") 5/16"

2шт.

23

3129866R2

SHOCK ABSORBER

BLOCK isolating, See figure 5-004

2шт.

24

1333189C2

RUBBER BLOCK

PAD insolating

2шт.

25

895-15008

WASHER,9mm ID x 20mm OD x 1.6mm Thk

flat, 9 x 21 x 1.6 mm

2шт.

26

195833A1

SUPPORT

BRACKET hood mounting left, 3230

1шт.

27

195469A1

SUPPORT

BRACKET hood mounting right, 3230

1шт.

28

3129868R1

NUT

caged, 5/16 inch

2шт.

29

137497A1

SIEVE

SCREEN

1шт.

30

139445A1

SCREW

5шт.

Выбрано товаров: 36