Запчасти Case IH 3230 (9-038) - CAB, DOORS, WINDOWS AND TRIM (09) - CHASSIS/ATTACHMENTS

Схема запчастей Case IH 3230 - (9-038) - CAB, DOORS, WINDOWS AND TRIM (09) - CHASSIS/ATTACHMENTS
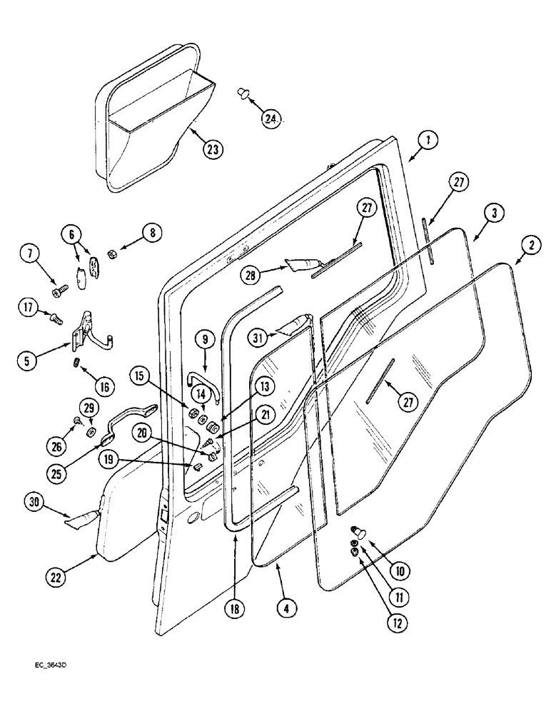
4
10
27
14
25
9
6
5
2
27
27
21
30
1
16
17
22
15
3
19
12
29
31
24
23
20
8
13
28
7
18
11
26
FIT
1:1
100%

Артикул

Название

Примечание

Количество

116702A2

CAB

complete with trim, with air conditioning

1шт.

116773A1

CAB

complete with trim, without air conditioning, Includes Ref. 1 - 29

1шт.

1

REF

INSTRUCTION

DOOR ASSEMBLY left, black and red, See figure 9-034

1шт.

1

REF

INSTRUCTION

DOOR ASSEMBLY right, black and red, See figure 9-034

1шт.

2

1975195C1

GLASS

door, fixed non-venting type

2шт.

3234126R1

GLASS

door, venting type, Includes Ref. 3 and 4

2шт.

3

3233051R1

GLASS

door

2шт.

4

3233053R1

GLASS

door

2шт.

3234145R91

HANDLE

STAY window

1шт.

3234146R91

HANDLE

STAY window, Includes Ref. 5 - 15

1шт.

5

NSS

NOT SOLD SEPARAT

HINGE window stay

1шт.

6

3233687R1

SHELL

HANDLE window stay

2шт.

7

565-104

HEX SOC SCREW,M6 x 20mm, Cl 8.8

SCREW, Hex Soc Hd, M6 x 20, 8.8

1шт.

8

825-1406

NUT,M6, Cl 8

1шт.

9

NSS

NOT SOLD SEPARAT

ROD window stay

1шт.

10

3233678R1

SCREW

BOLT special

1шт.

11

3232883R1

WASHER

WASHER plain, 8 mm

1шт.

12

3233290R1

NUT

hex crown, 8 mm - 1.25

1шт.

13

3233670R1

GROMMET

window

1шт.

14

3233328R1

WASHER,M17

flat, 17 mm

1шт.

15

3233326R1

THIN NUT,Thin, M16 x 1.5, Cl 04

hex, 6 mm

1шт.

16

3233323R1

SCREW,Slotted Shoulder, M5 x 3

set, 5 x 10 mm

1шт.

17

543-706

SCREW,Hex Flat Hd, M6 x 16, 4.8

countersunk, 6 x 16 mm

4шт.

18

3234056R2

SEAL

STRIP sealing, 1345 mm

2шт.

19

3233689R2

PAD, RUBBER

PAD rubber

4шт.

20

3233675R3

SUPPORT

RETAINER window

8шт.

21

761-17213

SELF-TAP SCREW,Pan Hd, M3.9 x 13

SCREW tapping, round cross recess, 3.5 x 13 mm

8шт.

22

133014A1

COVER

left door

1шт.

22

3234124R3

FOAM

COVER right hand door

1шт.

23

133016A1

POCKET

right door

1шт.

24

3404078R1

PLUG

pin, 6 OD x 13.5 mm

4шт.

25

3234209R1

HANDLE

door

2шт.

26

761-14322

SELF-TAP SCREW,Pan Hd, M4.2 x 22

SCREW tapping, round cross recess, 4.2 x 22 mm

8шт.

27

P741441

SPACER

PLUG door frame

10шт.

28

3404053R92

REPAIR KIT

KIT repair, service

1шт.

3399917R1

GLUE

FLUID cartridge, 300 ml

1шт.

29

3233254R1

WASHER,M4.3 ID x 9 OD x .8 Thk

4 mm

8шт.

30

1332211C1

GLUE

ADHESIVE flexible

1шт.

31

B17576

GASKET MAKER FLUID

SEALANT gasket, RTV No. 595, clear, 300 ml tube

1шт.

Выбрано товаров: 39