Запчасти Case IH 3230 (9-092) - ROLL OVER PROTECTION FRAME, 2 POST ROPS (09) - CHASSIS/ATTACHMENTS

Схема запчастей Case IH 3230 - (9-092) - ROLL OVER PROTECTION FRAME, 2 POST ROPS (09) - CHASSIS/ATTACHMENTS
14
10
2
7
6
9
11
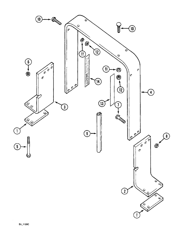
1
1
3
8
4
13
12
12
10
5
11
FIT
1:1
100%

Артикул

Название

Примечание

Количество

1

118309C1

PLATE

clamp

2шт.

2

118306C1

SUPPORT

lower mounting, left

1шт.

3

118307C1

SUPPORT

lower mounting, right

1шт.

4

118377C2

FRAME

BAR roll over protection structure

1шт.

5

1537727C1

BOLT,Hex, 3/4" - 10 x 9", Gr 8, Spcl

BOLT hex, 3/4 NC x 9 inch, grade 8

8шт.

6

429-1012

NUT,3/4"-10, G8

- hex, 3/4 inch NC, grade 8

8шт.

7

118425C2

BOLT

hex, 7/8 NC x 2-3/4 inch

6шт.

8

429-1014

NUT,7/8"-9, G8

hex, 7/8 inch NC, grade 8

6шт.

9

1286896C1

STRIP

CHANNEL conduit, used with canopy

2шт.

10

434-832

CARRIAGE BOLT,Sht Sq Nk, 1/2" - 13 x 2", Gr 5

BOLT carriage, 1/2 NC x 2 inch, used with canopy

8шт.

11

80679

LOCK WASHER,1/20.507 CST ZND

WASHER, LOCK, , Used with canopy 1/2"

8шт.

12

425-108

NUT,1/2" - 13, Gr 5

NUT, , Hex, Used with canopy 1/2"-13, G5

8шт.

13

70571C1

DECAL

ROPS caution instruction, English

1шт.

13

70572C1

DECAL

ROPS caution instruction, French

1шт.

14

70773C1

DECAL

seat belt caution instructions, English

1шт.

14

70774C1

DECAL

seat belt caution instructions, French

1шт.

Выбрано товаров: 16