Запчасти Case IH 3230 (9-096) - ROLL OVER PROTECTION FRAME, 2 POST CANOPY HEADLINER TRIM (09) - CHASSIS/ATTACHMENTS

Схема запчастей Case IH 3230 - (9-096) - ROLL OVER PROTECTION FRAME, 2 POST CANOPY HEADLINER TRIM (09) - CHASSIS/ATTACHMENTS
5
8
10
2
12
11
10
11
7
6
12
1
9
9
4
3
FIT
1:1
100%

Артикул

Название

Примечание

Количество

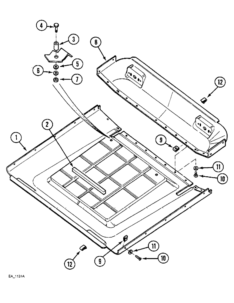
1

118381C1

PANEL

HEADLINER front

1шт.

2

NSS

NOT SOLD SEPARAT

STRIP damper, 15 inch, Order 2 x 73213C1 and, Serial Range: cut-length

1шт.

73213C1

FILLING STRIP

STRIP damper, 4 feet, sold by the foot

1шт.

3

522204R1

SPACER,1/4" Pipe x 1 3/8"

standard pipe, 1/4 x 1-3/8 inch

2шт.

4

828-6040

BOLT,Hex, M6 x 1 x 40mm, Cl 10.9

hex, 6 x 40 mm

2шт.

5

495-21031

WASHER,1/4"

flat, 5/16 x 3/4 x 1/16 inch

2шт.

6

892-11006

LOCK WASHER,M6

WASHER, LOCK, M6

2шт.

7

825-1406

NUT,M6, Cl 8

2шт.

8

118359C1

PANEL

headliner

1шт.

9

684322R1

SPRING NUT

spring

25шт.

10

260-14512

SCREW,Cross Pan Hd, #10 x 3/4"

self-tapping, pan Phillips, No. 10-16 x 3/4 inch

25шт.

11

495-31022

WASHER,#10

25шт.

12

118515C1

CLIP

U-type, canopy with sheared edges

18шт.

Выбрано товаров: 13