Запчасти Case IH 3230 (9-098) - SLOW MOVING VEHICLE EMBLEM, TRACTORS WITHOUT CAB, TRACTORS WITH CAB (09) - CHASSIS/ATTACHMENTS

Схема запчастей Case IH 3230 - (9-098) - SLOW MOVING VEHICLE EMBLEM, TRACTORS WITHOUT CAB, TRACTORS WITH CAB (09) - CHASSIS/ATTACHMENTS
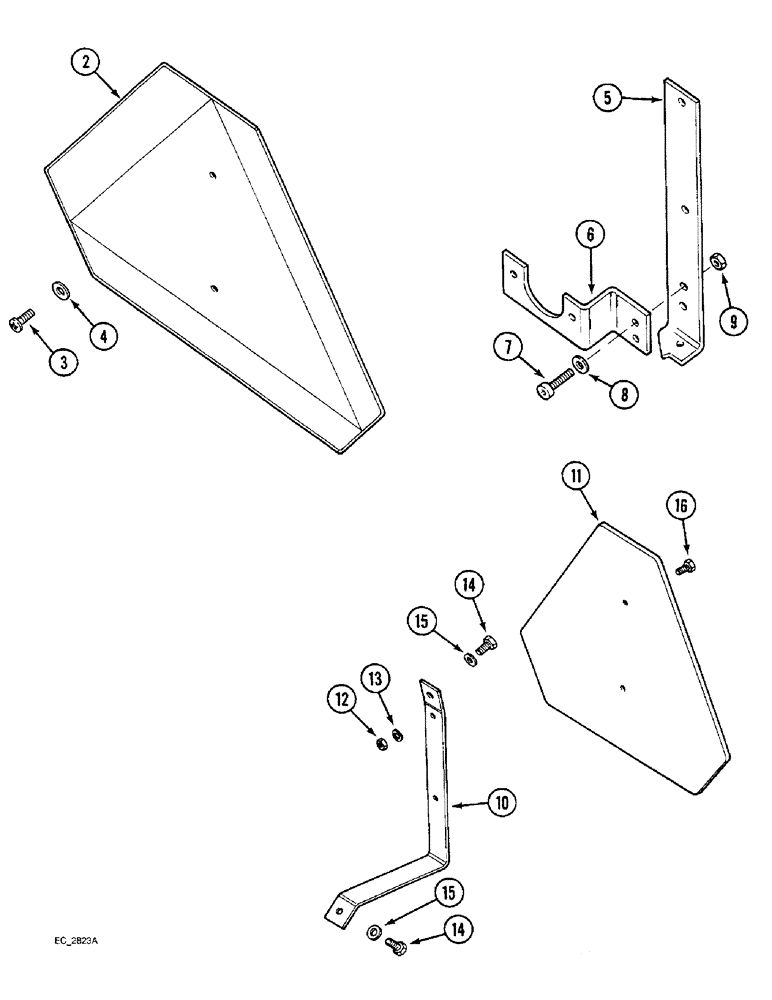
10
16
7
5
14
6
9
4
15
11
8
14
15
13
2
3
12
FIT
1:1
100%

Артикул

Название

Примечание

Количество

2

1265035C1

EMBLEM

DECAL SMV emblem

1шт.

3

261-24510

SELF-TAP SCREW,Slotted Pan Hd, #10 x 5/8"

SCREW self-tapping, pan Phillips, No. 10 NC x 5/8 inch

2шт.

4

495-31022

WASHER,#10

2шт.

5

1537741C1

SUPPORT

BRACKET emblem mounting

1шт.

6

1537742C1

SUPPORT

BRACKET 7 pin socket mounting

1шт.

7

627-6020

BOLT,Hex, M6 x 1 x 20mm, Cl 10.9, Full Thd

- hex, full threads, 6 - 1.0 x 20 mm, class 10.9

2шт.

8

895-11006

WASHER,6.6mm ID x 12mm OD x 1.6mm Thk

2шт.

9

825-1406

NUT,M6, Cl 8

2шт.

10

98020C1

SUPPORT

SMV emblem, tractor with cab

1шт.

11

1265035C1

EMBLEM

DECAL SMV emblem, tractor with cab

1шт.

12

425-104

NUT,1/4"-20, Cl 5

hex, 1/4 inch NC, tractor with cab

2шт.

13

492-11025

LOCK WASHER,1/4"

WASHER, LOCK, , Tractor with cab 1/4"

2шт.

14

614-8016

BOLT,Hex, M8 x 1.25 x 16mm, Cl 8.8, Full Thd

hex, full threads, 8 - 1.25 x 16 mm, tractor with cab

2шт.

15

895-11008

WASHER,9mm ID x 16mm OD x 1.6mm Thk

flat, 9 x 17 x 1.6 mm, Tractor with cab

2шт.

16

413-412

BOLT,Hex, 1/4" - 20 x 3/4", Gr 5

- hex, 1/4 NC x 3/4 inch, Tractor with cab

2шт.

Выбрано товаров: 15