Запчасти Case IH 3230 (9-104) - THREE POINT HITCH, UPPER LINKS (09) - CHASSIS/ATTACHMENTS

Схема запчастей Case IH 3230 - (9-104) - THREE POINT HITCH, UPPER LINKS (09) - CHASSIS/ATTACHMENTS
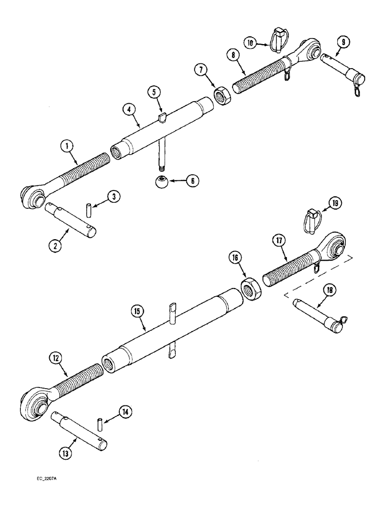
6
10
15
19
9
1
4
7
5
12
16
18
8
17
3
14
13
2
FIT
1:1
100%

Артикул

Название

Примечание

Количество

NSS

NOT SOLD SEPARAT

LINK ASSEMBLY upper, Order 1328195C93, Includes Ref. 1 - 10

1шт.

1

527994R1

SCREW

ASSEMBLY upper link, left hand thread

1шт.

2

1536396C1

PIN,40mm OD x 160mm L

ASSEMBLY upper link, Includes Ref. 3

1шт.

3

738-3640

PIN,6mm OD x 40mm L, Coiled

coiled, 6 x 40 mm

1шт.

4

528003R1

TURNBUCKLE

upper link

1шт.

5

65958C2

ROD

turnbuckle handle

1шт.

6

3048296R1

BUTTON

KNOB turnbuckle rod

1шт.

7

425-1418

JAM NUT,Jam, 1 1/8"-7, G5

hex, 1-1/8 inch NC

1шт.

8

527996R1

SCREW

SCREW ASSEMBLY upper link, right hand thread

1шт.

9

1328192C3

PIN,25.4mm OD x 134mm L

- upper link, category I

1шт.

10

1328218C1

LINCH PIN,11mm OD

- quick attachable

1шт.

1328195C93

UPPER LINK

LINK ASSEMBLY upper, Order components, Includes Ref. 12 - 19

1шт.

12

1328189C1

SCREW,M27 x 3, LH Threads

SCREW ASSEMBLY upper link, left hand thread

1шт.

13

1536396C1

PIN,40mm OD x 160mm L

ASSEMBLY upper link, Includes Ref. 14

1шт.

14

738-3640

PIN,6mm OD x 40mm L, Coiled

coiled, 6 x 40 mm

1шт.

15

1328196C1

TRUNNION,M27 x 3

TURNBUCKLE upper link

1шт.

16

905709R1

THIN NUT,Thin, M27 x 3

hex, 27 mm - 3.00

1шт.

17

1328190C1

SCREW,M27 x 3

SCREW ASSEMBLY upper link, right hand thread

1шт.

18

1328192C3

PIN,25.4mm OD x 134mm L

- upper link, category I

1шт.

19

1328218C1

LINCH PIN,11mm OD

- quick attachable

1шт.

Выбрано товаров: 20