Запчасти Case IH 3230 (4-042) - ROPS CANOPY WIRING AND LIGHTS (04) - ELECTRICAL SYSTEMS

Схема запчастей Case IH 3230 - (4-042) - ROPS CANOPY WIRING AND LIGHTS (04) - ELECTRICAL SYSTEMS
10
8
9
11
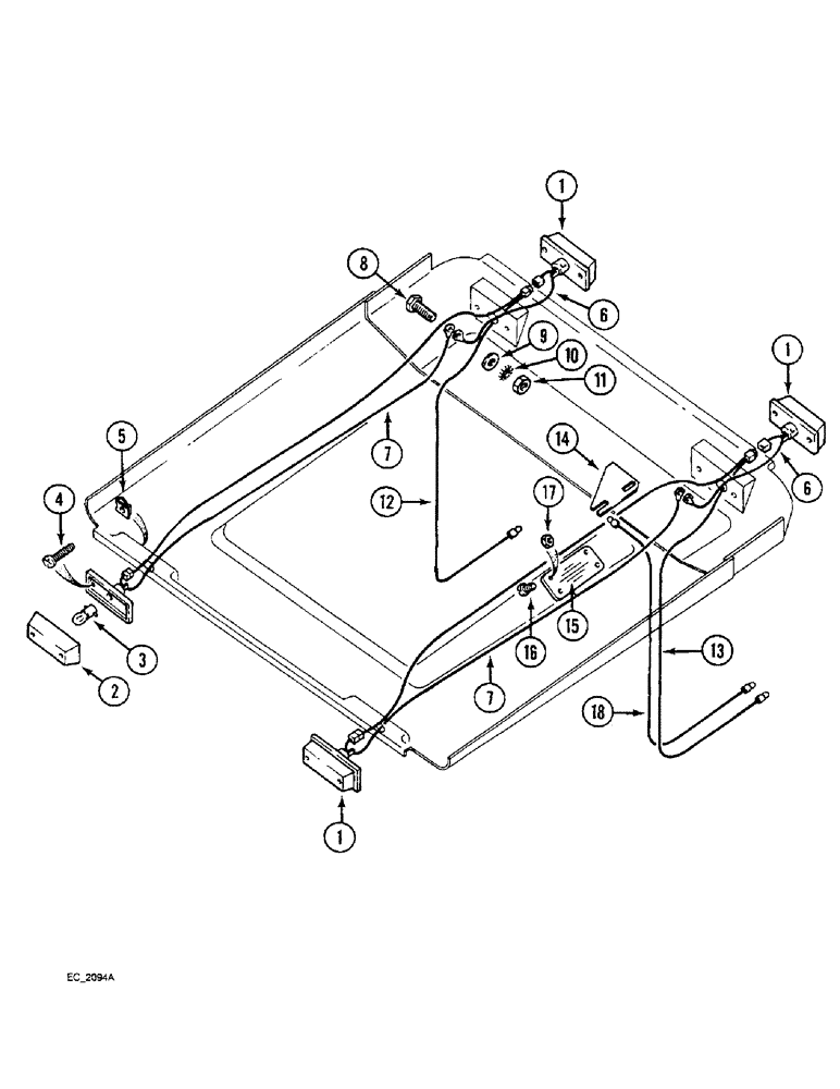
1
2
1
13
7
18
6
5
1
16
12
17
6
15
14
4
3
7
FIT
1:1
100%

Артикул

Название

Примечание

Количество

1

130882C91

LAMP

LAMP ASSEMBLY warning, Includes Ref. 2 and 3

4шт.

2

130883C1

LENS

amber

1шт.

3

A41264

BULB,#1156, 12V

Lamp, Single contact, Single filament #1156, 12V

1шт.

4

260-13540

SELF-TAP SCREW,Cross Pan Hd, #10 x 2 1/2"

SCREW self-tapping, pan Phillips, No. 10-16 x 2-1/2 inch

8шт.

5

684322R1

SPRING NUT

spring

8шт.

6

111264C3

CABLE

ASSEMBLY ground

2шт.

7

118219C1

CABLE

ASSEMBLY ground

2шт.

8

276-1458

SELF-TAP SCREW,Hex Hd, #10 x 1/2"

SCREW - self-tapping, hex head, No. 10 NC x 1/2 inch

2шт.

9

495-31022

WASHER,#10

2шт.

10

493-41020

LOCK WASHER,Ext Tooth, #10

WASHER, LOCK, Ext Tooth, #10

2шт.

11

225-14110

NUT,#10-24

2шт.

12

118384C1

CABLE

ASSEMBLY warning light

1шт.

13

118383C1

CABLE

ASSEMBLY warning light

1шт.

14

118522C1

BRACKET

radio mounting

1шт.

15

143186C92

RADIO

GRILLE speaker

2шт.

16

342-10812

SCREW,Cross Oval Hd, #8-32 x 3/4"

machine, oval head Phillips, No. 8 NF x 3/4 inch

8шт.

17

193-1002

NUT,Keps, #8 - 32, w/ Ext Tooth LW

hex, with external tooth lock washer, No. 8 NC

8шт.

18

118523C2

CABLE

radio power

1шт.

Выбрано товаров: 18