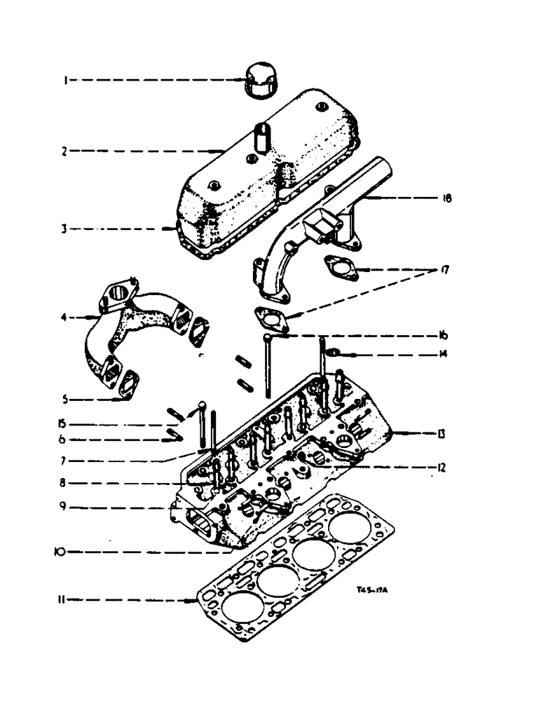
Запчасти Case IH 364 (1-05) - CYLINDER HEAD AND EXHAUST MANIFOLD (01) - ENGINE

Схема запчастей Case IH 364 - (1-05) - CYLINDER HEAD AND EXHAUST MANIFOLD (01) - ENGINE
17
11
9
7
2
1
5
8
14
12
6
18
10
16
15
3
13
4
FIT
1:1
100%

Артикул

Название

Примечание

Количество

1

3049701R91

FILTER, ELEMENT

BREATHER, cyl. hd. (see detail list)

1шт.

2

3112012R11

COVER

CPTE., valve housing

1шт.

179835

BOLT,Hex, 3/8" - 16 x 5/8", Gr 5, Full Thd

1шт.

102635

NUT,3/8"-16, G5

2шт.

95-11041

WASHER,3/8"

13/32" x 13/16" x 16 ga.

1шт.

3

3069767R1

GASKET

valve cover

1шт.

4

3042719R11

MANIFOLD

w/two stud 704164R1 cpte., exhaust

1шт.

704164R1

STUD

exhaust manifold

2шт.

5

704165R2

MANIFOLD GASKET

exhaust manifold

2шт.

6

703874R1

STUD

exhaust manifold

4шт.

280136

NUT,3/8"-16, G8

Exhaust manifold stud 3/8"-16, G8

4шт.

7

703875R1

STUD

rocker shaft end bracket

2шт.

8

3044493R1

VALVE GUIDE

GUIDE, valve stem exhaust

4шт.

9

3044492R1

VALVE GUIDE

GUIDE, valve stem intake

4шт.

10

703876R2

STUD

injection nozzle holder

8шт.

11

703883R7

CYLINDER HEAD GASKET

GASKET, cyl-hd.

1шт.

3049382R1

GROMMET

. cyl. hd.

1шт.

12

438159

DRAIN PLUG,Sq Hd, 1/2"-14 NPTF

PLUG, sq. hd. cast iron pipe 1/2" opt.

1шт.

12

217-519

DRAIN PLUG,Sq Hd, 1/2"-14 NPTF

PLUG, , Pipe, Cast iron Sq Hd, 1/2"-14 NPTF

1шт.

13

3044489R91

CYLINDER HEAD

HEAD, w/valves assy., cyl., comprising (8) cup 3044176R1, (8) cup 3044491R1, (1) head 3044490R91, (16) lock 704443R1, (8) spring 3044239R1, (8) spring 3044240R1, (4) valve 3043826R1, (4) valve 3040361R1

1шт.

13

3044490R91

HEAD (CYLINDER)

HEAD, less/valves assy., cyl., comprising (4) guide 3044492R1, (4) guide 3044493R1, (2) plug 172558, (4) stud 703874R1, (2) stud 703875R1, (8) stud 703873R2

1шт.

14

172558

PLUG,Exp, 1 1/4"

expansion

2шт.

15

708331R1

BOLT

BOLT, cyl. hd. short

15шт.

16

708332R1

BOLT,Cyl Hd

cyl-hd. long

1шт.

63116D

WASHER

cyl. hd. bolt

16шт.

3065070R1

ELECTRICAL WIRE

CABLE, earth to no. 1 glow plug

1шт.

708127R2

ELECTRICAL WIRE

CABLE, no. 1 to no. 2 glow plug

1шт.

708128R2

ELECTRICAL WIRE

CABLE, no. 2 to no. 3 glow plug

1шт.

708127R2

ELECTRICAL WIRE

CABLE, no. 3 to no. 4 glow plug

1шт.

710348R1

GLOW PLUG

PLUG, glow

4шт.

710474R1

ISOLATOR

INSULATOR, glow plug

1шт.

3047624R1

NUT

terminal

1шт.

Выбрано товаров: 32