Запчасти Case IH 364 (3-09) - ELECTRICAL, REGULATOR AND HEAT SHIELD (06) - ELECTRICAL SYSTEMS

Схема запчастей Case IH 364 - (3-09) - ELECTRICAL, REGULATOR AND HEAT SHIELD (06) - ELECTRICAL SYSTEMS
3
4
2
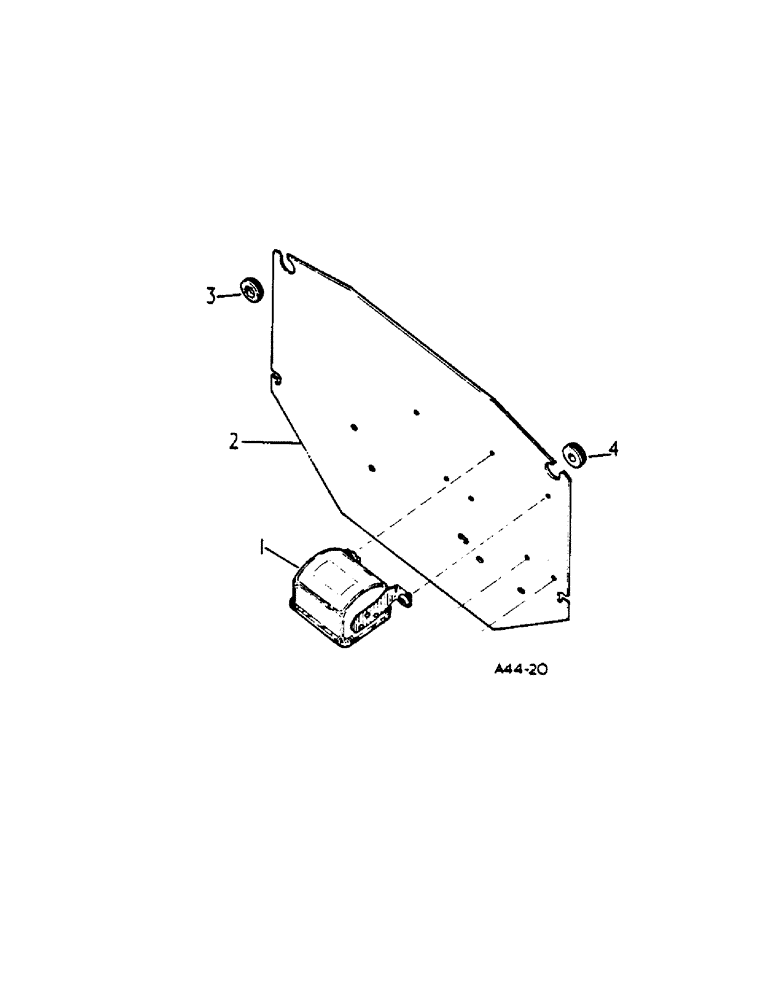
1
FIT
1:1
100%

Артикул

Название

Примечание

Количество

1

3043187R92

REGULATOR

12 volt

1шт.

120375

NUT,Hex, 1/4" - 20, Gr 5

2шт.

133043

SCREW,Sl Rnd Hd, 1/4" - 20 x 3/4"

rd hd altd 1/4" x 3/4"

2шт.

103319

LOCK WASHER,1/4"

WASHER, LOCK, , Machines fitted w/generator 1/4"

2шт.

2

3112290R2

SHIELD

heat

1шт.

179838

BOLT,Hex, 3/8" - 16 x 7/8", Gr 5, Full Thd

2шт.

103321

LOCK WASHER,3/8"

WASHER, LOCK, 3/8"

2шт.

3

3114086R1

GROMMET

main harness

1шт.

4

704694R1

GROMMET

fuel spill pipe

1шт.

841241R1

SLEEVE

terminal regulator

1шт.

Выбрано товаров: 10