Запчасти Case IH 384 (10-08) - HYDRAULICS, CONTROL VALVE CYLINDER HEAD (07) - HYDRAULICS

Схема запчастей Case IH 384 - (10-08) - HYDRAULICS, CONTROL VALVE CYLINDER HEAD (07) - HYDRAULICS
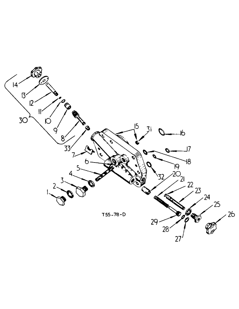
18
16
25
32
30
15
20
29
1
31
10
24
13
2
28
23
26
22
12
4
17
27
8
5
19
33
9
11
21
3
14
6
FIT
1:1
100%

Артикул

Название

Примечание

Количество

3069236R98

VALVE

VAVLE, control draft

1шт.

413-836

BOLT,Hex, 1/2" - 13 x 2-1/4", Gr 5

1/2 x 2-1/4 pln type 5

2шт.

413-840

BOLT,Hex, 1/2" - 13 x 2-1/2", Gr 5

1/2 x 2-1/2 pln type 5

6шт.

179842

SPACER

BOLT, 3/8 x 1-3/8 pln type 5

2шт.

103323

LOCK WASHER,1/2"

WASHER, LOCK, 1/2"

7шт.

704743R91

SEALING WASHER

WASHER, 1/4 dowty BSP

1шт.

1

706027R1

PLUG

1/2 BSP, auxiliary tapping

1шт.

2

704337R1

SEALING WASHER

WASHER, sealing 1/2 BSP

1шт.

3

751580R3

BOLT,5/8" - 18 x 5/8"

needle valve cover

1шт.

4

3045118R1

SEAL

WASHER, dowty 5/8 dia

1шт.

5

3047294R95

FILTER

ASSY

1шт.

6

384937R1

O-RING,0.07" Thk x 0.239" ID, -10, Cl 6, 90 Duro

1/4 x 3/8 x 1/16

1шт.

7

3045109R2

SPACER

1шт.

8

3045102R2

VALVE

isolator

1шт.

9

3045106R1

BUSHING

isolator valve

1шт.

10

3045116R1

O-RING,0.103" Thk x 0.469" ID, Cl 6

O-RING, 15/32 x 21/32

1шт.

11

23524R1

O-RING,0.07" Thk x 0.208" ID, -9, Cl 6, 90 Duro

7/32 x 11/32, class 1

1шт.

12

3045107R1

SHAFT

isolator valve knob

1шт.

443137

AXLE PIN

PIN, 5/32 x 1/2 groove

1шт.

13

3045104R1

PLATE

stop

1шт.

179793

BOLT,Hex, 1/4" - 20 x 5/8", Gr 5, Full Thd

2шт.

103319

LOCK WASHER,1/4"

WASHER, LOCK, 1/4"

2шт.

14

3045113R1

KNOB

isolator valve

1шт.

38-31014

PIN,5/32" x 7/8", Coiled

Grooved, 5/32" x 7/8", Type A

1шт.

15

3069235R91

CYLINDER

HEAD ASSY, cylinder

1шт.

16

21433R1

O-RING,0.103" Thk x 0.674" ID, -115, Cl 6, 90 Duro

11/16 x 7/8 x 3/32 pressure outlet

1шт.

17

377952R1

O-RING,0.103" Thk x 0.549" ID, -113, Cl 6, 90 Duro

9/16 x 3/4 x 3/32

1шт.

18

384937R1

O-RING,0.07" Thk x 0.239" ID, -10, Cl 6, 90 Duro

1/4 x 3/8, class 6

1шт.

19

3067183R1

O-RING,0.103" Thk x 0.424" ID, -11, Cl 6, 90 Duro

7/16 x 5/8 x 3/32 pressure inlet

1шт.

20

3045105R1

PISTON

speed control

1шт.

21

3045111R1

SPRING

speed control piston

1шт.

22

379366R1

O-RING,0.07" Thk x 0.301" ID, -11, Cl 6, 90 Duro

5/16 x 7/16 x 1/16, class 6

1шт.

23

SPOOL, speed control, order spool 3045103R11

1шт.

17136R1

LOCK PIN,3/16" x 1/2", Slotted

PIN, 3/16" x 1/2", Slotted

1шт.

24

3045118R1

SEAL

WASHER, dowty

1шт.

25

LATCH, spool, odrer spool 3045103R11

1шт.

26

3045112R1

KNOB

speed control

1шт.

38-31014

PIN,5/32" x 7/8", Coiled

Grooved, 5/32" x 7/8", Type A

1шт.

27

3047246R1

RETAINER

RING, for 11/16 dia bore retaining

1шт.

28

3067183R1

O-RING,0.103" Thk x 0.424" ID, -11, Cl 6, 90 Duro

7/16 x 5/8 x 3/32

1шт.

29

3108188R11

PLUG

ASSY

1шт.

30

3045102R21

VALVE

ASSY, isolator

1шт.

31

(Not serviced)

1шт.

32

377952R1

O-RING,0.103" Thk x 0.549" ID, -113, Cl 6, 90 Duro

9/16 x 3/4 x 3/32, class 6

1шт.

33

3067146R1

SEAT

isolator valve

1шт.

3045103R11

SPOOL

speed control, consist of

1шт.

3045112R1

KNOB

latch (NSS)

1шт.

17136R1

LOCK PIN,3/16" x 1/2", Slotted

PIN, 3/16" x 1/2", Slotted

1шт.

38-31014

PIN,5/32" x 7/8", Coiled

spool (NSS)

1шт.

3067148R91

VALVE

PACKAGE, isolater and valve seat, consist of

1шт.

3045102R1

VALVE

1шт.

3067146R1

SEAT

1шт.

443137

AXLE PIN

PIN

1шт.

Выбрано товаров: 53