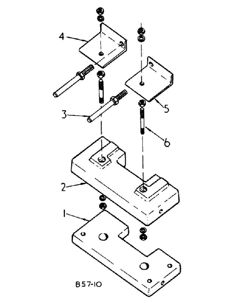
Запчасти Case IH 384 (09-06) - FRAME, FRONT END WEIGHTS (12) - FRAME

Схема запчастей Case IH 384 - (09-06) - FRAME, FRONT END WEIGHTS (12) - FRAME
5
6
2
3
1
4
FIT
1:1
100%

Артикул

Название

Примечание

Количество

3121624R91

ATTACHMENT, front end weight, 1 weight

1шт.

3121625R91

ATTACHMENT, front end weight, 2 weight

1шт.

1

3071340R1

WEIGHT

front end bottom

1шт.

16081R1

BOLT,Hex, 1/2" - 13 x 3 1/8", Gr 5

4шт.

395-11053

WASHER,0.53" ID x 1.06" OD x 0.1" Thk

.531 x 1.062 x .074 pln

4шт.

2

3071338R1

WEIGHT

front end top

1шт.

3

3123111R1

STUD

grille frame support

2шт.

4

3071335R1

SUPPORT

angle RH

1шт.

5

3071336R1

SUPPORT

angle LH

1шт.

6

3071339R1

STUD

front end weight

2шт.

114507

JAM NUT,Jam, 5/8"-11, G5

2шт.

102639

NUT,5/8"-11, G5

4шт.

12258R1

WASHER

.656 x .1.250 x .090 pln

4шт.

Выбрано товаров: 13