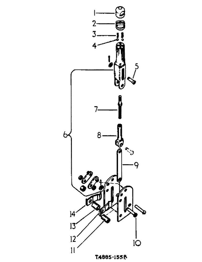
Запчасти Case IH 384 (04-03) - BRAKES, HAND BRAKE (5.1) - BRAKES

Схема запчастей Case IH 384 - (04-03) - BRAKES, HAND BRAKE (5.1) - BRAKES
14
7
4
11
13
9
1
12
6
8
10
3
5
2
FIT
1:1
100%

Артикул

Название

Примечание

Количество

3045931R93

LEVER

ASSY, handbrake

1шт.

1

3045968R1

KNOB

outer half

1шт.

2

3045965R1

KNOB

inner half

1шт.

3

3045967R1

SPRING

2шт.

4

3045966R1

BALL

2шт.

5

3111364R1

PIN

short

1шт.

3045975R1

PIN

split

1шт.

3045971R1

WASHER

1шт.

6

(Not serviced)

1шт.

7

(Not serviced)

1шт.

8

(Not serviced)

1шт.

9

3045969R1

LINK

1шт.

10

3045973R1

PIN

long

1шт.

3045975R1

PIN

split

1шт.

3045971R1

WASHER

1шт.

11

3045976R1

SPACER

2шт.

12

3106655R1

PLATE

spring LH

1шт.

13

3074950R1

SPACER

1шт.

14

3106656R1

PLATE

spring RH

1шт.

Выбрано товаров: 19