Запчасти Case IH 384 (06-01) - COOLING, RADIATOR AND CONNECTIONS Cooling

Схема запчастей Case IH 384 - (06-01) - COOLING, RADIATOR AND CONNECTIONS Cooling
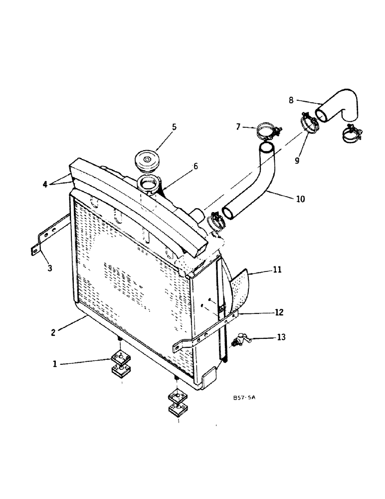
9
13
12
2
8
5
10
1
11
3
7
4
6
FIT
1:1
100%

Артикул

Название

Примечание

Количество

1

3041407R1

PAD

radiator mounting

1шт.

2

3121867R91

RADIATOR

C/W fan housing and guards

1шт.

609825R1

CARRIAGE BOLT,7/16" - 14 x 2", Grade 5

BOLT, 7/16 x 2 pln crg type 5

2шт.

3063614R1

NUT

7/16-14 hex. lock

2шт.

3

3121869R1

BAR

RH grille tie

1шт.

179793

BOLT,Hex, 1/4" - 20 x 5/8", Gr 5, Full Thd

2шт.

492-11025

LOCK WASHER,1/4"

WASHER, LOCK, 1/4"

2шт.

4

73218C1

GASKET

foam, bulk length 4ft.

1шт.

5

3115339R91

CAP

radiator

1шт.

6

3120448R1

PIPE

overflow

1шт.

3047381R1

CLIP, pipe

1шт.

7

705934R91

CLAMP

radiator outlet hose

2шт.

8

3112067R1

RADIATOR HOSE,1.50" ID x 4.44", SAE 20R4 CLASS R or SAE 20R4 CLASS D1

Inlet 1.50" ID x 4.44", SAE 20R4 CLASS R or SAE 20R4 CLASS D1

1шт.

9

705935R91

HOSE CLAMP

CLAMP, radiator inlet hose

2шт.

10

3112068R1

HOSE

radiator outlet

1шт.

11

3115338R91

COWL

ASSY, fan

1шт.

149495

SCREW,Sl Rnd Hd, 1/4" - 28 x 1/2"

1/4-28 x 1/2 rd-hd stl mach

6шт.

103319

LOCK WASHER,1/4"

WASHER, LOCK, 1/4"

6шт.

25-114

NUT,1/4"-28, G5

1/4-NF pln type 5

6шт.

12

3121868R1

BAR

LH grille tie

1шт.

179793

BOLT,Hex, 1/4" - 20 x 5/8", Gr 5, Full Thd

2шт.

492-11025

LOCK WASHER,1/4"

WASHER, LOCK, 1/4"

2шт.

13

3113083R1

PLUG, DRAIN

tap

1шт.

Выбрано товаров: 23