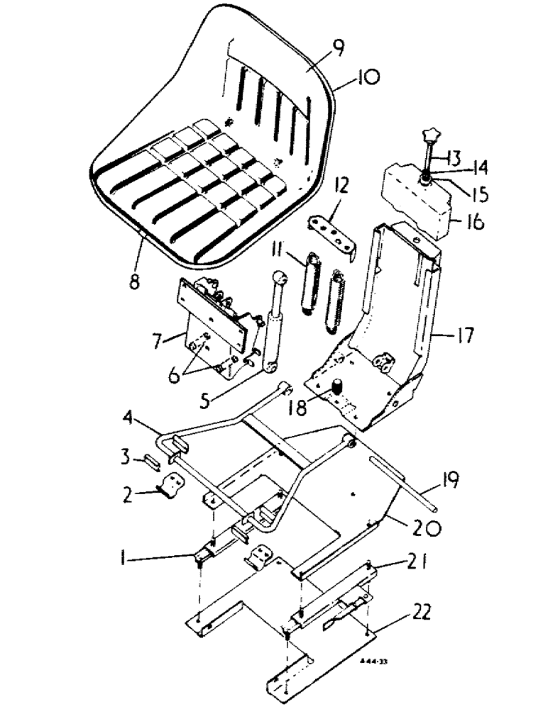
Запчасти Case IH 384 (13-06) - SUPERSTRUCTURE, BOSTROM SUSPENSION (05) - SUPERSTRUCTURE

Схема запчастей Case IH 384 - (13-06) - SUPERSTRUCTURE, BOSTROM SUSPENSION (05) - SUPERSTRUCTURE
14
5
16
9
19
6
1
2
20
11
17
1
12
7
22
21
4
18
15
13
3
8
FIT
1:1
100%

Артикул

Название

Примечание

Количество

3112285R92

SEAT

ASSY, suspension Baltic MK III

1шт.

180179

BOLT,Hex, 1/2" - 13 x 1 3/4", Gr 5

1/2 x 1-3/4 type 5

2шт.

120378

NUT,Hex, 1/2" - 13, Gr 5

NUT, 1/2"-13, G5

2шт.

120384

WASHER,1/2"

LOCK, 1/2"

2шт.

1

3070941R1

SLIDE

RAIL, slide RH

1шт.

3112822R1

NUT

5/16 hex

4шт.

106261

WASHER,1/4"

.312 x .734 x .051 pln

4шт.

2

825204C1

RETAINER

bearing

2шт.

179812

GEAR

5/16 x 1/2 pln type 5

4шт.

112723

LOCK WASHER,5/16"

WASHER, LOCK, 5/16"

4шт.

3

825203C1

BUSHING

BEARING, half

4шт.

4

3112729R91

STABILIZER

ASSY

1шт.

5

3125152R1

DAMPER

1шт.

825215C1

PIN

2шт.

3112728R1

SNAP RING

RING, 3/8 external, E-type

4шт.

6

825213C1

ROLLER

2шт.

7

825212C1

CARRIER

SUPPORT, carriage

1шт.

8

825224C1

CLIP

flange

1шт.

9

3115298R91

PAN

seat and cushion

1шт.

88574

BOLT,Hex, 5/16" - 18 x 1/2", Gr 5, Full Thd

5/16 x 1/2 pln type 5

4шт.

112723

LOCK WASHER,5/16"

WASHER, LOCK, 5/16"

4шт.

825222C1

GROMMET

2шт.

10

(Not serviced)

1шт.

11

3125150R1

SPRING

tension

1шт.

12

825206C1

BRACKET

ASSY

1шт.

13

3125151R1

SCREW

ASSY

1шт.

615029R1

WASHER

.375 x .750 x .051 pln

1шт.

14

825210C1

COLLAR

1шт.

15

567833R91

THRUST BEARING

thrust

1шт.

16

825207C1

COVER

1шт.

17

3112719R91

BASE

ASSY, pedestal

1шт.

3112822R1

NUT

5/16 hex

4шт.

179818

BOLT,Hex, 5/16" - 18 x 1", Gr 5

4шт.

106261

WASHER,1/4"

.312 x .734 x .051 pln

4шт.

18

825219C1

BUMPER

1шт.

3109720R1

SCREW

1/4 x 3/4

1шт.

19

825218C1

SHAFT

1шт.

3112731R1

PIN

roll 5 x 20 dia

1шт.

20

3112715R1

PLATE

mounting

1шт.

21

3070940R1

SLIDE

RAIL, slide LH

1шт.

3112822R1

NUT

5/16 hex

4шт.

106261

WASHER,1/4"

.312 x .734 x .051 pln

4шт.

22

3112718R91

HINGE

ASSY, platform

1шт.

Выбрано товаров: 43