Запчасти Case IH 385 (6-202) - REAR FRAME, COVER AND CONNECTIONS (CONTD) (06) - POWER TRAIN

Схема запчастей Case IH 385 - (6-202) - REAR FRAME, COVER AND CONNECTIONS (CONTD) (06) - POWER TRAIN
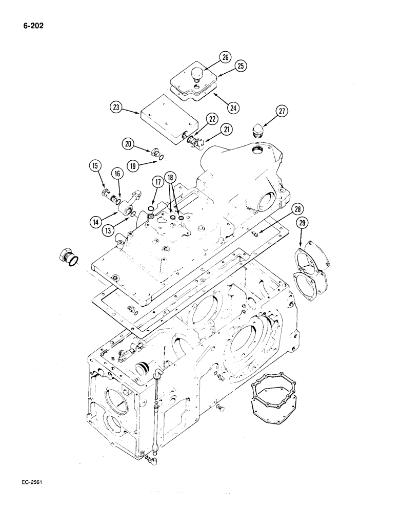
15
13
27
19
28
22
29
23
25
14
24
16
17
21
26
18
20
FIT
1:1
100%

Артикул

Название

Примечание

Количество

179883

BOLT,Hex, 1/2" - 13 x 1 1/4", Gr 5

hex, 1/2 NC x 1-1/4 inch, grade 5

3шт.

231-1408

LOCK NUT,1/2"-13, GB

NUT hex lock, 1/2 inch NC, grade 5

3шт.

531144R1

STUD

top cover, short

2шт.

531143R2

STUD

top cover, long

2шт.

120382

LOCK WASHER,Helical Spring, 3/8"

WASHER, LOCK, 3/8"

4шт.

120377

NUT,3/8" - 16, Gr 5

4шт.

179847

BOLT,Hex, 3/8" - 16 x 2", Gr 5

1шт.

179846

LEVER

- hex, 3/8 NC x 1-7/8 inch, grade 5

11шт.

179850

BOLT,Hex, 3/8" - 16 x 2 3/4", Gr 5

hex, 3/8 NC x 2-3/4 inch, grade 5

2шт.

179886

BOLT,Hex, 1/2" - 13 x 1 5/8", Gr 5

hex, 1/2 NC x 1-5/8 inch, grade 5

2шт.

413-830

BOLT,Hex, 1/2" - 13 x 1-7/8", Gr 5

BOLT hex, 1/2 NC x 1-7/8 inch, grade 5

4шт.

444697

PLUG,Hex Soc, 3/8"-18

hex socket, 3/8 inch NPTF

1шт.

444698

PLUG

hex socket, 3/8 inch NPTF, optional to P/N 444697

1шт.

13

384376R1

O-RING,0.07" Thk x 0.926" ID, -21, Cl 6, 90 Duro

15/16 x 1-1/16 inch, class 6

1шт.

14

66762C1

PIPE,0.625" OD, 3.5" Length

TUBE inlet union

1шт.

15

66766C1

PLUG

inlet union

1шт.

16

364885R1

O-RING,0.097" Thk x 0.755" ID, -910, Cl 6, 90 Duro

5/8 inch outside diameter

1шт.

17

21433R1

O-RING,0.103" Thk x 0.674" ID, -115, Cl 6, 90 Duro

11/16 x 7/8 inch, class 6, auxiliary valve manifold

1шт.

18

352221R1

O-RING,0.103" Thk x 0.549" ID, -113, Cl 5, 75 Duro

9/16 x 3/4 inch, class 5, auxiliary valve manifold

2шт.

19

570828R1

O-RING,0.087" Thk x 0.644" ID, -908, Cl 6, 90 Duro

1/2 inch OD tube, class 6

1шт.

20

9410359

PLUG

0-ring boss, 1/2 inch OD tube

1шт.

21

9410978

ELBOW,90 Degree, 7/8"-14, 37 Degree x 7/8"-14, O-Ring

90 degree, adjustable, 5/8 inch OD tube, auxiliary valve manifold

1шт.

22

364885R1

O-RING,0.097" Thk x 0.755" ID, -910, Cl 6, 90 Duro

5/8 inch outside diameter

1шт.

23

529382R1

MANIFOLD

auxiliary valve

1шт.

179847

BOLT,Hex, 3/8" - 16 x 2", Gr 5

4шт.

24

399996R1

GASKET

linkage access cover

1шт.

25

65970C2

BREATHER ASSY.

BREATHER hydraulic unit housing, 3/8 inch NPT

1шт.

25

1971726C1

BREATHER,1/4" - 18

hydraulic unit housing, 1/4 inch NPT, tractors P.I.N. 18374 and after

1шт.

26

65969C1

COVER

linkage access

1шт.

26

99969C1

COVER

linkage access, tractors P.I.N. 18374 and after

1шт.

179791

BOLT,Hex, 1/4" - 20 x 1/2", Gr 5

5шт.

27

20953R1

DRAIN PLUG,Sq Hd, 1 1/4"-11 1/2 NPTF

PLUG automotive square, 1-1/4 inch NPTF

1шт.

28

82301R1

BLEEDER,3/8" - 24 x 117mm

brake bleed

2шт.

28

3068777R1

SCREW

brake bleed, Optional to P/N 82301R1

2шт.

29

399843R3

GASKET

rear frame IPTO flange

2шт.

Выбрано товаров: 35