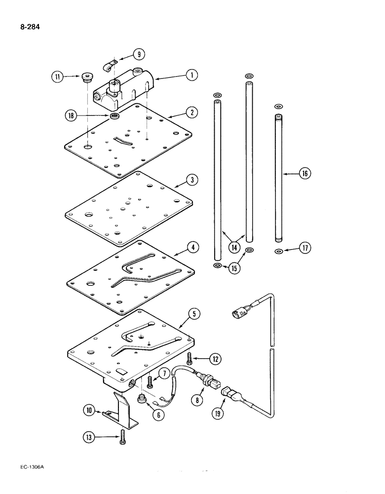
Запчасти Case IH 385 (8-284) - REGULATOR VALVE AND PLATE, TRACTORS WITHOUT FORWARD & REVERSE, TRACTORS P.I.N. 18001 & AFTER (08) - HYDRAULICS

Схема запчастей Case IH 385 - (8-284) - REGULATOR VALVE AND PLATE, TRACTORS WITHOUT FORWARD & REVERSE, TRACTORS P.I.N. 18001 & AFTER (08) - HYDRAULICS
6
7
10
9
1
17
15
4
5
3
11
16
8
14
18
12
13
2
19
FIT
1:1
100%

Артикул

Название

Примечание

Количество

1

83006C93

VALVE

pressure regulator, See Fig. 8-290

1шт.

2

83009C2

GASKET

separator plate

1шт.

3

83010C2

PLATE

separator

1шт.

4

83011C2

GASKET,0.79mm Thk

core plate

1шт.

5

83013C2

LARGE PLATE

PLATE core

1шт.

6

86258C1

PLUG,M12 x 1.5

M12, with packing ring

1шт.

7

931405R1

BOLT,Hex, M8 x 1.25 x 30mm, Cl 8.8, Full Thd

hex, M8 x 30 mm, class 8.8

5шт.

8

99990C1

HARNESS

CABLE solenoid

1шт.

9

92071C1

CLAMP

CLIP solenoid cable

1шт.

10

99952C2

SHIELD

solenoid cable

1шт.

11

87953C1

PLUG

M22, with packing ring

1шт.

12

180124

BOLT,Hex, 3/8" - 16 x 1 1/4", Gr 5

hex, 3/8 NC x 1-1/4 inch, grade 5, ZND

9шт.

13

180130

BOLT,Hex, 3/8" - 16 x 2", Gr 5

hex, 3/8 NC x 2 inch, grade 5

2шт.

28422R1

WASHER,13/32" x 13/16" x .134", HDN

flat 0.406 x 0.812 x 0.134 inch

2шт.

14

402545R1

PRESSURE PIPE

TUBE pump pressure

2шт.

15

252739R1

O-RING,0.103" Thk x 0.487" ID, -112, Cl 5, 75 Duro

1/2 x 11/16 inch, class 5

4шт.

16

83401C1

PIPE

TUBE oil inlet

1шт.

17

382997R1

O-RING,0.07" Thk x 0.489" ID, -14, Cl 6, 90 Duro

1/2 x 5/8 inch, class 6

2шт.

18

386073R91

SCREEN

pilot relief

1шт.

19

99992C1

ELECTRICAL WIRE

CABLE two speed power shift

1шт.

369384R1

O-RING,0.072" Thk x 0.414" ID, -905, Cl 6, 90 Duro

5-1, 90 Duro, .414" ID x .072" Thk, 5/16 OD tube, class 6

1шт.

Выбрано товаров: 21