Запчасти Case IH 385 (8-324) - DRAFT CONTROL LINKAGE IN REAR FRAME (08) - HYDRAULICS

Схема запчастей Case IH 385 - (8-324) - DRAFT CONTROL LINKAGE IN REAR FRAME (08) - HYDRAULICS
14
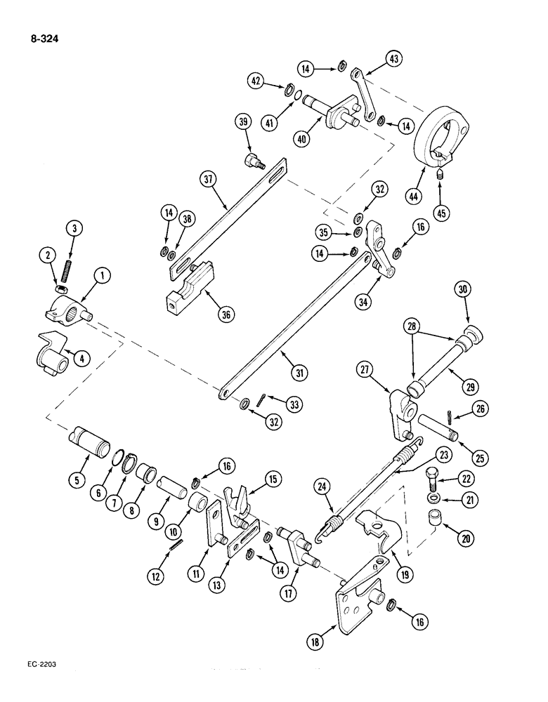
4
24
41
19
13
32
5
44
6
14
3
20
33
34
39
27
26
14
40
8
36
21
32
22
42
7
45
37
11
12
17
10
2
23
28
9
14
18
14
43
35
31
1
30
38
15
25
16
29
16
16
FIT
1:1
100%

Артикул

Название

Примечание

Количество

1

400017R1

LEVER ASSY.

LEVER slow motion actuating

1шт.

2

114501

JAM NUT,Jam, 1/4"-20, G5

1шт.

3

1502037C1

SET SCREW

SCREW set, hex, 1/4 NC x 1-1/2 inch

1шт.

4

399889R1

ARM ASSY.

ARM draft retarding

1шт.

5

94167C1

SHAFT

position control

1шт.

6

574069R1

O-RING,0.750" ID x .062"

3/4 x 7/8 inch, class 5

1шт.

7

303004R1

SNAP RING,#78, Ext

1шт.

8

374940R1

NYLON BEARING

BEARING control lever shaft

1шт.

9

94168C1

SHAFT

load control

1шт.

10

527927R1

SPACER

load control shaft

1шт.

11

534728R1

LEVER

draft sensitivity control

1шт.

12

364577R1

PIN,5/32" x 3/4", Coiled

1шт.

13

400044R1

LINK

, Serial Range: trigger-quadrant

1шт.

14

104977R1

SNAP RING,#X31, .243" Dia, E-Type

RING, RETAINING, #X31, .243" Dia, E-Type

3шт.

15

400042R2

LEVER ASSY.

LEVER draft control trigger

1шт.

16

110668R1

CIRCLIP,#37, .300" Dia, E-Type

Ring, Retaining, #37, .300" Dia, E-Type

3шт.

17

400039R1

PLATE ASSY.

PLATE eccentric

1шт.

18

400026R2

SUPPORT

BRACKET switch lever

1шт.

19

400033R1

LEVER

hydraulic switch, Includes: Ref. 20

1шт.

20

532468R1

SPACER

safety switch

1шт.

21

532467R1

WASHER

safety switch

1шт.

22

13-510

BOLT,Hex, 5/16" - 18 x 5/8", Gr 5, Full Thd

- hex, 5/16 NC x 5/8 inch, grade 5

1шт.

23

400024R2

BAR

sensing beam

1шт.

24

400025R1

SPRING

sensing beam

1шт.

25

400038R1

PIN

sensing lever

1шт.

26

20092R1

PIN,3/16" x 1 3/8", Coiled

1шт.

27

400021R1

LINK ASSY.

LINK draft control

1шт.

28

273279R91

BUSHING

BEARING sensing shaft

2шт.

29

400020R1

ROD

draft control

1шт.

30

376022R91

OIL SEAL

SEAL oil, sensing shaft

1шт.

30

530092R91

OIL SEAL

SEAL oil, sensing shaft, optional to P/N 376022R91

1шт.

31

400016R1

BAR

walking beam to quadrant link

1шт.

32

95-11034

WASHER,1/4"

plain, 0.344 x 0.688 x 0.051 inch

2шт.

33

103373

COTTER PIN,3/32" x 3/4"

Pin, Split (Cotter), 3/32" x 3/4"

1шт.

34

400014R1

LEVER ASSY.

LEVER follow up walking beam

1шт.

35

95-11041

WASHER,3/8"

flat (0.406 x 0.812 x 0.051") 3/8"

1шт.

36

527617R1

ARM ASSY.

ARM main valve

1шт.

37

400019R1

LINK

walking, Serial Range: beam-valve

1шт.

38

Q3817

WASHER

flat, 0.344 x 0.656 x 0.021 inch

1шт.

39

376041R1

SCREW,Shldr, Hex, 1/4" - 20 x 0.70", W/ Nylon Pellet

Shoulder

1шт.

40

400036R1

ECCENTRIC ASSY.

ECCENTRIC position control

1шт.

41

355967R1

O-RING,0.364" ID x 0.003" Width

3/8 x 1/2 inch, class 5

1шт.

42

971043R1

SNAP RING,#50, Ext

1шт.

43

400008R1

LINK

position control walking

1шт.

44

533340R1

HUB ASSY.

HUB rockshaft actuating

1шт.

45

377792R1

SET SCREW

SCREW set, rockshaft hub

1шт.

Выбрано товаров: 46