Запчасти Case IH 385 (12-03) - POWER, FUEL TANK SUPPORTS AND PIPING Power

Схема запчастей Case IH 385 - (12-03) - POWER, FUEL TANK SUPPORTS AND PIPING Power
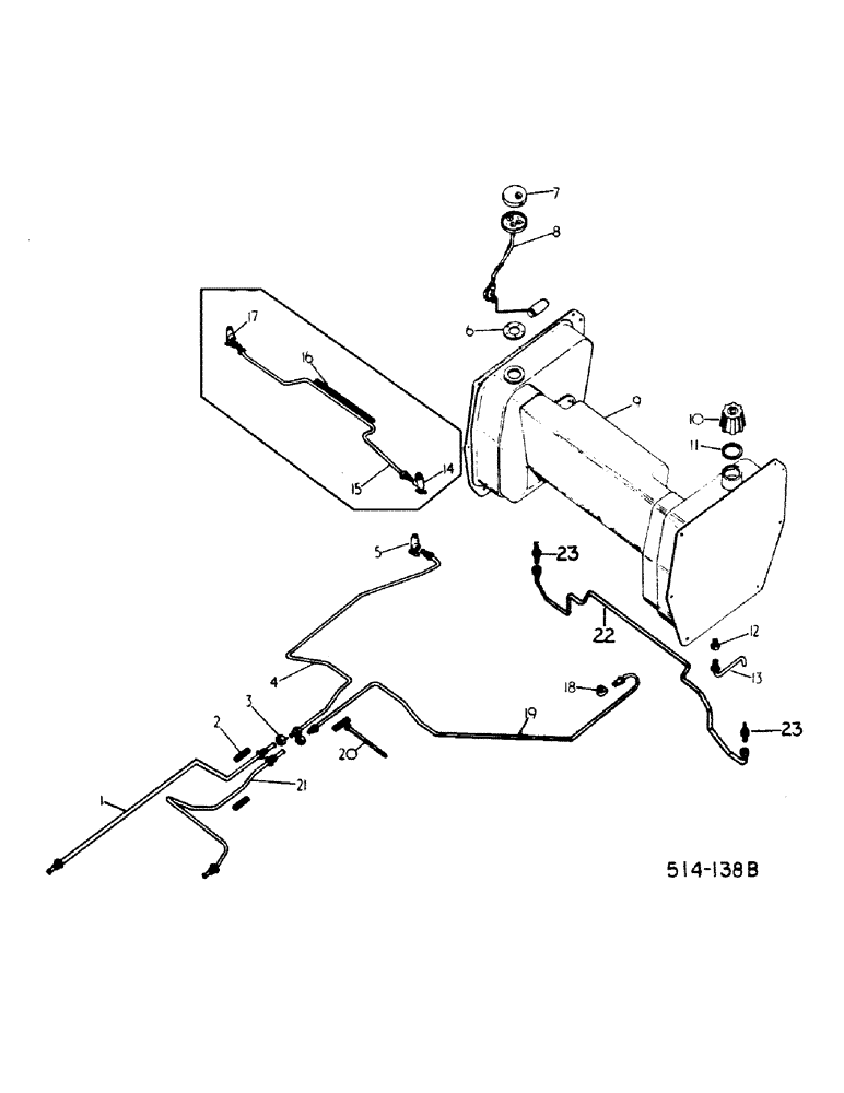
23
2
11
3
12
18
23
8
5
21
15
17
13
1
19
7
6
4
22
20
16
10
14
9
FIT
1:1
100%

Артикул

Название

Примечание

Количество

1

3116238R3

PIPE,787.4, 142.24 mm Length

ASSY, union to filter, Bosch injection CR pump

1шт.

222-1003

TUBE NUT,5/16" Tube, 45 Degree Inv Fl

NUT, 1/2-20 inverted flared tube, or

2шт.

222-1003

TUBE NUT,5/16" Tube, 45 Degree Inv Fl

NUT, 1/2-20 inverted flared tube

2шт.

2

536009R1

FUEL HOSE,0.31" ID x 2.50"

0.31" ID x 2.50"

3шт.

3

442337

NUT

UNION, 5/16 pln inv fld tube

2шт.

4

3129561R1

PIPE,8 mm OD, 932.2, 259.1 mm Length

TUBE ASSY, union to shutoff valve

1шт.

222-1003

TUBE NUT,5/16" Tube, 45 Degree Inv Fl

NUT, 1/2-20 inverted flared tube, or

2шт.

222-1003

TUBE NUT,5/16" Tube, 45 Degree Inv Fl

NUT, 1/2-20 inverted flared tube

2шт.

5

528926R1

VALVE,1/2" - 20 x 3/8" - 18 NPTF

ASSY, shutoff

1шт.

6

528359R1

GASKET

sending unit

1шт.

7

528360R2

COVER

sending unit

1шт.

8

529790R1

SENDER UNIT

TRANSMITTER, fuel gauge sending, used w/gauge 3121239R1, or

1шт.

8

3129841R91

FUEL GAUGE

TRANSMITTER, fuel gauge, Icknield, used w/gauge 3129840R1, AC Delco

1шт.

463-1108

SCREW,Hex Hd, #10-24 x 1/2"

no. 10 x 1/2 znp h/hd mach

4шт.

440-1106

SCREW,Cross Pan Hd, #10-24 x 3/8"

no. 10 x 3/8 znp P/HDCR mach

1шт.

533199R1

SEALING WASHER

sending unit cover sealing

4шт.

796002R1

COPPER WASHER

WASHER, sending unit cover sealing

1шт.

9

536035R93

FUEL TANK

TANK ASSY, fuel w/filler cap

1шт.

120376

NUT,5/16"-18, G5

8шт.

120377

NUT,3/8" - 16, Gr 5

4шт.

180075

BOLT,Hex, 5/16" - 18 x 5/8", Gr 5

5/16 x 5/8 type 5

6шт.

180077

BOLT,Hex, 5/16" - 18 x 3/4", Gr 5

5/16 x 3/4 type 5

2шт.

9635884

BOLT,Hex, 5/16" - 18 1", Full Thd, Gr 5

5/16 x 1 type 5

2шт.

180118

BOLT,Hex, 3/8" - 16 x 5/8", Gr 5

3/8 x 5/8 type 5

4шт.

80681

LOCK WASHER,5/16"

WASHER, LOCK, 5/16"

10шт.

120382

LOCK WASHER,Helical Spring, 3/8"

WASHER, LOCK, 3/8"

4шт.

10

538063R1

PLUG

CAP ASSY, fuel tank filler

1шт.

11

23977DD

GASKET,47.5mm ID x 65.89mm OD x 2.39mm Thk

fuel tank filler cap

1шт.

12

222-1014

HYD CONNECTOR,1/2"-20 Inv Fl x 1/8" NPT

CONNECTOR, 1/8 PT x 5/16 inverted flared tube, used w/underslung exhaust

1шт.

13

539938R1

VENTILATION PIPE

TUBE ASSY, tank breather, used w/underslung exhaust

1шт.

222-1003

TUBE NUT,5/16" Tube, 45 Degree Inv Fl

NUT, 1/2-20 inverted flared tube, or

2шт.

222-1003

TUBE NUT,5/16" Tube, 45 Degree Inv Fl

NUT, 1/2-20 inverted flared tube

2шт.

539940R1

CLIP

breather line

1шт.

271713

BOLT, 5/8 x 3/4 type 5

1шт.

14

(Not used this application)

1шт.

15

(Not used this application)

1шт.

16

(Not used this application)

1шт.

17

(Not used this application)

1шт.

18

137422

ELBOW

inverted flare 90 deg

1шт.

19

3129262R1

PIPE

TUBE ASSY, fuel return rear

1шт.

222-1003

TUBE NUT,5/16" Tube, 45 Degree Inv Fl

NUT, 1/2-20 inverted flared tube, or

2шт.

222-1003

TUBE NUT,5/16" Tube, 45 Degree Inv Fl

NUT, 1/2-20 inverted flared tube

2шт.

20

289862C1

CABLE TIE,3/16" x 7"

STRAP

3шт.

21

3112790R1

PIPE

ASSY, fuel return front

1шт.

222-1003

TUBE NUT,5/16" Tube, 45 Degree Inv Fl

NUT, 1/2-20 inverted flared tube, or

2шт.

222-1003

TUBE NUT,5/16" Tube, 45 Degree Inv Fl

NUT, 1/2-20 inverted flared tube

2шт.

22

1502067C1

TUBE ASSY.

TUBE ASSY, crossover

1шт.

23

1502069C1

PIPE

ASSY, clearance

2шт.

538393R1

FILLER CAP

PLUG, fuel tank vent pipe flange

1шт.

Выбрано товаров: 49