Запчасти Case IH 385 (12-24) - POWER, CYLINDER HEAD, VALVES AND STUDS Power

Схема запчастей Case IH 385 - (12-24) - POWER, CYLINDER HEAD, VALVES AND STUDS Power
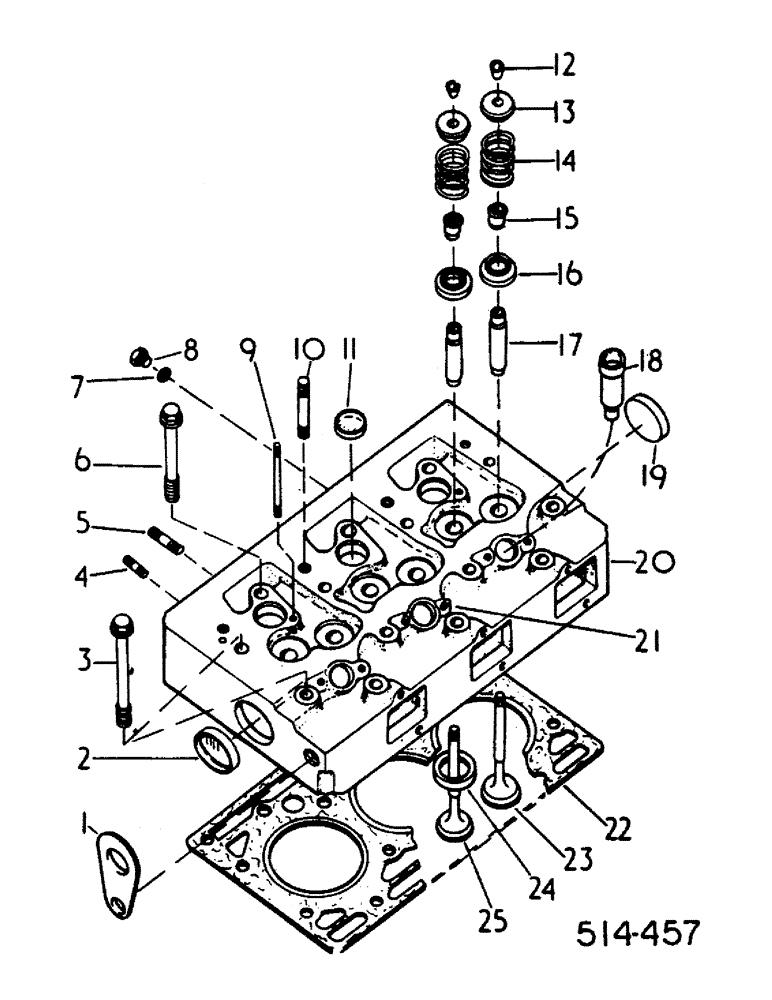
7
13
11
23
16
9
12
19
14
15
3
25
10
20
18
22
6
2
8
17
5
4
21
24
1
FIT
1:1
100%

Артикул

Название

Примечание

Количество

1

3055370R1

STIRRUP

SHACKLE, engine mounting front

1шт.

13-1218

BOLT,Hex, 3/4" - 10 x 1-1/8", Gr 5

3/4 x 1-1/8 pln type 5

1шт.

2

934003R1

PLUG,M52, Conical

expansion

1шт.

3

3138748R1

BOLT,Flng, 9/16" - 12 x 5-3/4"

BOLT, cylinder head

8шт.

4

179817

BOLT,Hex, 5/16" - 18 x 7/8", Gr 5, Full Thd

Water collecting pipe replaces stud 3055221R1 Hex, 5/16"-18 x 7/8", G5, Full Thd

6шт.

5

3055663R1

STUD

exhaust manifold

6шт.

6

3138747R1

BOLT,Cyl Hd, 9/16" - 12 x 123mm

cylinder head

6шт.

7

718743R1

SEALING RING,M10 x 16 x 1

Ring, Packing M10 x 16 x 1

1шт.

8

934259R1

PLUG,Hex, M10 x 1

Drain Hex, M10 x 1

1шт.

9

187953

BOLT,Hex, 5/16" - 18 x 4 1/2", Gr 5

Valve housing cover Hex, 5/16"-18 x 4 1/2", G5

2шт.

10

179894

BOLT,Hex, 1/2" - 13 x 3 1/4", Gr 5

Rocker shaft bracket Hex, 1/2"-13 x 3 1/4", G5

4шт.

11

933537R1

PLUG,M25, Conical

expansion

3шт.

12

3055057R91

ROCKER ARM COTTER

KEY ASSY, spring lock valve

12шт.

13

3055058R2

SPRING CUP

CAP, valve spring retainer

6шт.

14

3055060R1

SPRING

valve

6шт.

15

3218399R91

GASKET KIT

PACKAGE, valve seal service, consists of six valve stem seals and installation sleeve

1шт.

16

3055059R91

CAP

ROTOCAP, valve

6шт.

17

3055022R2

VALVE GUIDE

GUIDE, valve stem

6шт.

18

3055344R1

SLEEVE

INSERT, nozzle holder

3шт.

19

934003R1

PLUG,M52, Conical

expansion

1шт.

20

3055366R96

HEAD (CYLINDER)

HEAD ASSY, guides and studs cylinder

1шт.

21

(Not used this application)

1шт.

22

3228361R1

CYLINDER HEAD GASKET

cylinder head

1шт.

23

3055055R2

OVERSIZE INLET VALVE

VALVE, intake

3шт.

24

3132361R1

INSERT

exhaust valve seat .40mm/.016 inch O/S

3шт.

24

3132362R1

VALVE SEAT

INSERT, exhaust valve seat .15mm/.006 inch O/S

3шт.

25

3055056R2

STD EXHAUST VALVE

VALVE, exhaust

3шт.

Выбрано товаров: 0