Запчасти Case IH 4240 (6-038) - REAR FRAME, TOP COVER CONNECTIONS (06) - POWER TRAIN

Схема запчастей Case IH 4240 - (6-038) - REAR FRAME, TOP COVER CONNECTIONS (06) - POWER TRAIN
6
17
9
14
13
10
5
2
11
4
8
3
12
18
5
1
7
FIT
1:1
100%

Артикул

Название

Примечание

Количество

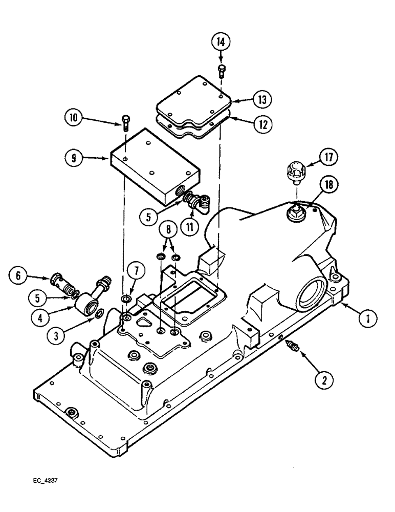
1

REF

INSTRUCTION

COVER ASSEMBLY - rear frame (See Figure 6-36)

1шт.

2

82301R1

BLEEDER,3/8" - 24 x 117mm

- brake bleed

2шт.

3

238-6021

O-RING,15/16 X 1 - 1/16, Cl 6

1шт.

4

66762C1

PIPE,0.625" OD, 3.5" Length

TUBE ASSEMBLY - inlet union

1шт.

5

237-6010

O-RING,0.097" Thk x 0.755" ID, -910, Cl 6, 90 Duro

10-1, 90 Duro, .755" ID x .097" Thk

2шт.

6

66766C1

PLUG

- inlet union

1шт.

7

238-6115

O-RING,0.103" Thk x 0.674" ID, -115, Cl 6, 90 Duro

1шт.

8

238-5113

O-RING,0.103" Thk x 0.549" ID, -113, Cl 5, 75 Duro

2шт.

9

529382R1

MANIFOLD

- auxiliary valve

1шт.

10

413-632

BOLT,Hex, 3/8" - 16 x 2", Gr 5

- hex, 3/8 NC x 2 inch

4шт.

11

218-5107

90 ELBOW,90 Degree Elbow, 7/8" - 14 Male JIC x 7/8" - 14 Male ORB

- 90 degree, 7/8-14 inch flare x Adj O-Ring boss

1шт.

12

1970892C1

GASKET

- linkage access cover

1шт.

13

140942A1

COVER

- linkage access

1шт.

14

413-48

BOLT,Hex, 1/4" - 20 x 1/2", Gr 5

- hex, 1/4 NC x 1/2 inch

5шт.

17

1971726C1

BREATHER,1/4" - 18

- hydraulic unit housing, 1/4 inch PT

1шт.

18

1537543C1

ADAPTER

PLUG - square head, 1-1/4 inch PT with breather

1шт.

Выбрано товаров: 16