Запчасти Case IH 4240 (2-74) - OIL PAN (02) - ENGINE

Схема запчастей Case IH 4240 - (2-74) - OIL PAN (02) - ENGINE
4
3
11
4
7
8
10
6
5
4
9
1
4
2
FIT
1:1
100%

Артикул

Название

Примечание

Количество

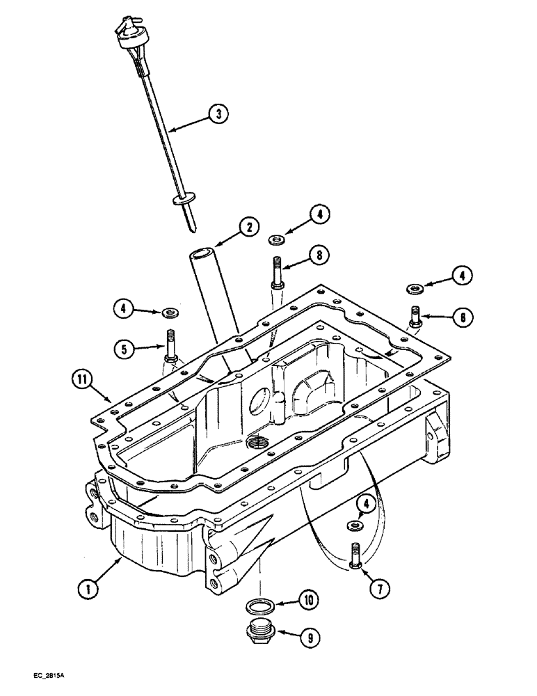
1

1806777C91

PAN, ENGINE OIL

PAN - oil (4210)

1шт.

1

1806867C91

PAN, ENGINE OIL

PAN - oil (4230/4240), Includes: Ref. 2

1шт.

2

3136241R1

TUBE,29.556 mm OD, 250 mm Length

PIPE - oil fill

1шт.

3

1329040C3

DIPSTICK,260mm L

GAUGE - oil level

1шт.

4

396-21034

WASHER,8.74mm ID x 17.48mm OD x 2.26mm Thk

- flat, 11/32 x 11/16 x 3/32 inch, hardened

22шт.

5

326-548

BOLT,Hex, 5/16" - 18 x 3", Gr 8

(4210) Hex, 5/16"-18 x 3", G8

2шт.

5

413-548

BOLT,Hex, 5/16" - 18 x 3", Gr 5

- hex, 5/16 NC x 3 inch

2шт.

6

181089

BOLT,Hex, 5/16" - 18 x 1 1/8", Gr 5

- hex, 5/16 NC x 1-1/8 inch

1шт.

7

413-568

BOLT,Hex, 5/16" - 18 x 4-1/4", Gr 5

- hex, 5/16 NC x 4-1/4 inch

2шт.

7

313-516

BOLT,Hex, 5/16" - 18 x 1", Gr 5

- hex, 5/16 NC x 1 inch grade 8 (4210)

2шт.

8

26-556

BOLT,Hex, 5/16" - 18 x 3-1/2", Gr 8

- hex, 5/16 NC x 3-1/2 inch (4230/4240)

1шт.

9

3132544R2

PLUG

- filler, drain

1шт.

10

933608R1

SEALING RING,M26 x 31 x 2

WASHER, SEALING, M26 x 31 x 2

1шт.

Included In The Crankcase Gasket Kit On Figure 2-78.

1шт.

11

3055161R3

OIL PAN GASKET SET

- oil pan (4210)

1шт.

Included In The Crankcase Gasket Kit On Figure 2-78.

1шт.

11

3144697R2

OIL PAN GASKET SET

- oil pan (4230/4240)

1шт.

Included In The Crankcase Gasket Kit On Figure 2-78.

1шт.

Выбрано товаров: 18