Запчасти Case IH 433 (12-12) - EXHAUST - 433/533/633 - Power

Схема запчастей Case IH 433 - (12-12) - EXHAUST - 433/533/633 - Power
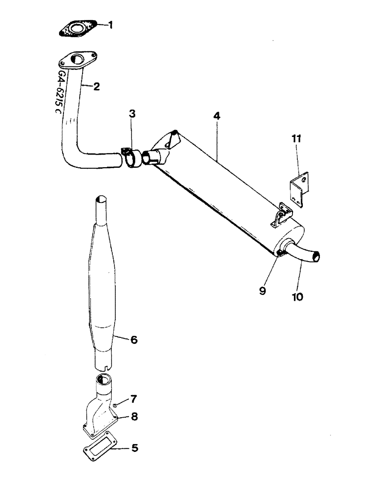
6
1
2
5
10
8
7
11
3
9
4
FIT
1:1
100%

Артикул

Название

Примечание

Количество

1

3058005R1

SEAL

1шт.

2

3217587R92

PIPE

EXHAUST - 433/533

1шт.

2

3217589R92

PIPE

EXHAUST - 633

1шт.

180122

BOLT,Hex, 3/8" - 16 x 1", Gr 5

2шт.

120382

LOCK WASHER,Helical Spring, 3/8"

2шт.

3

710522R1

CLAMP

EXHAUST PIPE

1шт.

180081

BOLT,Hex, 5/16"-18 x 1 1/4", G5

1шт.

80681

LOCK WASHER,5/16"

1шт.

120376

NUT,5/16"-18, G5

1шт.

4

3223402R1

MUFFLER

1шт.

4

3217428R91

MUFFLER

CPTE. - WITH: 10-11

1шт.

271713

2шт.

5

3136248R1

MANIFOLD GASKET,0.5mm Thk

1шт.

6

3401224R1

MUFFLER

1шт.

7

20285H

WASHER

1шт.

8

3399348R1

PIPE, EXHAUST SYSTEM

PIPE, EXHAUST

1шт.

413-616

BOLT,Hex, 3/8" - 16 x 1", Gr 5

4шт.

9

3223404R1

CLAMP

EXHAUST PIPE

1шт.

930108R1

BOLT,Hex, M8 x 1.25 x 20mm, Cl 8.8, Full Thd

1шт.

934236R1

LOCK WASHER,M8

1шт.

43362

NUT,M8 x 1.25, Cl 10

1шт.

10

3223403R1

PIPE

EXHAUST

1шт.

11

3223401R1

ANGLE

1шт.

Выбрано товаров: 23