Запчасти Case IH 433 (10-43) - HYDRAULIC PUMP - BOSCH - (07) - HYDRAULICS

Схема запчастей Case IH 433 - (10-43) - HYDRAULIC PUMP - BOSCH - (07) - HYDRAULICS
1
1
2
4
1
1
2
1
2
3
1
2
1
5
FIT
1:1
100%

Артикул

Название

Примечание

Количество

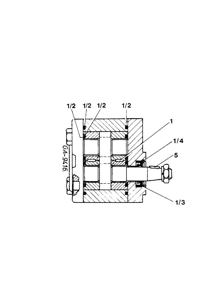
3145248R93

HYDRAULIC PUMP,8 CC

CPTE. CONSISTS OF: ITEMS 1 - 5

1шт.

933834R1

LOCK WASHER,M12

1шт.

934945R1

NUT,Thin, M12 x 1.5, Cl 04

1шт.

1

3216609R91

SEAL

PACKAGE, (-"BOSCH" FD 630)

1шт.

1

3223963R91

SEAL KIT

PACKAGE, ("BOSCH" FD 631-821) - AS REQUIRED

1шт.

2

3230866R91

SEAL KIT

PACKAGE, ("BOSCH" FD 822-) - AS REQUIRED

1шт.

3

3230864R1

O-RING

SEAL, OIL

1шт.

4

933031R1

SNAP RING,M30, Int

RING, LOCK

1шт.

5

932618R1

WOODRUFF KEY,3mm x 5mm x 12.65mm

1шт.

Выбрано товаров: 9