Качественные детали и логистика
Оригинальные и аналоговые запчасти с доставкой по России, Казахстану и Беларуси
©2022 PartSell ООО "Система" ИНН 2463123282 ОГРН 1212400004838
Центральный офис: г. Красноярск, Академика Киренского, д.87, пом.4
Телефон: 8 (800) 777-65-74 Email: zakaz@partsell.ru
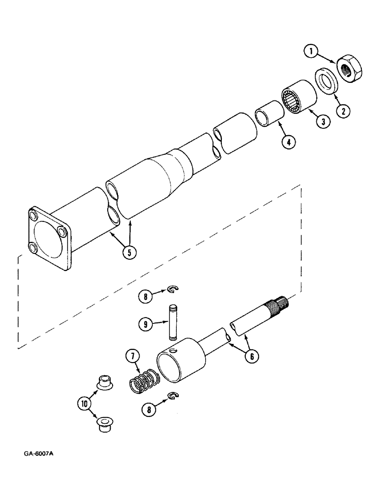
(5-252) - STEERING COLUMN FOR POWER STEERING
№
Артикул
Название
Примечание
Количество
NSS
NOT SOLD SEPARAT
HOUSING, steering column, Consists of: 1-10
1шт.
1
934726R1
NUT
M16
2
3217893R1
RING
3
BEARING
4
3217890R1
BUSHING
5
3217896R1
PEDESTAL
6
3217892R1
SPINDLE
SPARE PART
7
3217889R1
SPRING
8
934030R1
CIRCLIP,M7
retaining
2шт.
9
3217263R1
PIN
10
3217262R1
Выбрано товаров: 0