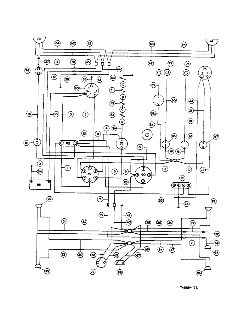
Запчасти Case IH 434 (7-23) - ELECTRICAL SYSTEM, HI-CLEAR, DIESEL - HIGH CLEARANCE (04) - ELECTRICAL SYSTEMS

Схема запчастей Case IH 434 - (7-23) - ELECTRICAL SYSTEM, HI-CLEAR, DIESEL - HIGH CLEARANCE (04) - ELECTRICAL SYSTEMS
95
17
62
34
23
3
9
64
1
11
88
94
27
33
41
75
20
80
62
78
73
18
54
76
44
55
29a
85
4
14
7
37
22
38
50
77
81
63
10
26
97
19
79
70
43
89
51
25
31
36
82
63
56
91
64
92
96
67
5
12
68
71
90
83
39
35
61
6
28
30
15
64
32
53
16
40
24
66
86
45
93
13
21
2
74
29
52
8
69
72
65
87
FIT
1:1
100%

Артикул

Название

Примечание

Количество

3072685R92

HARNESS

main cable, comprising:

1шт.

1

CABLE, key switch term 1 to circuit breaker (Red)

1шт.

2

CABLE, key switch term 4 to starter S term (Red/Black)

1шт.

3

CABLE, key switch term 3 to indicator resistor (Brown)

1шт.

4

CABLE, key switch term 6 to indicator resistor (Brown/Yellow)

1шт.

5

CABLE, starter "B" term to circuit breaker (Red)

1шт.

6

CABLE, key switch term 2 to warning light conn. (Brown/White)

1шт.

7

CABLE, circuit breaker to rear conn. (Red/White)

1шт.

8

CABLE, light switch term 1 to circuit breaker (Green)

1шт.

9

CABLE, light switch term 2 to panel lamp conn. (Blue/Green)

1шт.

10

CABLE, light switch term 2 to rear conn. (Red)

1шт.

11

CABLE, light switch term 3 to front conn. (Blue/Red)

1шт.

12

CABLE, light switch term 4 to front conn. (Blue/Yellow)

1шт.

13

CABLE, circuit breaker to horn button (Green)

1шт.

14

CABLE, horn to horn button (Violet/Black)

1шт.

15

CABLE, circuit breaker to key switch term 5 (Green)

1шт.

16

CABLE, oil warning lamp to warning lights conn. (Green)

1шт.

17

CABLE, gen. warning lamp to warning lights conn. (Green)

1шт.

18

CABLE, oil warning light to oil press. switch (Green/Yellow)

1шт.

19

CABLE, warning lights conn. to speed amp. warning light (Green)

1шт.

20

CABLE, speed amp. press. switch to speed amp. warning light (Green/Brown)

1шт.

21

CABLE, gen. warning lamp to gen. "D" term (Yellow)

1шт.

22

CABLE, reg. "D" term to gen. "D" term" (Yellow)

1шт.

23

CABLE, reg. "F" term to gen. "F" term" (Yellow/Green)

1шт.

24

CABLE, reg. "E" term to earth (Black)

1шт.

25

CABLE, reg. "A" term to circuit breaker (Brown/Red)

1шт.

26

CABLE, indicator resistor to No. 4 glow plug (Black)

1шт.

27

CABLE, horn to earth (Black)

1шт.

28

CABLE, front conn. to earth (Black)

1шт.

29

CABLE, temp. trans. to heat ind. (Green/Blue)

1шт.

29a

CABLE, heat indicator to warning lt. conn. (Green)

1шт.

3071676R91

CABLE, assy., lights side and rear, comprising:

1шт.

30

CABLE, rear lights feed conn. to LH side lamp (Red)

1шт.

31

CABLE, rear lights earth conn. to LH side lamp (Black)

1шт.

32

CABLE, rear lights earth conn. to LH rear lamp (Black)

1шт.

33

CABLE, rear lights feed conn. to LH rear lamp (Red)

1шт.

34

CABLE, rear lights feed conn. to RH side lamp (Red)

1шт.

35

CABLE, rear lights earth conn. to RH side lamp (Black)

1шт.

36

CABLE, rear lights earth conn. to RH rear lamp (Black)

1шт.

37

CABLE, rear lights feed conn. to RH rear lamp (Red)

1шт.

38

CABLE, rear lights earth conn. to plough lamp conn. (Black)

1шт.

39

CABLE, rear connection to plough lamp conn. (Red/White)

1шт.

40

CABLE, rear connection to rear lights feed conn. (Red)

1шт.

41

CABLE, rear lights earth conn. to earth (Black)

1шт.

42

NOT USED

1шт.

43

LEAD, raised head light conn. to front conn. (Black)

1шт.

44

LEAD, raised head light conn. to front conn. (Green)

1шт.

45

LEAD, raised head light conn. to front conn. (Red)

1шт.

46

NOT USED

1шт.

47

NOT USED

1шт.

48

NOT USED

1шт.

49

NOT USED

1шт.

50

3065070R1

ELECTRICAL WIRE

WIRE, earth to No. 1 glow plug (Nichrome wire)

1шт.

51

708127R2

ELECTRICAL WIRE

WIRE, No. 1 glow plug to No. 2 glow plug (Nichrome wire)

1шт.

52

708128R1

SPARE PART

WIRE, No. 2 glow plug to No. 3 glow plug (Nichrome wire)

1шт.

53

708127R1

SPARE PART

WIRE, No. 3 glow plug to No. 4 glow plug (Nichrome wire)

1шт.

54

3071051R92

CABLE

battery positive to earth (Tinned Copper Braid)

1шт.

55

3070496R91

CABLE

battery negative to starter "B" term (Black PVC Sheath)

1шт.

56

3061346R91

CABLE, starter "E" term to earth (Tinned Copper Sheath)

1шт.

57

NOT USED

1шт.

58

NOT USED

1шт.

59

NOT USED

1шт.

60

NOT USED

1шт.

61

CABLE. panel lamp conn. to panel lamp (Black)

1шт.

CABLE assy., head lamp, comprising:

1шт.

62

CABLE head lamp main to front conn. (Blue/Red)

1шт.

63

CABLE, head lamp dip to front conn. (Blue/Yellow)

1шт.

64

CABLE, head lamp earth to front conn. (Black)

1шт.

CABLE assy., power socket, comprising

1шт.

65

CABLE, rear light conn. to power socket (Red)

1шт.

66

CABLE, rear light conn. to power socket (Black)

1шт.

CABLE assy., registration number plate lamp, comprising:

1шт.

67

CABLE, rear light conn. to reg. No. plate lamp (Red)

1шт.

68

CABLE, rear light conn. to reg. No. plate lamp (Black)

1шт.

CABLE, assy., plough lamp, comprising:

1шт.

69

CABLE, plough lamp conn to plough lamp (Red)

1шт.

70

CABLE, plough lamp conn to plough lamp (Black)

1шт.

3072035R91

CABLE, assy., plough lamp to main harness, comprising:

1шт.

71

CABLE, RH fender conn. to plough lamp (Red)

1шт.

72

CABLE, RH fender conn.to plough lamp (Black)

1шт.

73

HEADLAMP, w/CABLE, LH (see detail list), Components

1шт.

74

HEADLAMP, w/CABLE, RH (see detail list), Components

1шт.

75

GENERATOR (see detail list), Components

1шт.

76

SWITCH, oil pressure, see Electrical Instruments, Components

1шт.

77

SWITCH, speed amp. pressure (see Speed Amp. Attach.), Components

1шт.

78

CONNECTOR, two way w/Harness, Components

6шт.

79

HORN (see detail list), Components

1шт.

80

MOTOR, starter (see detail list), Components

1шт.

81

HORN, push, see Electrical Instruments, Components

1шт.

82

BREAKER, circuit, see Electrical Instruments, Components

1шт.

83

RESISTOR, indicator, see Electrical Instruments, Components

1шт.

84

LAMP, panel, see Electrical Instruments, Components

1шт.

85

LAMP, speed amp. warning (see Speed Amp. Attach.), Components

1шт.

86

LAMP, oil pressure warning, see Electrical Instruments, Components

1шт.

87

LAMP, generator warning, see Electrical Instruments, Components

1шт.

88

BATTERY, 12 volt, Components

1шт.

89

SWITCH, key, see Electrical Instruments, Components

1шт.

90

SWITCH, light, see Electrical Instruments, Components

1шт.

91

REGULATOR (see Regulator) 12 volt., Components

1шт.

92

LAMP, side L.H., 12 V, 6 W, see Lamps, Side and Rear (Hi-Clear) Components

1шт.

93

LAMP, side R.H., 12 V, 6 W, see Lamps, Side and Rear (Hi-Clear) Components

1шт.

94

LAMP, plough (see detail list), Components

1шт.

95

LAMP, rear L.H., 12 V, 6 W, see Lamps, Side and Rear (Hi-Clear) Components

1шт.

96

LAMP, rear R.H., 12 V, 6 W, see Lamps, Side and Rear (Hi-Clear) Components

1шт.

97

POWER SOCKET, see Registration Lamp and Reflectors, Components

1шт.

98

LAMP, registration, see Registration Lamp and Reflectors, Components

1шт.

3040886R91

CONDUIT, cable front, Components

1шт.

3040887R91

CONDUIT, cable L.H., Components

1шт.

705897R1

CONNECTOR, ELEC

CONNECTOR, one way Plough Lamp, Components

2шт.

708113R1

CLIP

cable, Components

2шт.

708114R1

CLIP, cable, Components

1шт.

708115R1

PLATE ASSY.

CLIP, cable, Components

7шт.

708117R1

NO LONGER SERVICED

CLIP, cable, Components

2шт.

3067821R1

CLIP, cable, Components

3шт.

179793

BOLT,Hex, 1/4" - 20 x 5/8", Gr 5, Full Thd

Components Hex, 1/4"-20 x 5/8", G5, Full Thd

1шт.

120375

NUT,Hex, 1/4" - 20, Gr 5

Components 1/4"-20, G5

1шт.

103319

LOCK WASHER,1/4"

WASHER, LOCK, , w/Clips on volt. reg. support plate, components 1/4"

1шт.

179796

BOLT,Hex, 1/4" - 20 x 7/8", Gr 5

hex-hd., 1/4" x 7/8", Components

2шт.

120375

NUT,Hex, 1/4" - 20, Gr 5

Components 1/4"-20, G5

2шт.

103319

LOCK WASHER,1/4"

WASHER, LOCK, , w/Fender spacer clip, components 1/4"

2шт.

88542

BOLT,Hex, 1/4"-20 x 1/2", Gr 5

hex-hd., 1/4" x 1/2", Components

4шт.

120375

NUT,Hex, 1/4" - 20, Gr 5

Components 1/4"-20, G5

4шт.

103380

COTTER PIN,3/32" x 2 1/2"

WASHER, lock, 1/4" w/CLIP on Instr. Shroud, Components

4шт.

NLS

NO LONGER SERVICED

Components Hex, 3/8"-16 x 1", G5

1шт.

102635

NUT,3/8"-16, G5

Components 3/8"-16, G5

1шт.

103321

LOCK WASHER,3/8"

WASHER, LOCK, , w/Clip on L.H. fender, Components 3/8"

1шт.

112734

GROMMET, 3/8" Fender, Components 3/8" ID x 11/16" x .062"

5шт.

Выбрано товаров: 127