Запчасти Case IH 434 (7-26) - ELECTRICAL SYSTEM, HI-CLEAR, PETROL - HIGH CLEARANCE (04) - ELECTRICAL SYSTEMS

Схема запчастей Case IH 434 - (7-26) - ELECTRICAL SYSTEM, HI-CLEAR, PETROL - HIGH CLEARANCE (04) - ELECTRICAL SYSTEMS
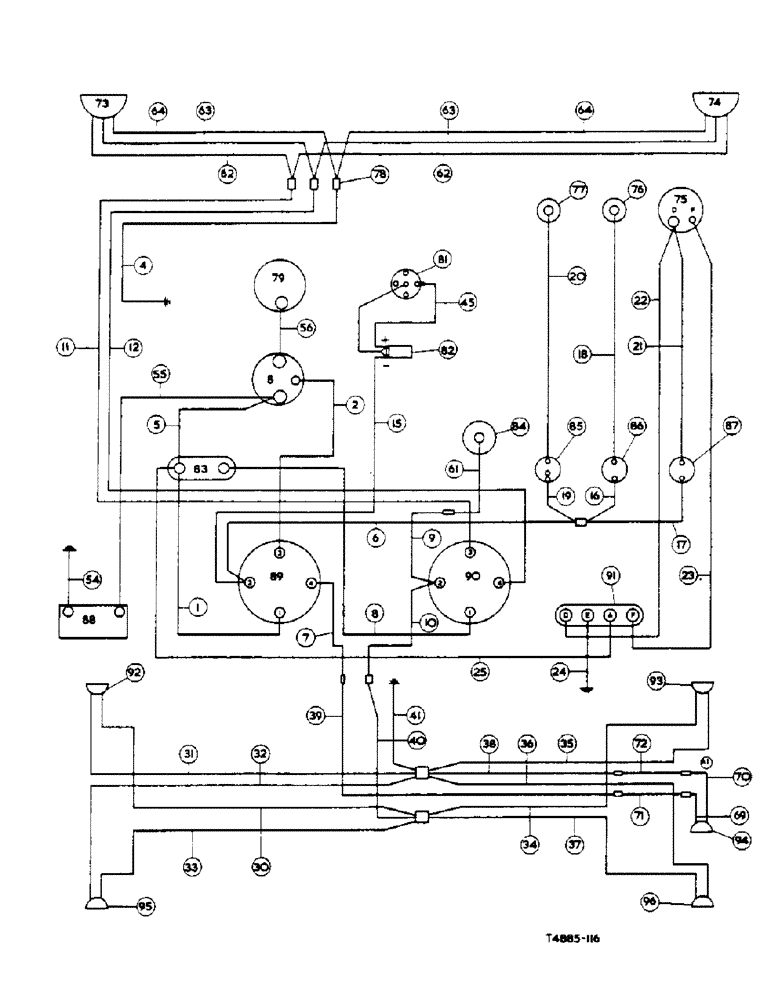
25
19
37
12
71
17
83
76
6
84
69
1
18
36
9
31
64
63
15
62
33
64
38
78
62
23
85
89
8
63
77
91
16
40
30
93
70
45
2
39
74
61
22
5
75
4
87
81
72
35
54
88
96
95
41
73
10
92
82
56
94
86
34
90
24
7
55
32
21
11
20
79
FIT
1:1
100%

Артикул

Название

Примечание

Количество

3071192R92

HARNESS

main cable, comprising:

1шт.

1

CABLE, key switch term 1 to circuit breaker (White)

1шт.

2

CABLE, key switch term 3 to starter sol. term (Red/Black)

1шт.

3

NOT USED

1шт.

4

CABLE, front conn. to earth (Black)

1шт.

5

CABLE, starter sol. term to circuit breaker (Brown/Red)

1шт.

6

CABLE, key switch term 2 to warning lights conn. (Brown/White)

1шт.

7

CABLE, key switch term 4 to rear conn. (Red/White)

1шт.

8

CABLE, light switch term 1 to circuit breaker (Green)

1шт.

9

CABLE, light switch term 2 to panel lamp conn. (Blue/Green)

1шт.

10

CABLE, light switch term 2 to rear conn. (Red)

1шт.

11

CABLE, light switch term 3 to front conn. (Blue/Red)

1шт.

12

CABLE, light switch term 4 to front conn. (Blue/Yellow)

1шт.

13

NOT USED

1шт.

14

NOT USED

1шт.

15

CABLE, coil switch term. to key switch term 2 (Brown/Green)

1шт.

16

CABLE, oil warning lamp to warning lights conn. (Green)

1шт.

17

CABLE, ignition warning lamp to warning lights conn. (Green)

1шт.

18

CABLE, oil warning light to oil pressure switch (Yellow/Green)

1шт.

19

CABLE, warning lights conn. to speed amp. warning light (Green)

1шт.

20

CABLE, speed amp. pressure switch to speed amp. warning light (Green/Brown)

1шт.

21

CABLE, ignition warning lamp to gen. "D" term (Yellow)

1шт.

22

CABLE, reg. "D" term to gen. "D" term (Yellow)

1шт.

23

CABLE, reg. "F" term to gen. "F" term (Yellow)

1шт.

24

CABLE, reg. "E" term to earth (Black)

1шт.

25

CABLE, reg. "A" term to circuit breaker (Brown/Red)

1шт.

26

NOT USED

1шт.

27

NOT USED

1шт.

28

NOT USED

1шт.

29

NOT USED

1шт.

3071676R91

HARNESS, side and rear lamps, comprising:

1шт.

30

CABLE, rear lights feed conn. to LH side lamps (Red)

1шт.

31

CABLE, rear lights earth conn. to LH side lamps (Black)

1шт.

32

CABLE, rear lights earth conn. to LH rear lamp (Black)

1шт.

33

CABLE, rear lights feed conn. to LH rear lamps (Red)

1шт.

34

CABLE, rear lights feed conn. to RH side lamp (Red)

1шт.

35

CABLE, rear lights earth conn. to side lamps (Black)

1шт.

36

CABLE, rear lights earth conn. to RH rear lamp Black)

1шт.

37

CABLE, rear lights feed conn. to RH rear lamps (Red)

1шт.

38

CABLE, rear lights earth conn. to plough lamp (Black)

1шт.

39

CABLE, rear conn. to plough lamp (Red/White)

1шт.

40

CABLE, rear conn. to rear lights feed conn. (Red)

1шт.

41

CABLE, rear lights earth, Serial Range: conn.-earth

1шт.

42

NOT USED

1шт.

43

NOT USED

1шт.

44

NOT USED

1шт.

45

3068975R91

CABLE

coil C.B. term to distributor (White/Black)

1шт.

46

NOT USED

1шт.

47

NOT USED

1шт.

48

NOT USED

1шт.

49

NOT USED

1шт.

50

NOT USED

1шт.

51

NOT USED

1шт.

52

NOT USED

1шт.

53

NOT USED

1шт.

54

3071051R91

GROUND CABLE

CABLE, battery positive to earth (Tinned copper braid)

1шт.

55

3071193R91

CABLE, battery negative to earth (Black PVC Sheath)

1шт.

56

3071191R91

CABLE, starter term to sol. term "S"

1шт.

57

NOT USED

1шт.

58

NOT USED

1шт.

59

NOT USED

1шт.

60

NOT USED

1шт.

61

CABLE, panel lamp conn. to panel lamp (Black)

1шт.

CABLE, assy., headlamp, comprising:

1шт.

62

CABLE, headlamp main to front conn. (Black/Red)

1шт.

63

CABLE, headlamp dip to front conn. (Blue/Yellow)

1шт.

64

CABLE, headlamp earth to front conn. (Black)

1шт.

65

NOT USED

1шт.

66

NOT USED

1шт.

67

NOT USED

1шт.

68

NOT USED

1шт.

CABLE, assy., plough lamp, comprising:

1шт.

69

CABLE, RH fender conn. to plough lamp (Red)

1шт.

70

CABLE, RH fender conn. to plough lamp (Black)

1шт.

3072035R91

CABLE, plough lamp to main harness, comprising:

1шт.

71

CABLE, RH fender conn. to plough lamp conn. (Red)

1шт.

72

CABLE, RH fender conn. to plough lamp conn. (Black)

1шт.

73

HEADLAMP, w/Cable LH (see detail list), components

1шт.

74

HEADLAMP, w/Cable RH (see detail list), components

1шт.

75

GENERATOR (see detail list), components

1шт.

76

SWITCH, oil pressure, components

1шт.

See Electrical Instruments

1шт.

77

SWITCH, speed amp pressure (see Speed amp Attachment), components

1шт.

78

CONNECTOR, two way w/Harness, components

6шт.

79

MOTOR, starter (see detail list), components

1шт.

80

SWITCH, starter solenoid, components

1шт.

See Electrical Instruments

1шт.

81

DISTRIBUTOR (engine) (see detail list), components

1шт.

82

COIL, ignition (engine) (see Ignition), components

1шт.

83

BREAKER, circuit, components

1шт.

See Electrical Instruments

1шт.

84

LAMP, panel, components

1шт.

See Electrical Instruments

1шт.

85

LIGHT, speed amp warning (see Speed amp. Attachment), components

1шт.

86

LAMP, oil pressure warning, components

1шт.

See Electrical Instruments

1шт.

87

LAMP, ignition warning red, components

1шт.

See Electrical Instruments

1шт.

88

BATTERY, 12 volt, components

1шт.

89

SWITCH, ignition, components

1шт.

See Electrical Instruments

1шт.

90

SWITCH, light, components

1шт.

See Electrical Instruments

1шт.

91

REGULATOR, 12 volt (see Regulator), components

1шт.

92

LAMP, side LH, 12 V, 6 W, components

1шт.

See Lamps, Side and Rear (Hi-Clear)

1шт.

93

LAMP, side RH, 12 V, 6 W, components

1шт.

See Lamps, Side and Rear (Hi-Clear)

1шт.

94

LAMP, plough (see detail list), components

1шт.

95

LAMP, rear L.H., 12 V, 6 W, components

1шт.

See Lamps, Side and Rear (Hi-Clear)

1шт.

96

LAMP, rear R.H., 12 V, 6 W, components

1шт.

See Lamps, Side and Rear (Hi-Clear)

1шт.

97

SOCKET, power, components

1шт.

See Registration Lamp & Reflectors

1шт.

98

LAMP, registration, components

1шт.

See Registration Lamp & Reflectors

1шт.

3040886R91

CONDUIT, cable front, components

1шт.

3040887R91

CONDUIT, cable L.H., components

1шт.

705897R1

CONNECTOR, ELEC

CONNECTOR, one way Plough Lamp, components

2шт.

708113R1

CLIP

cable, components

2шт.

708114R1

CLIP, cable, components

1шт.

708115R1

PLATE ASSY.

CLIP, cable, components

7шт.

708117R1

NO LONGER SERVICED

CLIP, cable, components

2шт.

3067821R1

CLIP, cable, components

3шт.

179793

BOLT,Hex, 1/4" - 20 x 5/8", Gr 5, Full Thd

Components Hex, 1/4"-20 x 5/8", G5, Full Thd

1шт.

120375

NUT,Hex, 1/4" - 20, Gr 5

Components 1/4"-20, G5

1шт.

103319

LOCK WASHER,1/4"

WASHER, LOCK, , w/Clip on volt. reg. support plate, components 1/4"

1шт.

NLS

NO LONGER SERVICED

hex-hd., 1/4" x 7/8", components

2шт.

120375

NUT,Hex, 1/4" - 20, Gr 5

Components 1/4"-20, G5

2шт.

103319

LOCK WASHER,1/4"

WASHER, LOCK, , w/Fender spacer clip, components 1/4"

2шт.

88542

BOLT,Hex, 1/4"-20 x 1/2", Gr 5

hex-hd., 1/4" x 1/2", components

4шт.

120375

NUT,Hex, 1/4" - 20, Gr 5

Components 1/4"-20, G5

4шт.

103319

LOCK WASHER,1/4"

WASHER, LOCK, , w/Clip on instr. shroud, components 1/4"

4шт.

179839

BOLT,Hex, 3/8" - 16 x 1", Gr 5

Components Hex, 3/8"-16 x 1", G5

1шт.

102635

NUT,3/8"-16, G5

Components 3/8"-16, G5

1шт.

103321

LOCK WASHER,3/8"

WASHER, LOCK, , w/Clip on L.H. fender, Components 3/8"

1шт.

112734

GROMMET, 3/8" Fender, components 3/8" ID x 11/16" x .062"

5шт.

Выбрано товаров: 138