Запчасти Case IH 434 (1-05) - CYLINDER HEAD AND EXHAUST MANIFOLD - DIESEL ENGINE (02) - ENGINE

Схема запчастей Case IH 434 - (1-05) - CYLINDER HEAD AND EXHAUST MANIFOLD - DIESEL ENGINE (02) - ENGINE
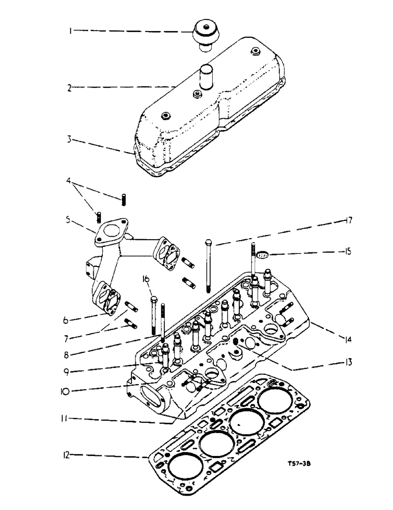
2
5
11
12
3
13
10
7
6
4
15
14
9
8
1
17
16
FIT
1:1
100%

Артикул

Название

Примечание

Количество

1

3049701R91

FILTER, ELEMENT

BREATHER, cyl-hd.

1шт.

2

3064720R11

COVER, cpte., valve housing optional

1шт.

2

703894R21

COVER

cpte., valve housing optional

1шт.

179835

BOLT,Hex, 3/8" - 16 x 5/8", Gr 5, Full Thd

1шт.

102635

NUT,3/8"-16, G5

2шт.

95-11041

WASHER,3/8"

13/32" x 13/16" x 16 ga.

1шт.

3

3069767R1

GASKET

valve cover

1шт.

4

704164R1

STUD

exhaust manifold

2шт.

5

3042719R11

MANIFOLD

w/two STUD 704164R1 cpte., exhaust

1шт.

6

704165R2

MANIFOLD GASKET

exhaust manifold

2шт.

7

703874R1

STUD

exhaust manifold

4шт.

280136

NUT,3/8"-16, G8

Exhaust manifold stud 3/8"-16, G8

4шт.

8

703875R1

STUD

rocker shaft end bracket

2шт.

9

3044493R1

VALVE GUIDE

GUIDE, valve stem exhaust

4шт.

10

3044492R1

VALVE GUIDE

GUIDE, valve stem intake

4шт.

11

703876R2

STUD

injection nozzle holder

8шт.

12

703883R6

GASKET

cyl-hd.

1шт.

3049382R1

GROMMET

cylinder head

1шт.

13

438159

DRAIN PLUG,Sq Hd, 1/2"-14 NPTF

PLUG, sq-hd., cast iron pipe 1/2" optional

1шт.

13

217-519

DRAIN PLUG,Sq Hd, 1/2"-14 NPTF

PLUG, , Cast Iron Pipe - Optional Sq Hd, 1/2"-14 NPTF

1шт.

14

3044489R91

CYLINDER HEAD

HEAD, w/VALVES assy., cyl., comprising

1шт.

3044176R1

CUP

8шт.

3044491R1

CUP

8шт.

3044490R91

HEAD (CYLINDER)

HEAD

1шт.

704443R1

WEDGE

LOCK

16шт.

3044239R1

VALVE SPRING

SPRING

8шт.

3044240R1

VALVE SPRING

SPRING

8шт.

3043826R1

LOCK VALVE

VALVE

4шт.

3040361R1

OVERSIZE INLET VALVE

VALVE

4шт.

14

3044490R91

HEAD (CYLINDER)

HEAD, less/VALVES assy., cyl., comprising

1шт.

3044492R1

VALVE GUIDE

GUIDE

4шт.

3044493R1

VALVE GUIDE

GUIDE

4шт.

172558

PLUG,Exp, 1 1/4"

2шт.

703874R1

STUD

4шт.

703875R1

STUD

2шт.

703876R2

STUD

8шт.

15

172558

PLUG,Exp, 1 1/4"

expansion

2шт.

16

708331R1

BOLT

BOLT, cyl-hd., short

15шт.

17

708332R1

BOLT,Cyl Hd

cyl-hd., long

1шт.

63116D

WASHER

cyl-hd. bolt

16шт.

Выбрано товаров: 0