Запчасти Case IH 434 (3-02) - ELECTRICAL SYSTEM, DIESEL - ELECTRICAL (04) - ELECTRICAL SYSTEMS

Схема запчастей Case IH 434 - (3-02) - ELECTRICAL SYSTEM, DIESEL - ELECTRICAL (04) - ELECTRICAL SYSTEMS
77
88
29a
14
67
63
28
76
16
13
29
4
10
18
62
24
68
11
12
23
90
8
93
93
83
22
64
39
40
38
15
94
1
41
32
87
7
19
70
71
9
81
74
5
64
86
78
51
25
50
8
17
62
55
65
79
64
6
20
95
27
36
2
80
37
73
92
61
98
54
93
34
84
92
30
91
75
93
97
89
56
92
82
53
31
26
72
69
35
96
63
52
92
33
85
21
FIT
1:1
100%

Артикул

Название

Примечание

Количество

3072685R92

HARNESS

main cable 434/12850 up, 434NT/714 up, comprising:

1шт.

3070495R91

WIRE HARNESS

HARNESS, main cable up to 434/12849, up to 434NT/713, comprising:

1шт.

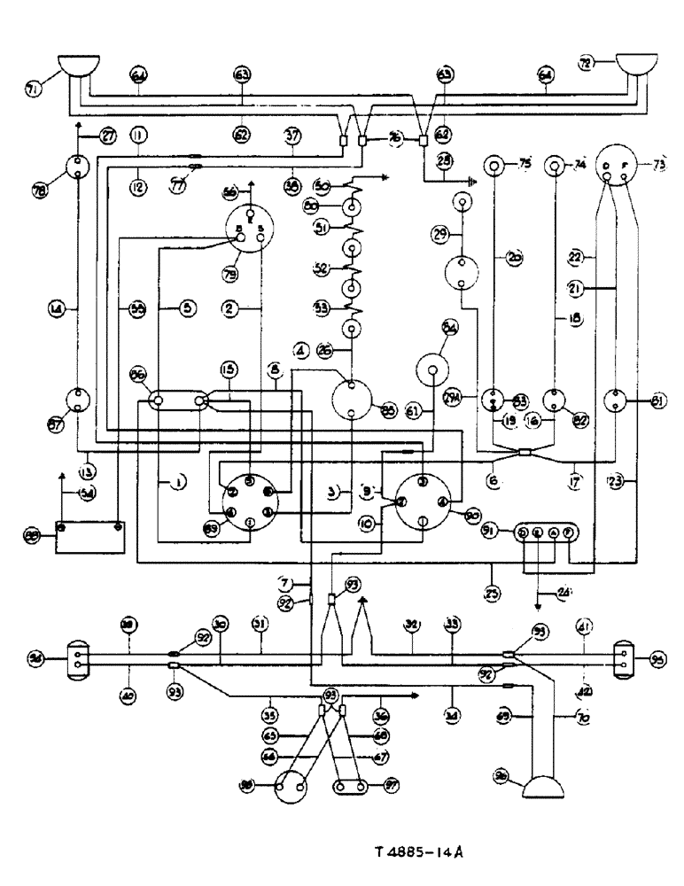
1

CABLE, key switch term. 1 to circuit breaker (Red)

1шт.

2

CABLE, key switch term. 4 to starter "S" term. (Red/Black)

1шт.

3

CABLE, key switch term. 3 to indicator resistor (Brown)

1шт.

4

CABLE, key switch term. 6 to indicator resistor (Brown/Yellow)

1шт.

5

CABLE, starter "B" term. to circuit breaker (Red)

1шт.

6

CABLE key switch term. 2 to warning light conns. (Brown/White)

1шт.

7

CABLE, circuit breaker to rear conns. (Red/White)

1шт.

8

CABLE, light switch term. 1 to circuit breaker (Green)

1шт.

9

CABLE, light switch term. 2 to panel lamp conn. (Blue/Green)

1шт.

10

CABLE, light switch term 2 to rear conns. (Red)

1шт.

11

CABLE, light switch term. 3 to front conns. (Blue/Red)

1шт.

12

CABLE, light switch term. 4 to front conns. (Blue/Yellow)

1шт.

13

CABLE, circuit breaker to horn button (Green)

1шт.

14

CABLE, horn to horn button (Violet/Black)

1шт.

15

CABLE, circuit breaker to key switch term. 5 (Green)

1шт.

16

CABLE, oil warning lamp to warning light conn. (Green)

1шт.

17

CABLE, gen. warning lamp to warning light conn. (Green)

1шт.

18

CABLE, oil warning lamp to oil pressure switch (Green/Yellow)

1шт.

19

CABLE, warning light conn. to speed amp. warning light (Green)

1шт.

20

CABLE, speed amp, pressure switch to speed amp. warning light (Green/Brown)

1шт.

21

CABLE, gen. warning lamp to gen. "D" term. (Yellow)

1шт.

22

CABLE, regulator "D" term. to gen. "D" term. (Yellow)

1шт.

23

CABLE, regulator "F" term. to gen. "F" term. (Yellow/Green)

1шт.

24

CABLE, regulator "E" term. to earth (Black)

1шт.

25

CABLE, regulator "A" term. to circuit breaker (Brown/Red)

1шт.

26

CABLE, indicator resistor to No. 4 glow plug (Black)

1шт.

27

NOT USED

1шт.

28

CABLE, front conns. to earth (Black)

1шт.

29

CABLE, heat indicator to temp. trans.(Green/Blue)

1шт.

29a

CABLE, heat indicator to warning lt. conn. (Green)

1шт.

3072937R91

HARNESS, assy., side and tail 434/15120 up, comprising:

1шт.

3071053R91

CABLE, assy. up to 434/15119, comprising:

1шт.

30

CABLE, rear conns. to L.H. fender conns. (Red)

1шт.

31

CABLE, earth to L.H. fender conns. (Black)

1шт.

705902R91

CABLE

assy., up to 434/15119, comprising:-

1шт.

32

CABLE, earth to R.H. fender conns. (Black)

1шт.

33

CABLE, rear conns. to R.H. fender conns. (Red)

1шт.

34

CABLE, rear conns. to R.H. fender conns. (Green)

1шт.

35

3071054R91

CABLE, L.H. fender conns. to reg. plate conns. (Red), Serial Range: up-434/15119

1шт.

36

709483R91

CABLE

reg. plate conns. to earth (Black), Serial Range: up-434/15119

1шт.

CABLE, assy., (Canada only) (see Special part attach.)

1шт.

37

CABLE, raised headlamp conns. to front conns. (Red)

1шт.

38

CABLE, raised headlamp conns. to front conns. (Green)

1шт.

CABLE, raised headlamp conns. to front conns. (see Ref. 43) (Black)

1шт.

CABLE, assy., pre-wired 434D/10700 up, 434NT/714 up

1шт.

3069383R91

ELBOW

CABLE, assy., w/ELBOW up to 434D/10699, up to 434NT/713, comprising:

1шт.

39

CABLE, L.H. fender conns. to side and tail lamp L.H. (Black)

1шт.

40

CABLE, L.H. fender conns. to side and tail lamp L.H. (Red)

1шт.

CABLE, assy., pre-wired 434D/10700 up, 434NT/714 up

1шт.

3069383R91

ELBOW

CABLE, assy., w/ELBOW up to 434D/10699, up to 434NT/713, comprising:

1шт.

41

CABLE, R.H. fender conns. to side and tail lamp R.H. (Black)

1шт.

42

CABLE, R.H. fender conns. to side and tail lamp R.H. (Red)

1шт.

43

CABLE, raised headlamp conn. to front conns.

1шт.

44

NOT USED

1шт.

45

NOT USED

1шт.

46

NOT USED

1шт.

47

NOT USED

1шт.

48

NOT USED

1шт.

49

NOT USED

1шт.

50

3065070R1

ELECTRICAL WIRE

CABLE, earth to No. 1 glow plug

1шт.

51

708127R2

ELECTRICAL WIRE

CABLE, No. 1 glow plug to No. 2 glow plug

1шт.

52

708128R1

SPARE PART

CABLE, No. 2 glow plug to No. 3 glow plug

1шт.

53

708127R2

ELECTRICAL WIRE

CABLE, No. 3 glow plug to No. 4 glow plug

1шт.

54

3071051R92

CABLE

positive to earth battery

1шт.

55

3070496R91

CABLE

negative to starter "B" term. battery

1шт.

56

3061346R91

CABLE, starter "E", Serial Range: term.-earth

1шт.

57

NOT USED

1шт.

58

NOT USED

1шт.

59

NOT USED

1шт.

60

NOT USED

1шт.

61

CABLE, panel lamp conn. to panel lamp (Black)

1шт.

CABLE, headlamp, assy., comprising:

1шт.

62

CABLE, headlamp main to front conns. (Blue/Red)

1шт.

63

CABLE, headlamp dip to front conns. (Blue/Yellow)

1шт.

64

CABLE, headlamp earth to earth (Black)

1шт.

CABLE, assy., power socket, comprising:

1шт.

65

CABLE, reg. plate conns. to power socket (Red)

1шт.

66

CABLE, reg. plate conns. to power socket (Black)

1шт.

CABLE, reg. plate, comprising:

1шт.

67

CABLE, reg. plate conns. to reg. No. plate lamp (Red)

1шт.

68

CABLE, reg. plate conns.to reg. No. plate lamp (Black)

1шт.

CABLE, plough lamp, comprising:

1шт.

69

CABLE, R.H. fender conns. to plough lamp (Red)

1шт.

70

CABLE, R.H. fender conns. to plough lamp (Black), components

1шт.

71

HEADLAMP, w/CABLES L.H. (see detail list), components

1шт.

72

HEADLAMP, w/CABLES R.H. (see detail list), components

1шт.

73

GENERATOR, (see detail list), components

1шт.

74

SWITCH, oil pressure, components

1шт.

See Electrical Instruments/Electrical Miscellaneous

1шт.

75

SWITCH, speed amp. pressure (see Speed Amp Attach), components

1шт.

76

CONNECTOR, two way, components

3шт.

77

705897R1

CONNECTOR, ELEC

CONNECTOR, single, components

2шт.

78

HORN, (see Reg. Plate and Horn), components

1шт.

79

MOTOR, starter (see detail list), components

1шт.

80

710348R1

GLOW PLUG

PLUG, glow, components

4шт.

710474R1

ISOLATOR

INSULATOR, glow plug, components

4шт.

3047624R1

NUT

terminal, components

1шт.

81

LIGHT, generator warning, components

1шт.

See Electrical Instruments/Electrical Miscellaneous

1шт.

82

LIGHT, oil warning, components

1шт.

See Electrical Instruments/Electrical Miscellaneous

1шт.

83

LIGHT, speed amp warning (see speed amp. attach.), components

1шт.

84

LAMP, panel, components

1шт.

See Electrical Instruments/Electrical Miscellaneous

1шт.

85

RESISTOR, indicator, components

1шт.

See Electrical Instruments/Electrical Miscellaneous

1шт.

86

BREAKER, circuit, components

1шт.

See Electrical Instruments/Electrical Miscellaneous

1шт.

87

BUTTON, horn, components

1шт.

See Electrical Instruments/Electrical Miscellaneous

1шт.

88

BATTERY, 12 V, components

1шт.

89

SWITCH, key, components

1шт.

See Electrical Instruments/Electrical Miscellaneous

1шт.

90

SWITCH, light, components

1шт.

See Electrical Instruments/Electrical Miscellaneous

1шт.

91

REGULATOR, 12 V (see Regulator), components

1шт.

92

CONNECTCR, single w/Hamess, components

4шт.

93

CONNECTOR, two way w/Hamess, components

5шт.

94

LAMP, side and tail L.H. (see detail list), components

1шт.

95

LAMP, side and tail R.H. (see detail list), components

1шт.

96

LAMP, plough (see detail list), components

1шт.

97

LIGHT, reg. No. plate, components

1шт.

See Side Lamps and Miscellaneous

1шт.

98

SOCKET, power, components

1шт.

See Side Lamps and Miscellaneous

1шт.

3040886R1

CONDUIT, cable front, components

1шт.

3040887R1

CONDUIT, cable L.H., components

1шт.

3067821R1

CLIP, cable, components

3шт.

3067819R1

CLIP, cable, components

1шт.

3070930R1

CLIP

cable, components

4шт.

708113R1

CLIP

cable, components

4шт.

708114R1

CLIP, cable, components

8шт.

708115R1

PLATE ASSY.

CLIP, cable, components

9шт.

708117R1

NO LONGER SERVICED

CLIP, cable, components

2шт.

179793

BOLT,Hex, 1/4" - 20 x 5/8", Gr 5, Full Thd

Components Hex, 1/4"-20 x 5/8", G5, Full Thd

1шт.

120375

NUT,Hex, 1/4" - 20, Gr 5

Components 1/4"-20, G5

1шт.

103319

LOCK WASHER,1/4"

WASHER, LOCK, , w/clip on volt. reg. support plate, components 1/4"

1шт.

88542

BOLT,Hex, 1/4"-20 x 1/2", Gr 5

hex-hd., 1/4" x 1/2", components

4шт.

120375

NUT,Hex, 1/4" - 20, Gr 5

Components 1/4"-20, G5

4шт.

492-11025

LOCK WASHER,1/4"

WASHER, LOCK, (w/Clip on Instrument Shroud), components 1/4"

4шт.

NLS

NO LONGER SERVICED

Components Hex, 3/8"-16 x 1", G5

1шт.

102635

NUT,3/8"-16, G5

Components 3/8"-16, G5

1шт.

103321

LOCK WASHER,3/8"

WASHER, LOCK, , w/Clip on L.H. fender, Components 3/8"

1шт.

112734

GROMMET, (Fenders), components 3/8" ID x 11/16" x .062"

2шт.

Выбрано товаров: 146