Запчасти Case IH 434 (3-06) - PLOUGH LAMP - ELECTRICAL (04) - ELECTRICAL SYSTEMS

Схема запчастей Case IH 434 - (3-06) - PLOUGH LAMP - ELECTRICAL (04) - ELECTRICAL SYSTEMS
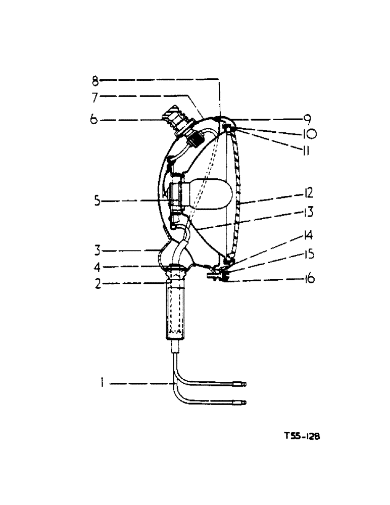
9
11
8
7
3
10
15
5
1
4
6
2
14
13
16
12
FIT
1:1
100%

Артикул

Название

Примечание

Количество

3065329R91

NO LONGER SERVICED

PLOUGH LAMP (Fed-Yellow) optional, comprising: Ref. 1 - 16

1шт.

3064286R91

LIGHT ASSY.

PLOUGH LAMP (I.H. Red) optional, comprising: Ref. 1 - 16

1шт.

1

3064382R1

CABLE, 36 inch

1шт.

2

705812R1

BOLT

1шт.

3

3064398R1

PAD, support

1шт.

4

3064391R1

WASHER, retaining, cable bolt

1шт.

5

3064395R91

LAMP

BULB

1шт.

6

3064402R91

SWITCH

assy., comprising

1шт.

3068112R1

COVER, switch

1шт.

3068113R1

NUT

1шт.

3068114R1

PIECE, insulation

1шт.

7

3064390R91

BODY

assy., comprising

1шт.

705812R1

BOLT

1шт.

3064399R1

CATCH

1шт.

3064398R1

PAD

1шт.

3064400R1

SCREW

1шт.

3064402R91

SWITCH

1шт.

8

702476R1

BEARING CARRIER

RETAINER

5шт.

9

3064389R91

DOOR and REFLECTOR, assy., comprising

1шт.

702474R1

NO LONGER SERVICED

CLIP

1шт.

700447R1

DOOR SEAL

1шт.

702475R1

GASKET

1шт.

705807R1

LENS

1шт.

702476R1

BEARING CARRIER

RETAINER

1шт.

3064387R91

REFLECTOR

TUBE

1шт.

10

702475R1

GASKET

lens reflector

1шт.

11

700447R1

DOOR SEAL

lens door

1шт.

12

705807R1

LENS

flooder

1шт.

13

3064387R91

REFLECTOR

TUBE and REFLECTOR, assy.

1шт.

14

702474R1

NO LONGER SERVICED

CLIP, door

1шт.

15

3064400R1

SCREW

door

1шт.

16

3064399R1

CATCH, door

1шт.

3064394R1

CABLE, switch feed

1шт.

3072570R91

REFLECTOR

CONTACT, assy.

1шт.

Выбрано товаров: 34