Запчасти Case IH 444 (6-77C) - SAFETY FRAME, 444-001/B001573, 444-002/B000825 (09) - CHASSIS

Схема запчастей Case IH 444 - (6-77C) - SAFETY FRAME, 444-001/B001573, 444-002/B000825 (09) - CHASSIS
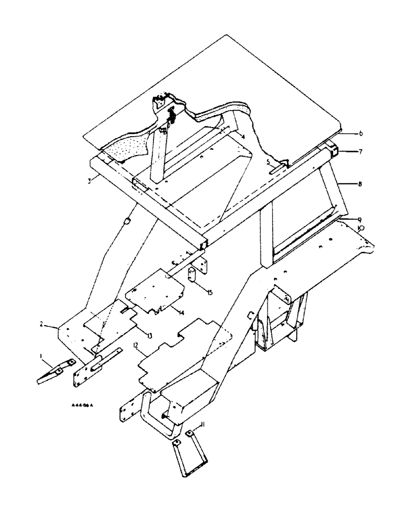
13
14
11
5
2
6
12
15
3
1
8
7
10
9
4
FIT
1:1
100%

Артикул

Название

Примечание

Количество

3113261R91

FRAME

"FRAME, cpte safety" (Order frame 3113261R93 w/De-Luxe Lighting)

1шт.

271558

HOOD,Hex, 5/8" - 11 x 1 1/2", Gr 5

hex hd 5/8 x 1-1/2

8шт.

413-1224

BOLT,Hex, 3/4" - 10 x 1-1/2", Gr 5

hex hd 3/4 x 2-3/4

4шт.

413-1244

BOLT,Hex, 3/4" - 10 x 2-3/4", Gr 5

- hex, 3/4 NC x 2-3/4 inch

1шт.

3070973R1

BOLT

'T' hd 5/8 x 8-1/2

1шт.

102639

NUT,5/8"-11, G5

4шт.

3113260R91

FRAME, assy safety (Order frame 3113261R93)

1шт.

1

3112896R1

STEP

FOOTSTEP ASSY, R.H.

1шт.

180122

BOLT,Hex, 3/8" - 16 x 1", Gr 5

3/8 x 1 hex hd

2шт.

120377

NUT,3/8" - 16, Gr 5

2шт.

120382

LOCK WASHER,Helical Spring, 3/8"

WASHER, LOCK, 3/8"

2шт.

2

3112894R1

FENDER

ASSY, cpte. R.H. (Order FRAME 3113261R92)

1шт.

3

3113256R1

FRAME

ASSY, top front

1шт.

4

3113255R1

FRAME

ASSY, side R.H.

1шт.

180190

LOCK SCREW,Hex, 1/2" - 13 x 3", Gr 5

BOLT, hex hd 1/2 x 3

2шт.

87403

BOLT,Hex, 3/4" - 10 x 2 1/4", Gr 5

2шт.

120378

NUT,Hex, 1/2" - 13, Gr 5

NUT, 1/2"-13, G5

2шт.

280954

NUT,3/4"-10, G5

2шт.

NLS

NO LONGER SERVICED

plain

4шт.

3112947R1

WASHER

packing

2шт.

5

3112490R1

STRIP

SEAL, roof

1шт.

6

3113246R91

ROOF

ASSY (Order 3113575R91 w/two BOLT 180735, two NUT 3067470R1 and two FIBRE WASHER)

1шт.

109084

NUT,1/4"-20, G5

4шт.

453049

SCREW,Slotted Pan Hd, 1/4"-20 x 3/4"

pan hd sltd mach 1/4-20 x 3/4

4шт.

709353R1

SEAL

WASHER, Dowty sealing

4шт.

120392

WASHER,1/4", SAE

5/8 x 9/32 x 16 GA

4шт.

110633

NUT,#10-24

6шт.

110530

SCREW, 10-24 x 3/8 long fill hd sltd mach

6шт.

106497

LOCK WASHER,#10

WASHER, LOCK, #10

6шт.

7

3113257R1

FRAME

ASSY, top rear

1шт.

8

3113252R1

FRAME

ASSY, side L.H.

1шт.

87403

BOLT,Hex, 3/4" - 10 x 2 1/4", Gr 5

2шт.

180190

LOCK SCREW,Hex, 1/2" - 13 x 3", Gr 5

BOLT, hex hd 1/2 x 3

2шт.

120378

NUT,Hex, 1/2" - 13, Gr 5

NUT, 1/2"-13, G5

2шт.

280954

NUT,3/4"-10, G5

2шт.

120396

WASHER

plain

4шт.

3112947R1

WASHER

packing

2шт.

9

3112388R1

SEAL

SEAL, wing piping

2шт.

10

3112893R1

FENDER

ASSY, cpte. L.H. (Order FRAME 3113261R92)

1шт.

11

3112895R1

STEP

FOOTSTEP ASSY, L.H.

1шт.

180122

BOLT,Hex, 3/8" - 16 x 1", Gr 5

hex hd 3/8 x 1

2шт.

120377

NUT,3/8" - 16, Gr 5

2шт.

120382

LOCK WASHER,Helical Spring, 3/8"

WASHER, LOCK, 3/8"

2шт.

12

3112897R1

PLATE

FOOTPLATE, cpte. L.H.

1шт.

180122

BOLT,Hex, 3/8" - 16 x 1", Gr 5

3/8 x 1 hex hd

3шт.

120377

NUT,3/8" - 16, Gr 5

3шт.

120382

LOCK WASHER,Helical Spring, 3/8"

WASHER, LOCK, 3/8"

3шт.

446548

WASHER,0.38" ID x 0.75" OD x 0.05" Thk

3/8 plain

6шт.

13

3112898R1

PLATE

FOOTPLATE, R.H. front

1шт.

19417R1

BOLT

3/8 x 1 sq nk carriage

2шт.

180122

BOLT,Hex, 3/8" - 16 x 1", Gr 5

3/8 x 1 hex hd

2шт.

120377

NUT,3/8" - 16, Gr 5

4шт.

120382

LOCK WASHER,Helical Spring, 3/8"

WASHER, LOCK, 3/8"

4шт.

446548

WASHER,0.38" ID x 0.75" OD x 0.05" Thk

3/8 plain

6шт.

14

3112899R1

PLATE

FOOTPLATE, R.H. cpte. rear

1шт.

413-412

BOLT,Hex, 1/4" - 20 x 3/4", Gr 5

1шт.

180122

BOLT,Hex, 3/8" - 16 x 1", Gr 5

3/8 x 1 hex hd

2шт.

120375

NUT,Hex, 1/4" - 20, Gr 5

1шт.

120377

NUT,3/8" - 16, Gr 5

2шт.

492-11025

LOCK WASHER,1/4"

WASHER, LOCK, 1/4"

1шт.

120382

LOCK WASHER,Helical Spring, 3/8"

WASHER, LOCK, 3/8"

2шт.

446548

WASHER,0.38" ID x 0.75" OD x 0.05" Thk

3/8 plain

4шт.

15

3112968R2

BAR

axle spacer

2шт.

ref

Part No.

English

1шт.

3114165R1

SHIM

BRACKET, cross shaft cpte. (See GOVERNOR CONTROLS)

2шт.

3112888R1

PLUG

blanking

2шт.

192413

DRIVE SCREW,U, Rnd Hd, Metallic, #2 x 1/4"

NO.4. x 1/4 rd hd drive ROD, Handbrake connecting (See HANDBRAKE LINKAGE - CHASSIS)

2шт.

Выбрано товаров: 67