Запчасти Case IH 444 (6-64A) - FUEL FILTER AGGLOMERATOR (03) - FUEL SYSTEM

Схема запчастей Case IH 444 - (6-64A) - FUEL FILTER AGGLOMERATOR (03) - FUEL SYSTEM
8
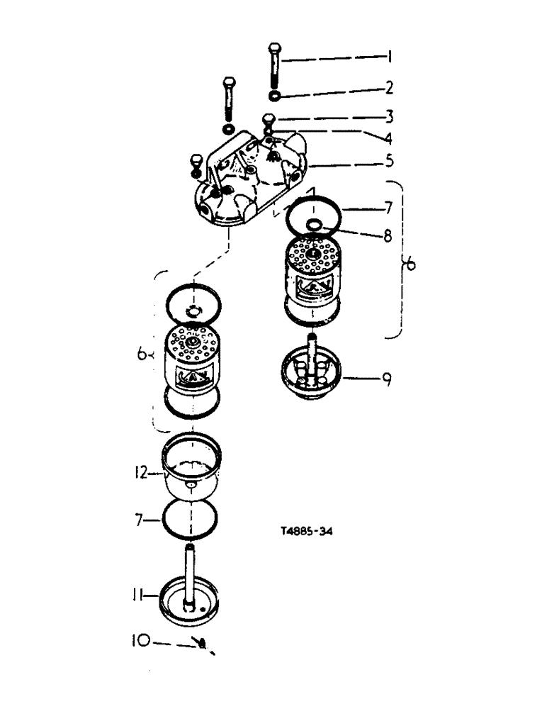
7
11
2
12
1
9
10
7
5
6
4
3
6
FIT
1:1
100%

Артикул

Название

Примечание

Количество

3069608R92

FILTER

AGGLOMERATOR, fuel filter comprising:

1шт.

1

3070771R2

BOLT

centre

2шт.

2

NOT SERVICED

1шт.

3

3070770R1

PLUG

small vent

3шт.

4

3049111R1

SEALING WASHER

vent plug

3шт.

5

3117034R91

HEAD

COVER

1шт.

6

3044506R93

FILTER, FUEL

ELEMENT assy

2шт.

7

3105001R1

SEAL

WASHER, cover and base

4шт.

8

3044505R1

SEAL

RING, element seal

2шт.

9

3117037R91

BASE

filter

1шт.

10

3117038R91

PLUG

SCREW THUMB & WASHER

2шт.

3117039R1

SEALING WASHER

2шт.

11

3117037R91

BASE

assy.

1шт.

12

NOT SERVICED

1шт.

Выбрано товаров: 14