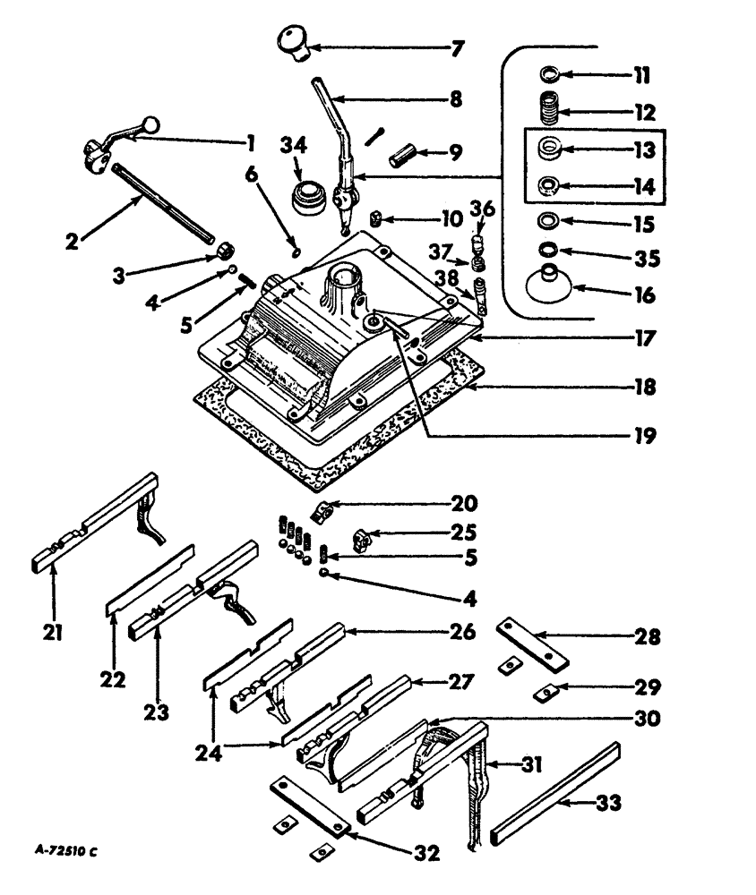
Запчасти Case IH 444 (H-05) - CONTROLS, GEAR SHIFT MECHANISM Controls

Схема запчастей Case IH 444 - (H-05) - CONTROLS, GEAR SHIFT MECHANISM Controls
24
9
3
30
32
21
6
16
22
27
37
35
23
1
13
34
15
33
38
11
2
8
4
20
14
5
17
10
4
31
19
29
7
5
26
36
25
28
12
18
FIT
1:1
100%

Артикул

Название

Примечание

Количество

1

751089R2

HANDLE

shifter, high/low range, tractors without forward and reverse transmission

1шт.

435-1820

GROOVED PIN,1/4" x 1 1/4", Type A

1/4" x 1 1/4", Type A

1шт.

1

3049109R1

HANDLE

shifter, high/low range, tractors with forward and reverse transmission

1шт.

142358

PIN

groove, 1/4" x 1-1/2"

1шт.

2

751088R2

SHAFT

SHAFT shifter, high/low range, tractors without forward and reverse transmission

1шт.

2

3049108R2

SHAFT

shifter, high/low range, tractors with forward and reverse transmission

1шт.

3

751086R91

SEAL ASSY.

oil, shifter shaft, high/low range

1шт.

4

16013R1

BALL

13/32", Replaces: 3072884R1

6шт.

5

3072000R1

SPRING

poppet, gear shifter

5шт.

6

172529

PLUG

expansion, 5/8"

2шт.

7

401467R1

SPARE PART lever, gear shift, Replaces: 401469R1

1шт.

8

704041R92

LEVER

ASSY. gear shifter

1шт.

454331R1

SNAP RING,#87, Ext

1шт.

9

705650R1

SHAFT

SPARE PART lever swivel, gear shifter, large

1шт.

10

217-442

PLUG,3/4" - 14

PLUG pipe, square head, 3/4"

1шт.

11

710953R1

STOP

lever spring, gear shifter

1шт.

12

29547C

SPRING lever, gear shifter

1шт.

13

not used in this application

1шт.

14

not used in this application

1шт.

15

615190R1

WASHER

WASHER, 29/32" x 1-3/8" x 18 gauge

1шт.

16

355889R3

SHIELD

swivel housing, gear shifter

1шт.

17

3044047R4

COVER

transmission case, front

1шт.

413-616

BOLT,Hex, 3/8" - 16 x 1", Gr 5

6шт.

179840

BOLT,Hex, 3/8" - 16 x 1 1/8", Gr 5

1шт.

179841

BOLT,Hex, 3/8" - 16 x 1 1/4", Gr 5

1шт.

103321

LOCK WASHER,3/8"

8шт.

18

703969R1

GASKET

GASKET front cover, transmission case

1шт.

19

34878D

SHAFT

lever swivel, gear shifter, small

1шт.

20

751090R3

CAM

shifter, high/low range

1шт.

455182R1

LOCK PIN,3/16" x 1 1/8", Slotted

3/16" x 1 1/8", Slotted

1шт.

21

751094R43

FORK

ASSY. gear shifter, high speed

1шт.

22

705926R2

GUIDE

rail, L.H., gear shifter

1шт.

23

751100R13

FORK

ASSY. gear shifter, 4th speed

1шт.

24

704038R2

GUIDE

rail, inner, gear shifter

2шт.

25

751851R4

CAM

gear shifter, low speed

1шт.

455182R1

LOCK PIN,3/16" x 1 1/8", Slotted

spring, slotted, 3/16" x 1-1/4"

1шт.

26

751104R93

FORK

ASSY. gear shifter, 2nd and 3rd speed

1шт.

27

751101R23

FORK

ASSY. gear shifter, 1st and reverse speed

1шт.

27

3049380R92

SHIFTER FORK

FORK ASSY. gear shifter, 1st speed, tractors with forward and reverse transmission

1шт.

28

751085R1

BRACKET

fork and guide, gear shifter

1шт.

179837

BOLT,Hex, 3/8" - 16 x 3/4", Gr 5

2шт.

29

59473DA

LOCK

screw, rail guide, gear shifter

4шт.

30

704039R2

GUIDE

rail, R.H., gear shifter

1шт.

31

3040867R33

FORK

ASSY. gear shifter, low speed

1шт.

32

3044010R1

GUIDE

BRACKET fork, gear shifter

1шт.

179837

BOLT,Hex, 3/8" - 16 x 3/4", Gr 5

2шт.

33

not used in this application

1шт.

34

3072134R1

SEAL

shifter column

1шт.

35

375355R1

O-RING,0.869" ID x 0.66" Width

lever sealing, gear shift

1шт.

36

110891H

BREATHER,1/8"-27 NPT, Short, w/washer

VENT ASSY.

1шт.

37

527837R1

SPARE PART reducing, pipe

1шт.

38

527838R1

SPARE PART restrictor

1шт.

3109753R1

SPARE PART poppet, gear shifter, for 4th gear

1шт.

Выбрано товаров: 53