Запчасти Case IH 464 (10-23) - HYDRAULICS, UNLOADING AND FLOW CONTROL VALVE (07) - HYDRAULICS

Схема запчастей Case IH 464 - (10-23) - HYDRAULICS, UNLOADING AND FLOW CONTROL VALVE (07) - HYDRAULICS
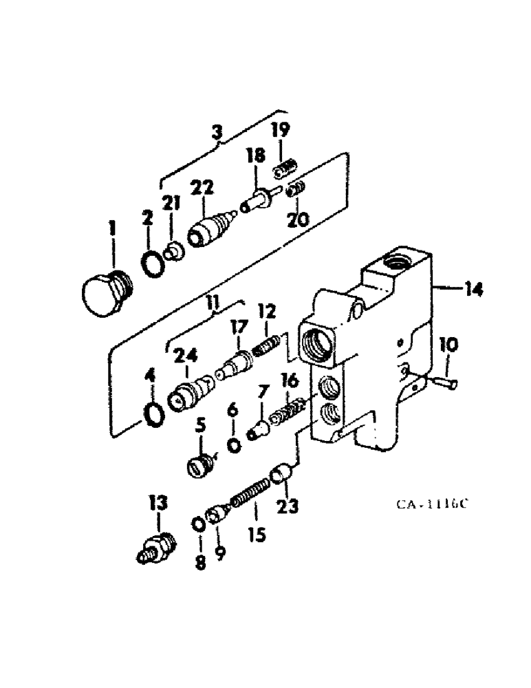
6
4
21
22
15
14
23
18
13
9
5
16
3
11
20
10
1
8
2
17
12
7
19
24
FIT
1:1
100%

Артикул

Название

Примечание

Количество

59098C93

VALVE

ASSY, unloading and flow control

1шт.

1

545494R2

PLUG

unloading valve

1шт.

2

296247R1

O-RING,16-1, 90 Duro, 1.171" ID x .116" Thk

1 in. OD tube

1шт.

3

376762R11

PISTON ASSY.

PISTON ASSY, unloading valve

1шт.

4

238-6212

O-RING,0.139" Thk x 0.859" ID, -212, Cl 6, 90 Duro

13/16 x 1-1/16 x 1/8

1шт.

5

399851R1

PLUG

check valve

1шт.

6

570828R1

O-RING,0.087" Thk x 0.644" ID, -908, Cl 6, 90 Duro

1/2 OD tube

1шт.

7

389587R3

CHECK VALVE

VALVE, check poppet

1шт.

8

570828R1

O-RING,0.087" Thk x 0.644" ID, -908, Cl 6, 90 Duro

1/2 OD tube

1шт.

9

58367C1

GUIDE

spring

1шт.

10

617057R1

PIN,1/4" x 1", Coiled

1шт.

11

530138R1

BODY

ASSY, unloading valve

1шт.

12

530141R1

SPRING

unloading

1шт.

13

9410203

HYD CONNECTOR,3/4"-16, 37 Degree x 3/4"-16, O-Ring

UNION, 3/4-16 znd 37 deg hyd flared tub short swivel

1шт.

14

NSS

NOT SOLD SEPARAT

BODY, unloading valve, not serviced separately, furnish valve assy. 59098C93

1шт.

15

530142R1

SPRING

flow control valve

1шт.

16

535547R1

SPRING

check poppet

1шт.

17

NSS

NOT SOLD SEPARAT

VALVE, not serviced separately, order 530138R1

1шт.

18

NSS

NOT SOLD SEPARAT

ROD, not serviced separately, order 376762R11

1шт.

19

NSS

NOT SOLD SEPARAT

SPRING, inner, not serviced separately, order 376762R11

1шт.

20

NSS

NOT SOLD SEPARAT

SPRING, outer, not serviced separately, order 376762R11

1шт.

21

NSS

NOT SOLD SEPARAT

RETAINER, not serviced separately, order 376762R11

1шт.

22

NSS

NOT SOLD SEPARAT

PISTON, unloading valve, not serviced separately, order 376762R11

1шт.

23

NSS

NOT SOLD SEPARAT

VALVE, flow control, not serviced separately, order 59098C93

1шт.

24

NSS

NOT SOLD SEPARAT

BODY, not serviced separately, order 530138R1

1шт.

Выбрано товаров: 25