Запчасти Case IH 470 (060) - ENGINE COOLING SYSTEM, 470 (188) DIESEL ENGINE (02) - ENGINE

Схема запчастей Case IH 470 - (060) - ENGINE COOLING SYSTEM, 470 (188) DIESEL ENGINE (02) - ENGINE
5
15
3
2
13
3
14
23
18
28
21
1
34
29
45
10
42
11
22
26
20
23
41
35
38
36
44
12
2
27
4
40
7
37
21
8
43
17
46
19
16
9
6
13
FIT
1:1
100%

Артикул

Название

Примечание

Количество

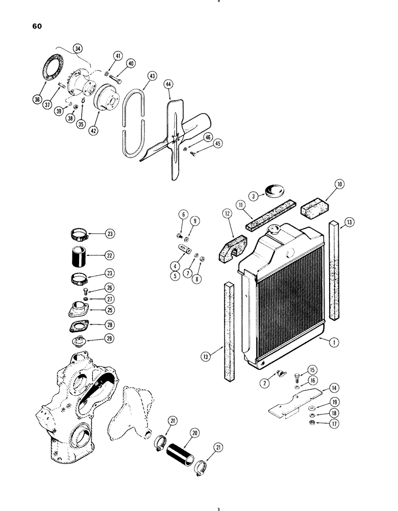
1

G45321

RADIATOR

RADIATOR

1шт.

2

217-103

COCK, DRAIN

COCK - drain, 1/4" P.T.

1шт.

3

G45179

CAP

CAP - radiator

1шт.

4

G10838

SPARE PART BRACE - L.H. radiator to engine (long)

1шт.

5

G11367

BRACE - R.H., radiator to engine (short)

1шт.

6

113-3

BOLT,Hex, 1/4" - 20 x 3/4", Gr 5

BOLT, Hex, 1/4"-20 x 3/4", G5, Full Thd

2шт.

7

192-19

LOCK WASHER,Helical Spring, 0.256" ID, CST, ZND

WASHER, LOCK, 1/4"

2шт.

8

7770

NUT,Hex, 1/4 - 20, Cl 5

NUT, 1/4"-20, G5

2шт.

9

195-518

WASHER,1/4", SAE

WASHER - plain, 9/32 x 5/8 x 5/64"

4шт.

10

G46278

BAFFLE

BAFFLE - L.H. top, radiator

1шт.

11

G46280

BAFFLE

BAFFLE - top center, radiator

1шт.

12

G46279

BAFFLE

BAFFLE - R.H. top, radiator

1шт.

13

G46337

SPARE PART BAFFLE - radiator side

2шт.

14

A35796

SUPPORT

SUPPORT - radiator

1шт.

15

13-816

BOLT,Hex, 1/2" - 13 x 1", Gr 5, Full Thd

BOLT, Hex, 1/2"-13 x 1", G5, Full Thd

2шт.

16

92-8

LOCK WASHER,1/2"

LOCK WASHER, 1/2"

2шт.

17

25-106

NUT,3/8"-16, G5

NUT - radiator stud, 3/8" N.C. hex

2шт.

18

92-6

LOCK WASHER,3/8"

LOCK WASHER, 3/8"

2шт.

19

195-25

WASHER,3/8"

WASHER, 3/8"

2шт.

20

G46269

RADIATOR HOSE,1.75" ID x 2.50", SAE 20R2

Lower

1шт.

21

214-258

HOSE CLAMP,#28, 1.31" - 2.25", Type F Worm

HOSE CLAMP, #28, 1.31/2.25 Type F Worm

2шт.

22

G46157

AIR INTAKE TUBE,2" ID x 2.375" OD x 2" L

Upper, Radiator

1шт.

23

214-260

HOSE CLAMP,#36, 1.81" - 2.75", Type F Worm

HOSE CLAMP, #36, 1.81/2.75 Type F Worm

2шт.

25

G2144

FITTING

CONNECTION - water outlet

1шт.

26

13-616

BOLT,Hex, 3/8" - 16 x 1", Gr 5, Full Thd

BOLT, Hex, 3/8"-16 x 1", G5, Full Thd

2шт.

27

92-6

LOCK WASHER,3/8"

LOCK WASHER, 3/8"

2шт.

28

G46907

GASKET

GASKET -, Serial Range: connection-cover

1шт.

29

A57641

THERMOSTAT

THERMOSTAT - (175 to 182 F)

1шт.

O

1шт.

34

A37758

PUMP

PUMP ASSY. - water (includes ref. 35 & 36)

1шт.

34

A146584GV

WATER PUMP

Value, Water Pump Assy.

1шт.

34

A146584R

REMAN-WATER PUMP

Reman For New P/N A37758, Pump Assy

1шт.

34

A146584C

CORE-WATER PUMP

Return Part Number

1шт.

34

A48363

REMAN-WATER PUMP

Remanufactured WATER PUMP

1шт.

34

A48323

CORE-WATER PUMP

Return Number, WATER PUMP

1шт.

35

A30067

RING

RING - retainer

1шт.

36

A38083

GASKET

GASKET -, Serial Range: pump-cover

1шт.

37

A29433

STUD

STUD - pump to cover (3/8" N.C. x 1")

2шт.

38

25-106

NUT,3/8"-16, G5

NUT - 3/8" N.C. hex

2шт.

39

92-6

LOCK WASHER,3/8"

LOCK WASHER, 3/8"

2шт.

40

13-644

BOLT,Hex, 3/8" - 16 x 2-3/4", Gr 5

BOLT - pump to cover, 3/8 x 2-3/4" N.C. hex

1шт.

41

A22317

WASHER

WASHER - copper, 29/64 x 9/16 x 3/64"

1шт.

42

G11339

PULLEY

PULLEY - drive belt, fan & pump

1шт.

43

A38824

BELT

"V" BELT - fan & alternator drive

1шт.

44

A38823

FAN

FAN - (16" across)

1шт.

45

13-512

BOLT,Hex, 5/16" - 18 x 3/4", Gr 5

BOLT, Hex, 5/16"-18 x 3/4", G5, Full Thd

4шт.

46

92-5

LOCK WASHER,5/16"

LOCK WASHER, 5/16"

4шт.

Выбрано товаров: 47