Запчасти Case IH 474 (08-26A) - REGISTRATION NUMBER PLATE AND LIGHT (06) - ELECTRICAL

Схема запчастей Case IH 474 - (08-26A) - REGISTRATION NUMBER PLATE AND LIGHT (06) - ELECTRICAL
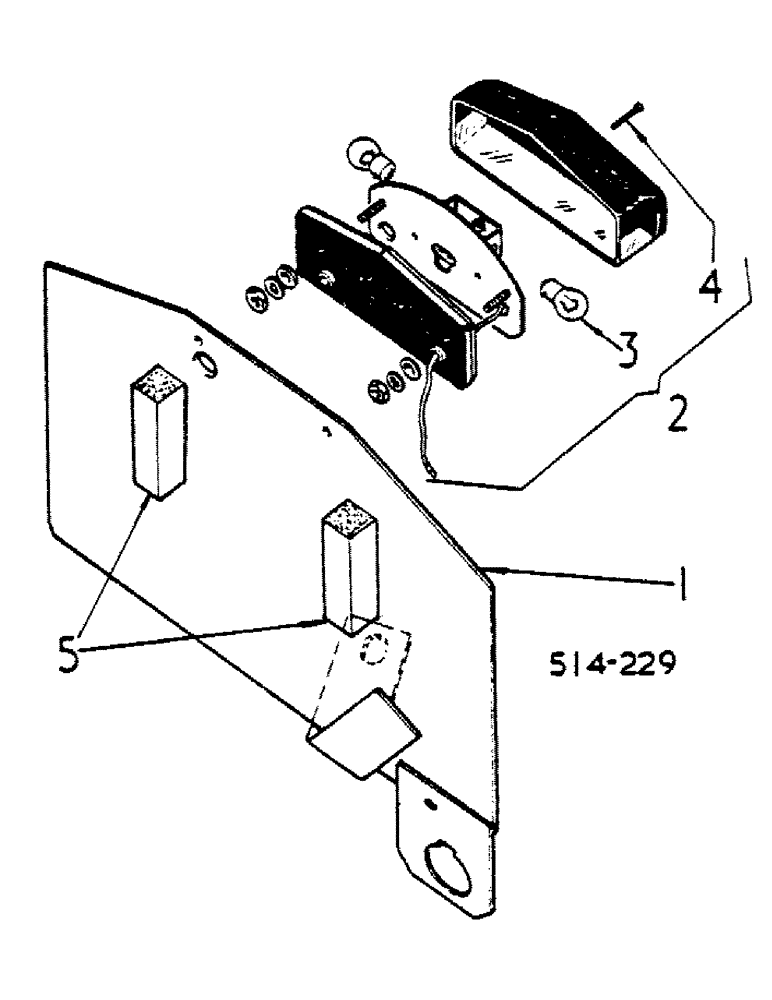
5
3
1
2
4
FIT
1:1
100%

Артикул

Название

Примечание

Количество

1

3113438R91

IDENTITY PLATE

PLATE ASSY, REGISTRATION NUMBER

1шт.

179837

BOLT,Hex, 3/8" - 16 x 3/4", Gr 5

1шт.

115549

LOCK WASHER,Int Tooth, 3/8"

WASHER, LOCK, Int Tooth, 3/8"

1шт.

2

3113443R91

LIGHT ASSY.

LIGHT, REGISTRATION NUMBER PLATE - CONSISTS OF ITEMS 3 AND 4

1шт.

3

705757R91

LAMP

BULB, 12v, 5w, MCC

2шт.

4

3115524R1

SCREW

COVER RETAINING

1шт.

5

3113442R1

BUMPER

REGISTRATION NUMBER PLATE

2шт.

Выбрано товаров: 7