Запчасти Case IH 474 (10-13) - DOUBLE ACTING AUXILIARY VALVE ASSEMBLY (07) - HYDRAULICS

Схема запчастей Case IH 474 - (10-13) - DOUBLE ACTING AUXILIARY VALVE ASSEMBLY (07) - HYDRAULICS
8
7
10
1
11
1
9
3
4
5
6
2
FIT
1:1
100%

Артикул

Название

Примечание

Количество

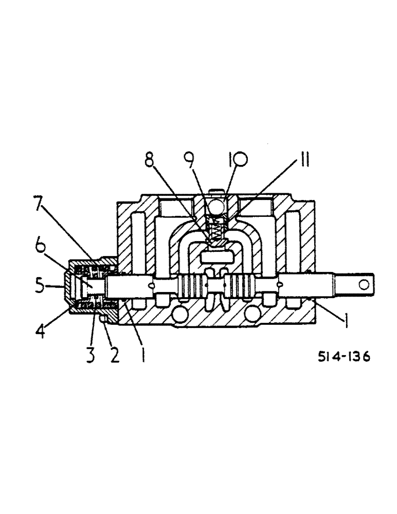
529696R91

HYDRAULIC VALVE

VALVE ASSY, DOUBLE ACTING AUX HYD

1шт.

1

379181R1

O-RING,0.614" ID x 0.07" Width

2шт.

2

3113064R1

SCREW

ASSY

2шт.

3

3113073R1

SPACER

1шт.

4

3113062R1

SEAT

SPRING

2шт.

5

3113059R1

CAP

END

1шт.

6

3113072R1

SCREW

SHOULDER

1шт.

7

3113060R1

SPRING

1шт.

8

3113068R1

VALVE POPPET

VALVE

1шт.

9

3113069R1

SPRING

CHECK VALVE

1шт.

10

3113070R1

GUIDE

CHECK VALVE

1шт.

11

391914R1

O-RING,0.07" Thk x 0.426" ID, -13, Cl 6, 90 Duro

1шт.

Выбрано товаров: 12