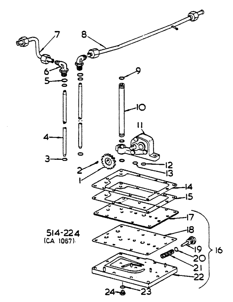
Запчасти Case IH 474 (10-17) - HYDRAULIC PUMP AND CONNECTIONS (07) - HYDRAULICS

Схема запчастей Case IH 474 - (10-17) - HYDRAULIC PUMP AND CONNECTIONS (07) - HYDRAULICS
24
17
21
12
23
3
2
6
13
1
15
18
4
16
5
8
22
14
11
10
19
7
20
9
FIT
1:1
100%

Артикул

Название

Примечание

Количество

USED W/TORQUE AMPLIFIER OR FORWARD AND REVERSE ATTACHMENTS

1шт.

1

527758R1

GEAR

PUMP DRIVEN 19T - TRACTORS W/TORQUE AMPLIFIER

1шт.

1

528076R1

GEAR

PUMP DRIVEN - 14T - TRACTORS W/FORWARD AND REVERSE

1шт.

115548

LOCK WASHER,Int Tooth, 5/16"

WASHER, LOCK, Int Tooth, 5/16"

1шт.

114493

JAM NUT,Jam, 5/16"-24, G5

1шт.

2

427261

KEY

1/8 x 3/8 WOODRUFF

1шт.

3

252739R1

O-RING,0.103" Thk x 0.487" ID, -112, Cl 5, 75 Duro

1/2 x 11/16 x 3/32

4шт.

4

402545R1

PRESSURE PIPE

TUBE, PUMP PRESSURE

2шт.

5

570828R1

O-RING,0.087" Thk x 0.644" ID, -908, Cl 6, 90 Duro

1/2 OD TUBE

2шт.

6

9410977

ELBOW,90 Degree, 3/4"-16, 37 Degree x 3/4"-16, O-Ring

3/4-16 C-Z 37 DEG HYD FLARED TUBE

1шт.

ADJ STR THD 90 DEG

2шт.

7

66117C1

TUBE ASSY.

TUBE ASSY, OIL COOLER RETURN REAR

1шт.

8

66116C1

TUBE,0.5" OD, 13.04, 2.29" Length

ASSY, TORQUE AMPLIFIER AND FWD

1шт.

REVERSE RETURN

1шт.

9

382997R1

O-RING,0.07" Thk x 0.489" ID, -14, Cl 6, 90 Duro

1/2 x 5/8 x 1/16

2шт.

10

402544R1

SUCTION PIPE

TUBE, OIL INLET

1шт.

11

402540R91

PUMP, HYDRAULIC

PUMP ASSY, HYD - TRACTORS W/TORQUE AMPLIFIER

1шт.

11

527757R91

PUMP

ASSY, HYD - TRACTORS W/FORWARD AND REVERSE ATT

1шт.

12

574069R1

O-RING,0.750" ID x .062"

3/4 x 7/8 x 1/16

1шт.

13

128359

O-RING,0.07" Thk x 0.614" ID, -16, Cl 5, 75 Duro

5/8 x 3/4 x 1/16

2шт.

14

402556R1

GASKET

PUMP MOUNTING FLANGE LT

1шт.

179842

SPACER

3/8-16 x 1-3/8 HEX HD CAP

11шт.

103321

LOCK WASHER,3/8"

WASHER, LOCK, 3/8"

11шт.

15

402183R1

RING

GASKET, PUMP MOUNTING FLANGE HV

1шт.

16

402547R92

NO LONGER SERVICED

VALVE ASSY, REGULATOR

1шт.

17

402554R1

PLATE

PUMP

1шт.

18

402555R1

GASKET

PUMP PLATE

1шт.

19

402551R1

PLUG

ASSY

1шт.

95-11028

WASHER,1/4"

SHIM - AS REQUIRED

1шт.

20

570828R1

O-RING,0.087" Thk x 0.644" ID, -908, Cl 6, 90 Duro

1/2 OD TUBE

1шт.

21

402553R1

SPRING

1шт.

22

BODY ASSY - NOT SERVICED ORDER VALVE ASSY

1шт.

23

369751R1

O-RING,0.072" Thk x 0.351" ID, -904, Cl 6, 90 Duro

4-1, 90 Duro, .351" ID x .072" Thk, 1/4 OD tube

1шт.

24

9410356

PLUG

7/16-20 C-Z STR THD O RING BOSS

1шт.

ref

Part No.

English

1шт.

534263R91

SEALING RING

KIT, SEAL PACK, THE FOLLOWING PARTS ARE NOT ILLUSTRATED

1шт.

Выбрано товаров: 36