Запчасти Case IH 474 (09-11) - THREE POSITION DRAWBAR (12) - FRAME

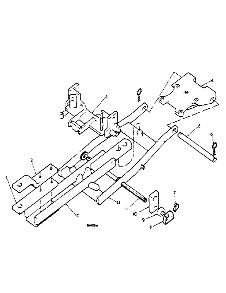
Схема запчастей Case IH 474 - (09-11) - THREE POSITION DRAWBAR (12) - FRAME
9
3
10
13
6
2
1
7
8
12
5
11
4
FIT
1:1
100%

Артикул

Название

Примечание

Количество

ATTACHMENT, THREE POSITION DRAWBAR - FOR TRACTORS NOT EQUIPPED W/ AUTOMATIC HITCH

1шт.

1

3064334R1

ARM

DRAWBAR CLEVIS

1шт.

413-1060

BOLT,Hex, 5/8" - 11 x 3-3/4", Gr 5

SCREW, HEX HD CAP 5/8- 11 x 3-3/4, Course Threads

2шт.

102639

NUT,5/8"-11, G5

2шт.

2

3064333R1

DRAWBAR CLAMP

CLEVIS, DRAWBAR

1шт.

3

533881R1

SUPPORT

ASSY, DRAWBAR

1шт.

413-1024

BOLT,Hex, 5/8" - 11 x 1-1/2", Gr 5

SCREW, HEX HD CAP 5/8-11 x 1-1/2

6шт.

4

533865R1

SUPPORT

ASSY, DRAWBAR PIVOT

1шт.

179886

BOLT,Hex, 1/2" - 13 x 1 5/8", Gr 5

SCREW, HEX HD CAP 1/2-13 x 1-5/8

2шт.

413-840

BOLT,Hex, 1/2" - 13 x 2-1/2", Gr 5

SCREW, HEX HD CAP 1/2-13 x 2-1/2

2шт.

103323

LOCK WASHER,1/2"

WASHER, LOCK, 1/2"

4шт.

5

529541R1

SHAFT

DRAWBAR PIVOT SUPPORT CROSS

1шт.

6

700387R1

CLIP, SPRING

CLIP, DRAWBAR PIVOT CROSS SHAFT

2шт.

7

704212R91

COTTER PIN

PIN ASSY, IMPLEMENT COTTER

2шт.

8

404787R1

SHIELD

LINCH PIN

2шт.

8123

COVER

WASHER, 1-1/32 x 2-1/2 x 16 GA PLAIN

2шт.

9

3111986R1

SPACER

DRAWBAR FRAME SUPPORT

2шт.

10

3111985R1

SUPPORT

BAR, DRAWBAR FRAME SUPPORT

2шт.

11

533908R1

SHAFT

LIFT ROD CROSS

1шт.

12

533884R2

SPARE PART

HOOK ASSY, TRAILER

1шт.

13

533915R1

SPARE PART

HITCH ASSY

1шт.

Выбрано товаров: 21