Запчасти Case IH 474 (06-03) - OIL COOLER, HYDROSTATIC DRIVE TRACTORS Cooling

Схема запчастей Case IH 474 - (06-03) - OIL COOLER, HYDROSTATIC DRIVE TRACTORS Cooling
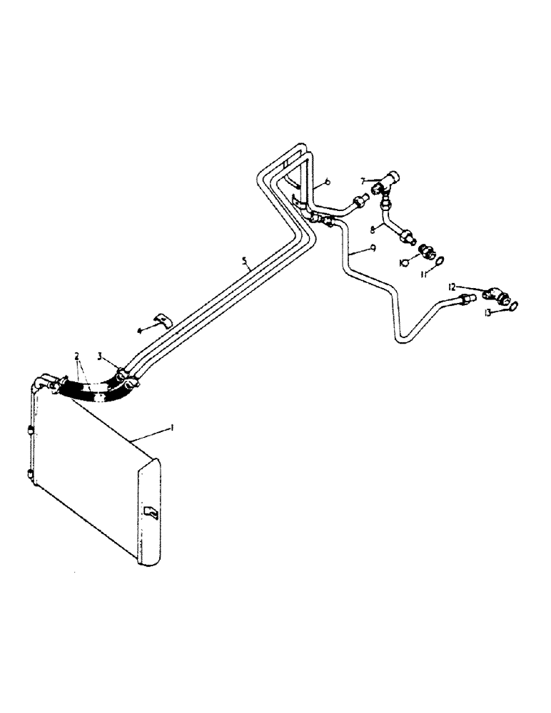
9
1
4
11
10
7
3
12
3
13
8
2
6
FIT
1:1
100%

Артикул

Название

Примечание

Количество

1

406409R1

NO LONGER SERVICED

COOLER, OIL

1шт.

1380S

PIN

5/16 x 1-3/4 STD HD

2шт.

103384

COTTER PIN,1/8" x 3/4"

Pin, Split (Cotter), 1/8" x 3/4"

2шт.

2

533983R1

HYDRAULIC HOSE,0.63" ID x 14.00", Class 1

Oil Cooler 0.63" ID x 14.00", Class 1

2шт.

3

122316R91

HOSE CLAMP,#12, 0.69/1.25 Type F Worm

CLAMP, NO. 12 HOSE - OPTIONAL W/709899R91

4шт.

3

709899R91

CLAMP

OIL COOLER HOSE - OPTIONAL W/122316R91

4шт.

4

529645R1

CLAMP

OIL COOLER TUBE

2шт.

NLS

NO LONGER SERVICED

SCREW, 1/4-20 x 1-5/8 HEX HD CAP

1шт.

179797

BOLT,Hex, 1/4" - 20 x 1", Gr 5

1шт.

109084

NUT,1/4"-20, G5

1шт.

103319

LOCK WASHER,1/4"

WASHER, LOCK, 1/4"

2шт.

5

56554C1

TUBE

ASSY, OIL COOLER OUTLET FWD

1шт.

6

65770C1

TUBE ASSY.,0.625" OD, 42.27, 16" Length

TUBE ASSY, OIL COOLER INLET

1шт.

7

9403139

TEE,7/8"-14, 37º x 1/2"-14, NPTF Fem Run

1/2-14 C-Z HYD 37 DEG FLARED TUBE

1шт.

90 DEG TWO WAY

1шт.

8

65768C1

TUBE ASSY.,0.625" OD, 3.9, 3.6" Length

TUBE ASSY, OIL COOLER INLET - SHORT

1шт.

9

66103C1

PIPE

TUBE ASSY, OIL COOLER OUTLET REAR

1шт.

10

9410204

HYD CONNECTOR,7/8"-14, 37 Degree x 7/8"-14, O-Ring

UNION, 7/8-14 C-Z 37 DEG HYD FLARED

1шт.

TUBE SHORT SWIVEL - TO MULTI VALVE

1шт.

11

364885R1

O-RING,0.097" Thk x 0.755" ID, -910, Cl 6, 90 Duro

5/8 OD TUBE

1шт.

12

9410978

ELBOW,90 Degree, 7/8"-14, 37 Degree x 7/8"-14, O-Ring

7/8-14 C-Z 37 DEG HYD FLARED

1шт.

TUBE ADJ STR THD 90 DEG

1шт.

13

364885R1

O-RING,0.097" Thk x 0.755" ID, -910, Cl 6, 90 Duro

5/8 OD TUBE

1шт.

Выбрано товаров: 23